521PHBR 116 Inch Tall 4 Light Outdoor Post Lamp
Installation Guide
521PHBR 116 Inch Tall 4 Light Outdoor Post Lamp
INSTALLATION INSTRUCTIONS
Model 521PHBR
FOR YOUR SAFETY WARNING: BE SURE THE ELECTRICITY TO THE WIRES YOU ARE WORKING ON IS SHUT OFF; EITHER THE FUSE IS REMOVED OR THE CIRCUIT BREAKER IS SHUT OFF.
GENERAL You don’t need special tools to install this fixture. Be sure to follow the steps in the order given.
Under no circumstances should a fixture be hung on house electrical wires, nor should a swag type fixture be installed on a ceiling which contains a radiant type heating system. Read instructions carefully. If you are unclear as to how to proceed, consult a qualified electrician.
NOTE: Proper wiring is essential for the safe operation of this fixture.
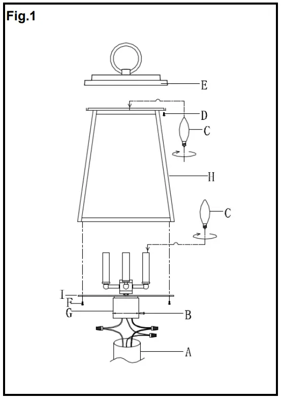
TAKE OFF CAGE (Fig. 1)
- Shut off the power at the circuit breaker and remove the old fixture, including the mounting hardware.
- Carefully unpack your new fixture and lay out all the parts on a clear area. Take care not to lose any small parts necessary for installation.
- Take off the cage (H) from bottom plate(I) by loosen mounting screw (F), then take off roof (E) from cage(H) by loosen mounting screw (D).
INSTALL GLASS (Fig. 2) - Install the glass panel into cage
Step 1: Place EVA Pad on the glass which show as Fig.1
Step 2: Put the glass from bottom cage to top
Step 3: Hold the glass by glass clip
COMPLETING THE INSTALLATION (Fig.1) - Attach the cage (H) to bottom plate (I) by mounting screws(F)
- Install the bulb (E12 Candelabra base, not included.) in accordance with the fixture’s specification.
- Attach the roof (E) to cage (H) by mounting screws(D)
CONNECTINE THE WIRES (Fig.3) - While supporting the fixture, connect the electrical wires as shown in figure 3. If your post has a ground wire (green or bare copper), connect the fixture ground wire to it. If not, consult your electrician for proper grounding. After the wires are connected, tuck them carefully inside the post (G).
- Place the fixture onto pole, and secure with the 3 mounting screws (B)

DO NOT EXCEED THE MAXIMUM
WATTAGE RATING!
Your installation is now complete. Return power to the junction box and test the fixture
Please observe local building/electrical codes regarding the installation of your post fixture. Please keep in mind your geographic location and the depth that the ground freezes to, when deciding the depth of your installation. 

INSTALL GLASS (Fig. 2)
COMPLETING THE INSTALLATION (Fig.1)
CONNECTINE THE WIRES (Fig.3)
















