DYBERG LARSEN DL9016 Easton Wall Lamp

INSTALLATION INSTRUCTIONS

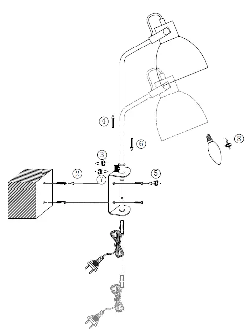
IMPORTANT
- Warning: Always remember to turn off the voltage before working on the electrical installation.
- The lamp might get warm under use.
- To avoid injury on the lamp, please don’t use alkalic detergent. Use a soft cloth and gentle detergent. Always turn the lamp off when cleaning it.
- The omission of cleaning the lamp can have a negative effect on the lifetime. And possibly can lead to a dangerous situation.
Changing the bulb
- Turn off the power at the head fuse.
- Screw the defective bulb loose (see drawing).
- Change the bulb(Please only use the recommended type).
- Turn on the power.
230V~50Hz
Contains: Complete lamp (excl. bulb) IP20 only for indoor use
WARNING
Electrical and electronic equipment (EEE) contains materials, components, and substances that can be hazardous and harmful to human health and the environment when waste of electrical and electronic equipment ( WEEE ) is not disposed of properly. Products marked with ” the crossed-out rubbish bin ” shown below are electrical and electronic equipment. The crossed-out rubbish bin symbolizes that the waste of electrical and electronic equipment may not be disposed of with unsorted household waste but must be collected separately.


















