TRIO 873170207 Wall Lamp

Warning! Before assembling, please read carefully the safety instructions!
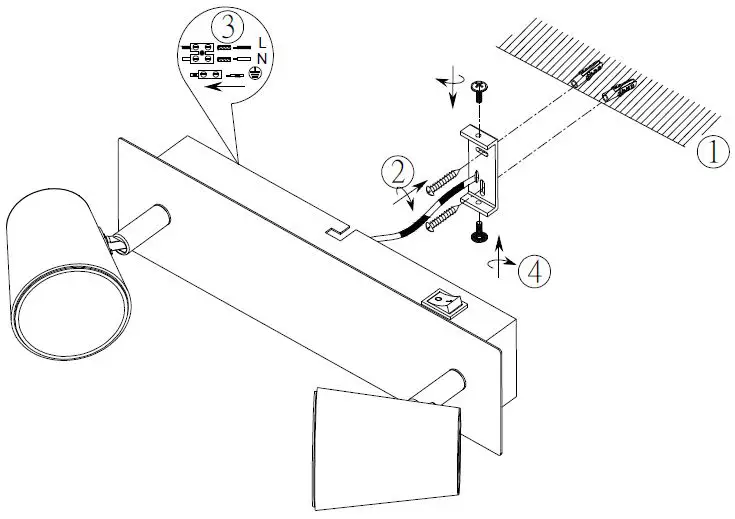
Installation
Art.-Nr.:8731702XX
Specification
- 230V~50Hz
- 2 x LED/6W
This product contains a light source(s) of energy efficiency class(es) F
TRIO Leuchten GmbH | Gut Nierhof 17 | D-59757 Arnsberg | www.trio-lighting.com.




















