QAZQA 105387 Haicha SL Black Brass Industrial Wall Lamp

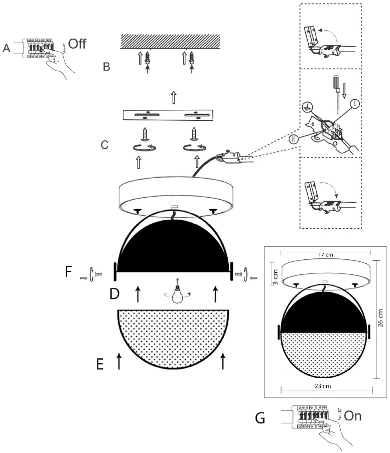
Installation

SAFETY INSTRUCTION
Please study the instruction manual and the below information carefully before installing or using this product.
Please keep this user manual for further reference
- The luminaires may only be installed by authorized and qualified technicians according to the valid regulations for electrical installation.
- Maintenance of the luminaires is limited to their surfaces. During maintenance, no moisture can come into contact with any areas of the terminal connections or voltage control parts.
- The electrical supply must be switched off at the outset, preferably by means of a switch in the distribution box, before any installation, maintenance or repair work is undertaken.
- Exterior lighting must not be installed during rain.
- Take account of the minimal separation distance from other objects and the room required around the fitting.
- If in any doubt, consult a professional, taking local installation requirements into account. Some countries stipulate that lighting may be installed only by registered installers.
- Clamping screws in electrical connections must be adequately tightened. This is particularly the case with 12V low-voltage conductors.
- When replacing a halogen lamp, wait for it to cool, for a minimum of 5 minutes.
- Clean with a clean, dry cloth or brush, use no solvents or abrasives. Avoid dampness on all electrical components
- Take account of all available technical information.
- Take note of the symbols when connecting wires:
- N = Neutral
- L = Live
= Earth
- Meaning of symbols:
![]()
- For indoor use only, where direct contact with water is impossible
- This icon indicates the level of water-proof and dust-proof
- Protection Class I: the fitting must be earthed
- Protection Class I: the fitting is doubled insulated and does not require earthing
- Protection Class III: the fitting is low voltage
- Minimum distance from lighted objects (meters)
- Only the self-shielded halogen lamp should be used with the luminaire
- Strip the wire to the indicated length (mm); different items require different length
- Connect using the specified cable; different items require different cables
- The type of lamp and maximum size and wattage indicated in each lighting unit must not be exceeded; different items require different kinds of light sources with different bulb icons.
- The armature is designed to work only with the indicated voltage. Different items require different working voltages.
- The luminaire can be used in combination with a dimmer
- The reference light angle and light space of the luminaire
- This luminaire cannot be disposed of together with normal domestic waste in standard rubbish can, but you have to bring it to a staging area for electrical waste
FittinQ B.V.
Smaragdweg 52, 5527 LB Hapert, The Netherlands
www.gazqa.nl.




















