HINKLEY 51250 Black Vivi 2 Light 17″ Tall LED Bathroom Sconce Instruction Manual
Mounting Instructions
- Find a clear area in which you can work.
- Unpack fixture and glass from carton.
- Carefully review instructions prior to assembly.
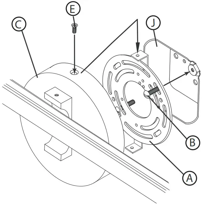
- To begin it will be necessary to remove mounting plate (A) from backplate (C) by removing screws (E) located on the side of the backplate – see Drawing 1.

- To begin installation, first attach mounting bracket (A) to junction box (J) by using two 8-32 screws (B) not provided, or the screws from the previously installed mounting strap or plate. Make sure threaded holes are on the side when installing mounting plate, and plate is plumb by placing a level across the top. Adjust plate and tighten screws to secure mounting plate.
- Next make all wiring connections. Follow instruction sheet (IS-18) provided.
- To begin it will be necessary to remove mounting plate (A) from backplate (C) by removing screws (E) located on the side of the backplate – see Drawing 1.
SAFETY WARNING: READ WIRING AND GROUNDING INSTRUCTIONS (I.S. 18) AND ANY ADDITIONAL DIRECTIONS. TURN POWER SUPPLY OFF DURING INSTALLATION. IF NEW WIRING IS REQUIRED, CONSULT A QUALIFIED ELECTRICIAN OR LOCAL AUTHORITIES FOR CODE REQUIREMENTS.
Make electrical connections from supply wire to fixture lead wires. Refer to instruction sheet (I.S. 18) and follow all instructions to make all necessary wiring connections. Then refer back to this sheet to complete installation of this fixture.
- After all electrical connections are made. Slip backplate (C) over mounting strap (A) and align holes in side of backplate (C) with threaded holes on side of mounting strap (A).
- Thread in screws (E) removed earlier to secure backplate to mounting strap.
- To complete assembly, take the decorative accent glass center piece (D) and slip it over the mounting bracket (M) located on the back plate (C) – see Drawing 2.

- Next align the holes (H) in the glass center piece (D) with the threaded mounting holes (T) in the mounting bracket (M).
- After holes are aligned thread in decorative screw (S), making sure plastic washer (W) is place between screw head and glass.
- The assembly of your bath fixture is complete and power can now be restored.
Assembly Instructions
- Find a clear area in which you can work.
- Unpack fixture and glass fromcarton.
- Carefully review instructions prior to assembly.
PLEASE NOTE: IT IS RECOMMENDED THAT THE GLASS BE INSTALLED IN THE FIXTURE PRIOR TO ATTACHING THE FIXTURE TO THE WALL.
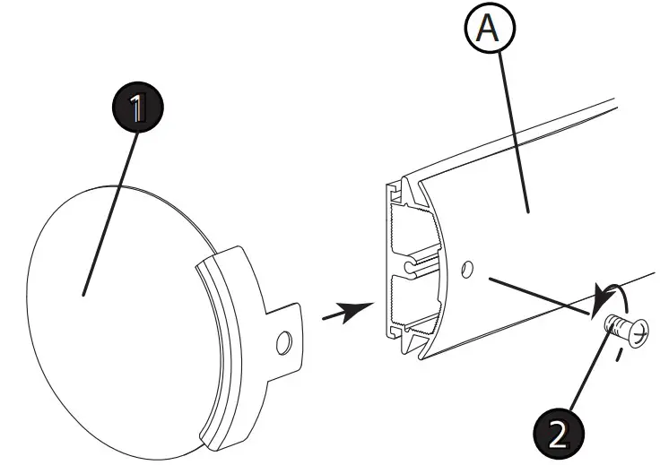
- To begin glass installation it will be necessary to remove one end cap (1) from one end of the crossbar (A) – see Drawing 1.

- This is accomplished by removing screw (2), loacted on the back of the crossbar (A). After removing screw end cap can be slipped off the fixture. Set parts aside in a safe place.
- Now slide glass (3) into the grooves (C) in the cross bar and carefully slide glass into the crossbar until it touches the end cap – see Detail sketch 1
. - Now slip end cap (1) removed earlier onto end of crossbar (A) and align hole in encap tab (T) with threaded hole (H) in back of crossbar (A).
- Then thread screw (2) removed back into place to secure end cap and glass.
- Fixture can now be installed. Please follow mounting instructions supplied.

wiring grounding instructions
SAFETY WARNING: READ WIRING AND GROUNDING INSTRUCTIONS (IS 18) AND ANY ADDITIONAL DIRECTIONS. TURN POWER SUPPLY OFF DURING INSTALLATION. IF NEW WIRING IS REQUIRED, CONSULT A QUALIFIED ELECTRICIAN OR LOCAL AUTHORITIES FOR CODE REQUIREMENTS
wiring instructions
Indoor Fixtures
- Connect positive supply wire (A) (typically black or the smooth, unmarked side of the two-conductor cord) to positive fixture lead (B) with appropriately sized twist on connector – see Drawings 1 or 2.


- Connect negative supply wire (C) (typically white or the ribbed, marked side of the two-conductor cord) to negative fixture lead (D).
- Please refer to the grounding instructions below to complete all electrical connections
Outdoor Fixtures - Connect positive supply wire (A) (typically black or the smooth unmarked side of the two-conductor cord) to positive fixture lead (B) with appropriately sized twist on connector — see Drawings 2 or 3.

- Connect negative supply wire (C) (typically white or the ribbed, marked side of the two-conductor cord) to negative fixture lead (D).
- Cover open end of connectors with silicone sealant to form a watertight seal. ˜ If installing a wall mount fixture, use caulk to seal gaps between the fixture mounting plate (backplate) and the wall. This will help prevent water from entering the outlet box. If the wall surface is lap siding, use caulk and a fixture mounting platform specially.
- Please refer to the grounding instructions below to complete all electrical connections.
grounding instructions
Flush Mount Fixtures For positive grounding in a 3-wire electrical system, fasten the fixture ground wire (E) (typically copper or green plastic coated) to the fixture mounting strap (M) with the ground screw (S) – see Drawing 1.
Note: On straps for screw supported fixtures, first install the two mounting screws in strap. Any remaining tapped hole may be used for the ground screw.
Chain Hung Fixtures
Loop fixture ground wire (E) (typically copper or green plastic coated) under the head of the ground screw (S) on fixture mounting strap (M) and connect to the loose end of the fixture ground wire directly to the ground wire of the building system with appropriately sized twist-on connectors – see Drawing 2.
Post-Mount Fixtures
Connect fixture ground wire (E) (typically copper or green plastic coated) to power supply ground with appropriately sized twist-on connector inside post. Cover open end of connector with silicone sealant to form a watertight seal – see Drawing 3.
H I N K L E Y 33000 Pin Oak Parkwa y, Avon Lake, OH 44012 800.446.5539 / 440.653.5500 hinkleylighting.co m



.

















