HINKLEY 54300BK Saylor Black LED 17 Bathroom Light Sconce
BEFOER GETTING STARTED
- Find a clear area in which you can work.
- Unpack fixture and glass from carton.
- Carefully review instructions prior to assembly.
MOUNTING

- To begin installation of your fixture it will be first be first necessary to remove the mounting plate (A) from the backplate (B). This is accomplished by first removing the two screws (C), located at the top and bottom of the backplate. Set screws in a safe place for later.
- Next attach mounting plate (A) to junction box (J) with two screws (D), NOT PROVIDED.
NOTE: make sure when installing mounting plate (A) that one of the tabs (T) is facing toward the ceiling and level, before tightening screws (D) – see Drawing 1. - Make all necessary electrical connections following instruction sheet IS-18 provided.
SAFETY WARNING: READ WIRING AND GROUNDING INSTRUC-TIONS (I.S. 18) AND ANY ADDITIONAL DIRECTIONS. TURN POWER SUPPLY OFF DURING INSTALLATION. IF NEW WIRING IS REQUIRED, CONSULT A QUALIFIED ELECTRICIAN OR LOCAL AUTHORITIES FOR CODE REQUIREMENTS. - After all connections are made, tuck wires into junction box (J) and slip backplate (B) over mounting tabs (T) and align threaded holes in tab (T) with holes (H) in backplate (B).
- Thread in screws (C) removed earlier, and tighten to secure fixture to wall.
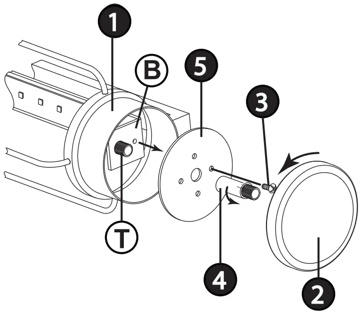
GLASS INSTALLATION


- To begin remove the end cap (2) from the main body of the fixture (1). Please note: only one end cap is removable, the other is secured to the fixture and will not turn. DO NOT force this end cap loose – see Drawing 1.
- Next thread out screw (3) and set aside for use later.
- Next thread spacer (4) off of threaded tube (T). If threaded tube (T) comes out when removing spacer (4) unthread tube (T) from spacer and thread back into LED bracket (B). This will make re-assembly easier later on.
- Next remove plate (5).
- Now take glass cylinder (G) and slide it into the main body (1), see Drawing – 2. Take care not to scrape or damage the LED board (L) when installing. Now follow stem 1-4 above in reverse order to complete glass installation.

















