LUCIDE 0 420 9 Madelon Bathroom Wall Light

INSTALLATION MANUAL
Thank you for purchasing a Lucide original! This manual will hopefully guide you easily through the installation process. We aim to inspire and illuminate our clients by offering trendy, high-quality and affordable lighting. Welcome to the community of #illuminatesyourworld
General
- Dimensions LxWxH: 95cm x 5cm x 10 cm Main material: Glass
- Ceiling rose material: Acrylic
- Color: Black and Opal
- Style: Modern
- Shape: Oval
- Weight: 2,10 kg
Specifications
- Dimmable: No
- Light direction: Around (Diffuse)
- Adjustable in height: Not In Height Adjustable Directional: Not Directional
- Cable: No Cable On Product
- Sensor: W ithout Sensor
- Control: Light Switch Control
- Power supply: Adapter/ Power Grid
- IP-Class: 44
- Electric Class: 2
- Number of light sources: 1
- Lamp socket: Integrated LED
- Maximum wattage: 18W
- Power requirements: 220 -240 V~50 Hz Lumen: 660 Lm
- Colour temperature: 270 0 K
- Expected lifetime: 30 0 0 0 h
- W arranty: 3 Years
Dimensions

Installation of items in bathroom:

For more specifications or dimensions of this product please visit www.lucide.com
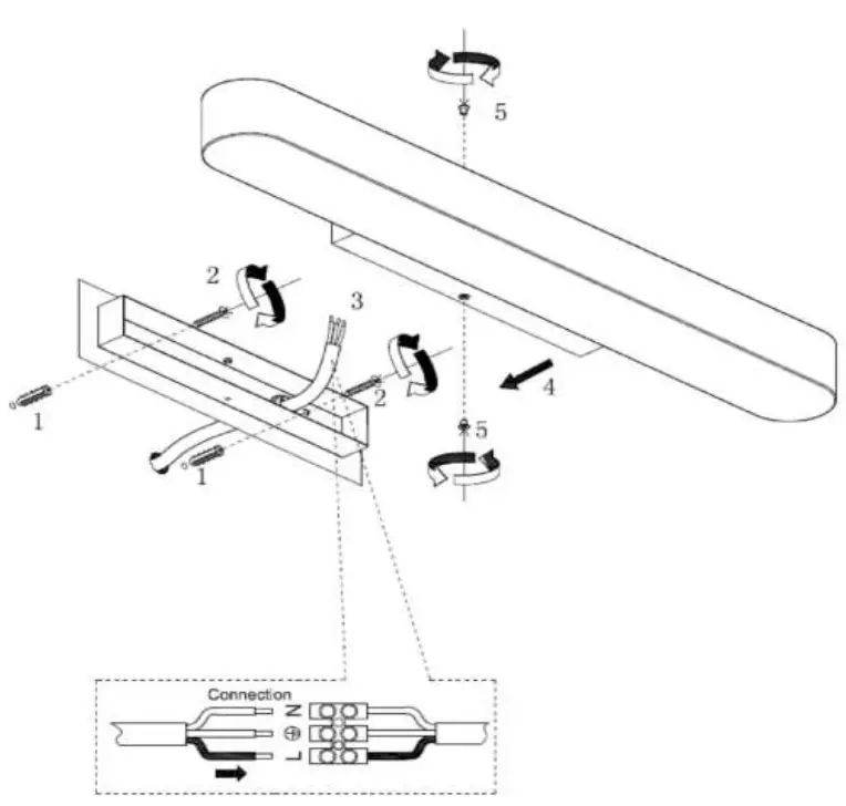
FITTING WIRE COLORS

Safety Instructions for bathroom items
Please read this notice carefully and keep it during the lifetime of this product. Follow the instructions for a safe and correct installation and functioning of the light fixture. The manufacturer does not accept any responsibility for damage caused by improper installation and service. Installation should always be done by a qualified electrician. Always isolate the power before commencing installation, maintenance or repair. In case of doubts, please contact a qualified electrician. Please pay attention to locations where the item can be installed (indoor, outdoor, bathroom (for outdoor and bathroom installation, please see further). Indoor items cannot be used in humid places. Do not put the item in contact with water or any liquids or inflammable products. Always respect the minimal distance (indicated on the light) to inflammable products. During installation, make sure that the cables will not be squeezed or damaged by sharp edges. If the external flexible cable is damaged, it needs to be replaced exclusively by the manufacturer, his service agent, or a qualified electrician. This is to avoid all risks. Because the temperature of the item and the bulbs can get very high, they must cool down before being touched. Always use the correct bulb (respect type and maximal wattage as indicated on the product).
Explanation of the symbols which can appear on the fixture
- This item is only suitable for indoor use, exclusive bathroom. (except if a higher IP degree permits that the item can be used in the bathroom).
- Legislation requires that all electrical and electronic equipment must be collected for reuse and recycling. Electrical and electronic equipment marked with this symbol indicating separate collection of such equipment must be returned to a municipal waste collection point.
- Class I: The item has an earth connection. The earth wire (green-yellow) needs to be connected to the earth connection (marked with this symbol).
- Class II: The item is double insulated and must not be connected to the earth wire.
- Class III: The item is only suitable for lower voltage supply and must not be connected to the earth wire.
- IP 21 : protection against dripping water
- IP 44 : Splashproof
- IP 54 : Dust protected and splashproof
- IP 65 : Dust-tight and protected against water jets
- If the protection glass is damaged or broken, it needs to be replaced immediately.
- Please respect the minimum distance from the bulb to inflammable objects.
Warranty declaration:
Lucide NV warrants that the products supplied will be free from defects in material and workmanship for a period of 3 years from the date of purchase by the end user, if the item is installed and maintained properly as mentioned in the user manual.
Exclusions for the warranty:
- Broken glass parts of the fixture will only be replaced within 14 days after purchasing by the end user.
- Normal wear and tear, discoloring as a result from normal use.
- Damage caused by external causes like fire, water, wrong use/ installation or maintenance of the product. For warranty claims the customer needs to hand over defective fixture/part and the original purchase ticket.


















