KUZCO WS16705 LED Wall Sconce

START FROM HERE
- Make sure power is completely off at the fuse box.
- Have your fixture installed by a qualified licensed electrician
- Prepare everything in a clear area.
- Wear gloves at all times during this installation.
- Read instructions carefully before you start assembly.
- Keep this instruction sheet for future reference
Please Note:
- This Kuzco LED fixture comes with pre-wired LED module(s)
- Unless instructed, Do Not touch any part of the LED module(s) as any unnecessary contact with the module could cause permanent damage
- For dimming, an ELV (Electronic Low Voltage) type of dimmer is required
- 120V input
Installation instruction
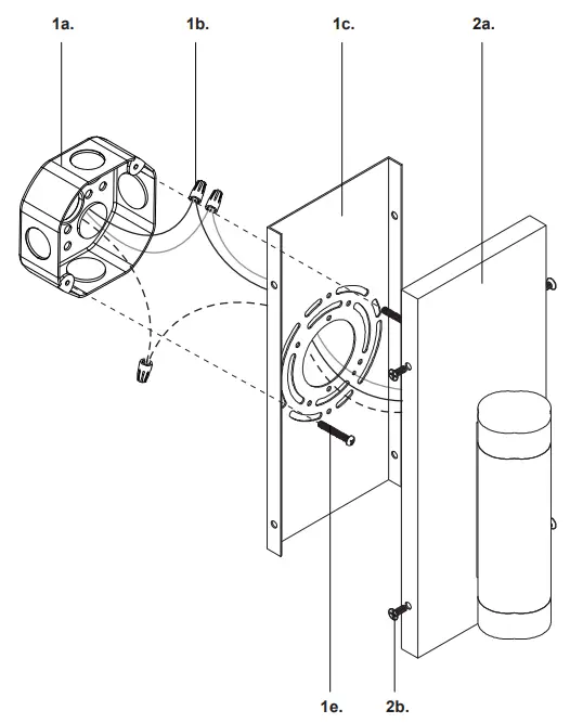
- Remove fixture from its original package
- Separate mounting plate (1c) from fixture (2a) by removing fixture screws (2b)
- Attach mounting plate (1c) to electrical junction box (1a) using junction box screws provided (1e) in hardware package
- Make proper electrical connections (black to hot “L”, white to neutral “N”, ground to “GND”) with wire nuts (1b) provided in hardware package
- Attach fixture (2a) to mounting plate (1c) with fixture screws (2b)

19054 28th Avenue Surrey, BC Canada V3Z 6M3
T: 604 538 7162
TF: 1-855 85 KUZCO
F: 604 538 7196
W: kuzcolighting.com



















