makita DF332D 12Vmax CXT Brushless Drill Driver Instruction Manual
SPECIFICATIONS
| Model: | DF332D | DF032D | |||
| Drilling capacities | Steel | 10 mm | |||
| Wood | 28 mm | ||||
| Fastening capacities | Wood screw | 5.1 mm x 63 mm | |||
| Machine screw | M6 | ||||
| No load speed | High (2) | 0 – 1,500 min-1 | |||
| Low (1) | 0 – 450 min-1 | ||||
| Overall length | 154 mm | 124 mm | |||
| Rated voltage | D.C. 10.8 V – 12 V max | ||||
| Battery cartridge | BL1015, | BL1040B, | BL1015, | BL1040B, | |
| BL1016, | BL1041B | BL1016, | BL1041B | ||
| BL1020B, | BL1020B, | ||||
| BL1021B | BL1021B | ||||
| Net weight | 1.0 kg | 1.2 kg | 0.88 kg | 1.0 kg | |
- Due to our continuing program of research and development, the specifications herein are subject to change without notice.
- Specifications and battery cartridge may differ from country to country.
- Weight, with battery cartridge, according to EPTA-Procedure 01/2003
Intended use
The tool is intended for drilling and screw driving in wood, metal and plastic.
Noise
The typical A-weighted noise level determined according to EN60745:
Model DF332D
Sound pressure level (LpA) : 72 dB(A) Uncertainty (K) : 3 dB(A)
The noise level under working may exceed 80 dB (A).
Model DF032D
Sound pressure level (LpA) : 71 dB(A) Uncertainty (K) : 3 dB(A)
The noise level under working may exceed 80 dB (A)
WARNING: Wear ear protection.
Vibration
The vibration total value (tri-axial vector sum) determined according to EN60745:
Model DF332D
Work mode: drilling into metal Vibration emission (ah,D) : 2.5 m/s2 or less Uncertainty (K) : 1.5 m/s2
Model DF032D Work mode: drilling into metal Vibration emission (ah,D) : 2.5 m/s2 or less Uncertainty (K) : 1.5 m/s
NOTE: The declared vibration emission value has been measured in accordance with the standard test method and may be used for comparing one tool with another.
NOTE: The declared vibration emission value may also be used in a preliminary assessment of exposure.
WARNING: The vibration emission during actual use of the power tool can differ from the declared emission value depending on the ways in which the tool is used.
WARNING: Be sure to identify safety measures to protect the operator that are based on an estimation of exposure in the actual conditions of use (taking account of all parts of the operating cycle such as the times when the tool is switched off and when it is running idle in addition to the trigger time).
EC Declaration of Conformity
For European countries only
Makita declares that the following Machine(s): Designation of Machine: Cordless Driver Drill Model No./ Type: DF332D, DF032D Conforms to the following European Directives: 2006/42/EC
They are manufactured in accordance with the following standard or standardized documents: EN60745 The technical file in accordance with 2006/42/EC is available from:
Makita, Jan-Baptist Vinkstraat 2, 3070, Belgium 11.6.2015
Yasushi Fukaya
Director
Makita, Jan-Baptist Vinkstraat 2, 3070, Belgium
General power tool safety warnings
WARNING: Read all safety warnings and all instructions. Failure to follow the warnings and instructions may result in electric shock, fire and/or serious injury
Save all warnings and instructions for future reference.
The term “power tool” in the warnings refers to your mains-operated (corded) power tool or battery-operated (cordless) power tool.
Cordless driver drill safety warnings
- Use auxiliary handle(s), if supplied with the tool. Loss of control can cause personal injury.
- Hold the power tool by insulated gripping surfaces, when performing an operation where the cutting accessory may contact hidden wiring. Cutting accessory contacting a “live” wire may make exposed metal parts of the power tool “live” and could give the operator an electric shock.
- Hold power tool by insulated gripping surfaces, when performing an operation where the fastener may contact hidden wiring. Fasteners contacting a “live” wire may make exposed metal parts of the power tool “live” and could give the operator an electric shock.
- Always be sure you have a firm footing. Be sure no one is below when using the tool in high locations.
- Hold the tool firmly.
- Keep hands away from rotating parts.
- Do not leave the tool running. Operate the tool only when hand-held.
- Do not touch the drill bit or the workpiece immediately after operation; they may be extremely hot and could burn your skin.
- Some material contains chemicals which may be toxic. Take caution to prevent dust inhalation and skin contact. Follow material supplier safety data.
- If the drill bit cannot be loosened even you open the jaws, use pliers to pull it out. In such a case, pulling out the drill bit by hand may result in injury by its sharp edge
SAVE THESE INSTRUCTIONS.
WARNING: DO NOT let comfort or familiarity with product (gained from repeated use) replace strict adherence to safety rules for the subject product. MISUSE or failure to follow the safety rules stated in this instruction manual may cause serious personal injury.
Important safety instructions for battery cartridge
- Before using battery cartridge, read all instructions and cautionary markings on (1) battery charger, (2) battery, and (3) product using battery.
- Do not disassemble battery cartridge.
- If operating time has become excessively shorter, stop operating immediately. It may result in a risk of overheating, possible burns and even an explosion.
- If electrolyte gets into your eyes, rinse them out with clear water and seek medical attention right away. It may result in loss of your eyesight.
- Do not short the battery cartridge:
- Do not touch the terminals with any conductive material.
- Avoid storing battery cartridge in a container with other metal objects such as nails, coins, etc.
- Do not expose battery cartridge to water or rain.
A battery short can cause a large current flow, overheating, possible burns and even a breakdown
- 6. Do not store the tool and battery cartridge in
locations where the temperature may reach or
exceed 50 °C (122 °F). - Do not incinerate the battery cartridge even if it is severely damaged or is completely worn out. The battery cartridge can explode in a fire.
- Be careful not to drop or strike battery.
- Do not use a damaged battery.
- The contained lithium-ion batteries are subject to the Dangerous Goods Legislation requirements. For commercial transports e.g. by third parties, forwarding agents, special requirement on packaging and labeling must be observed. For preparation of the item being shipped, consulting an expert for hazardous material is required. Please also observe possibly more detailed national regulations. Tape or mask off open contacts and pack up the battery in such a manner that it cannot move around in the packaging.
- Follow your local regulations relating to disposal of battery.
- Use the batteries only with the products specified by Makita. Installing the batteries to non-compliant products may result in a fire, excessive heat, explosion, or leak of electrolyte.
SAVE THESE INSTRUCTIONS.
CAUTION: Only use genuine Makita batteries. Use of non-genuine Makita batteries, or batteries that have been altered, may result in the battery bursting causing fires, personal injury and damage. It will also void the Makita warranty for the Makita tool and charger.\
Tips for maintaining maximum battery life
- Charge the battery cartridge before completely discharged. Always stop tool operation and charge the battery cartridge when you notice less tool power.
- Never recharge a fully charged battery cartridge. Overcharging shortens the battery service life.
- Charge the battery cartridge with room temperature at 10 °C – 40 °C (50 °F – 104 °F). Let a hot battery cartridge cool down before charging it.
FUNCTIONAL DESCRIPTION
CAUTION: Always be sure that the tool is switched off and the battery cartridge is removed before adjusting or checking function on the tool.
Installing or removing battery cartridge
CAUTION: Always switch off the tool before installing or removing of the battery cartridge.
CAUTION: Hold the tool and the battery cartridge firmly when installing or removing battery
cartridge. Failure to hold the tool and the battery cartridge firmly may cause them to slip off your hands and result in damage to the tool and battery cartridge and a personal injury.
Fig.1: 1. Red indicator 2. Button 3. Battery cartridge
To remove the battery cartridge, slide it from the tool while sliding the button on the front of the cartridge. To install the battery cartridge, align the tongue on the battery cartridge with the groove in the housing and slip it into place. Insert it all the way until it locks in place with a little click. If you can see the red indicator on the upper side of the button, it is not locked completely.
CAUTION: Always install the battery cartridge fully until the red indicator cannot be seen. If not, it may accidentally fall out of the tool, causing injury to you or someone around you.
CAUTION: Do not install the battery cartridge forcibly. If the cartridge does not slide in easily, it is not being inserted correctly.
Battery protection system
The tool is equipped with a battery protection system. This system automatically cuts off power to the motor to extend battery life. The tool will automatically stop during operation if the tool and/or battery are placed under one of the following conditions:
Overloaded:
The tool is operated in a manner that causes it to draw an abnormally high current. In this situation, turn the tool off and stop the application that caused the tool to become overloaded. Then turn the tool on to restart. If the tool does not start, the battery is overheated. In this situation, let the battery cool before turning the tool on again.
Low battery voltage:
The remaining battery capacity is too low and the tool will not operate. If you turn the tool on, the motor runs again but stops soon. In this situation, remove and recharge the battery
Indicating the remaining battery capacity
Only for battery cartridges with the indicator
Fig.2: 1. Indicator lamps 2. Check button
Press the check button on the battery cartridge to indicate the remaining battery capacity. The indicator lamps light up for a few seconds.
| indicator lamps | Remaining capacity | |
Lighted | Off | |
![]() | 75% to 100% | |
![]() | 50% to 75% | |
![]() | 25% to 50% | |
![]() | 0% to 25% | |
NOTE: Depending on the conditions of use and the ambient temperature, the indication may differ slightly from the actual capacity
Switch action
Fig.3: 1. Switch trigger
CAUTION: Before installing the battery cartridge into the tool, always check to see that the switch trigger actuates properly and returns to the “OFF” position when released.
To start the tool, simply pull the switch trigger. Tool speed is increased by increasing pressure on the switch trigger. Release the switch trigger to stop.
NOTE: The tool automatically stops if you keep pulling the switch trigger for about 6 minutes.
Lighting up the front lamp
Fig.4: 1. Lamp
CAUTION: Do not look in the light or see the source of light directly Pull the switch trigger to light up the lamp. The lamp keeps on lighting while the switch trigger is being pulled. The lamp goes out approximately 10 seconds after releasing the switch trigger.
NOTE: Use a dry cloth to wipe the dirt off the lens of the lamp. Be careful not to scratch the lens of lamp, or it may lower the illumination.
NOTE: When the tool is overheated, the light flashes for one minute, and then the LED display goes off. In this case, cool down the tool before operating again.
Reversing switch action
Fig.5: 1. Reversing switch lever
CAUTION: Always check the direction of rotation before operation.
CAUTION: Use the reversing switch only after the tool comes to a complete stop. Changing the direction of rotation before the tool stops may damage the tool.
CAUTION: When not operating the tool, always set the reversing switch lever to the neutral position.
This tool has a reversing switch to change the direction of rotation. Depress the reversing switch lever from the A side for clockwise rotation or from the B side for counterclockwise rotation. When the reversing switch lever is in the neutral position, the switch trigger cannot be pulled.
Speed change
Fig.6: 1. Speed change lever
CAUTION: Always set the speed change lever fully to the correct position. If you operate the tool with the speed change lever positioned halfway between the “1” side and “2” side, the tool may be damaged.
CAUTION: Do not use the speed change lever while the tool is running. The tool may be damaged
| Position of speed change lever | Speed | Torque | Applicable operation |
| 1 | Low | High | Heavy load- ing operation |
| 2 | High | Low | Light loading operation |
To change the speed, switch off the tool first. Select the “2” side for high speed or “1” for low speed but high torque. Be sure that the speed change lever is set to the correct position before operation.
If the tool speed is coming down extremely during the operation with “2”, slide the lever to the “1” and restart the operation.
Adjusting the fastening torque
Fig.7: 1. Adjusting ring 2. Graduation 3. Arrow
The fastening torque can be adjusted in 21 levels by turning the adjusting ring. Align the graduations with the arrow
on the tool body. You can get the minimum fastening torque at 1 and maximum torque at marking.
The clutch will slip at various torque levels when set at the number 1 to 20. The clutch does not work at the
marking.
Before actual operation, drive a trial screw into your material or a piece of duplicate material to determine which torque level is required for a particular application.
The following shows the rough guide of the relationship between the screw size and graduation
| Graduation | 1 | 2 | 3 | 4 | 5 | 6 | 7 | 8 | 9 | 10 | 11 | 12 | 13 | 14 | 15 | 16 | 17 | 18 | 19 | 20 | |
| Machine screw | M4 | M5 | M6 | ||||||||||||||||||
| Wood screw | Soft wood (e.g. pine) | – | ɸ3.5 x 22 | ɸ4.1x 38 | – | ||||||||||||||||
| Hard wood (e.g. lauan) | – | ɸ3.5 x 22 | ɸ4.1x 38 | – | |||||||||||||||||
ASSEMBLY
CAUTION: Always be sure that the tool is switched off and the battery cartridge is removed before carrying out any work on the tool.
Installing or removing driver bit/ drill bit
For Model DF332D (optional accessory)
Fig.8: 1. Sleeve 2. Close 3. Open
Turn the sleeve counterclockwise to open the chuck jaws. Place the driver bit/drill bit in the chuck as far as it will go. Turn the sleeve clockwise to tighten the chuck. To remove the driver bit/drill bit, turn the sleeve counterclockwise.
Installing or removing driver bit/ socket bit
For Model DF032D (optional accessory)
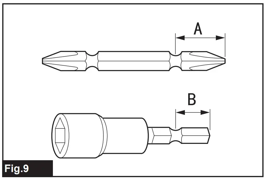
Fig.9
Use only driver bit/socket bit that has inserting portion shown in the figure. Do not use any other driver bit/ socket bit.
For tool with shallow driver bit hole
| A=12mm B=9mm | Use only these type of driverbit. Follow the procedure1. (Note) Bit-piece is not necessary. |
For tool with deep driver bit hole
| A=17mm B=14mm | To install these types of driver bits, follow the procedure 1. |
| A=12mm B=9mm | To install these types of driver bits, follow the procedure 2. (Note) Bit piece is necessary for installing the bit. |
- To install the driver bit, pull the sleeve in the direction of the arrow and insert the driver bit into the sleeve as far as it will go.
Then release the sleeve to secure the driver bit
Fig.10: 1. Driver bit 2. Sleeve
- To install the driver bit, pull the sleeve in the direction of the arrow and insert the bit-piece and driver bit into the sleeve as far as it will go. The bit-piece should be inserted into the sleeve with its pointed end facing in. Then release the sleeve to secure the driver bit.
Fig.11: 1. Driver bit 2. Bit-piece 3. Sleeve
To remove the driver bit, pull the sleeve in the direction of the arrow and pull the driver bit out
NOTE: If the driver bit is not inserted deep enough into the sleeve, the sleeve will not return to its original position and the driver bit will not be secured. In this case, try re-inserting the bit according to the instructions above.
NOTE: After inserting the driver bit, make sure that it is firmly secured. If it comes out, do not use it.
Installing hook
Fig.12: 1. Groove 2. Hook 3. Screw
The hook is convenient for temporarily hanging the tool. This can be installed on either side of the tool. To install the hook, insert it into a groove in the tool housing on either side and then secure it with a screw. To remove, loosen the screw and then take it out.
Installing driver bit holder
Optional accessory
Fig.13: 1. Driver bit holder 2. Driver bit
Fit the driver bit holder into the protrusion at the tool foot on either right or left side and secure it with a screw. When not using the driver bit, keep it in the driver bit holders. Driver bits 45 mm-long can be kept there.
OPERATION
CAUTION: Always insert the battery cartridge all the way until it locks in place. If you can see the red indicator on the upper side of the button, it is not locked completely. Insert it fully until the red indicator cannot be seen. If not, it may accidentally fall out of the tool, causing injury to you or someone around you.
CAUTION: When the speed comes down extremely, reduce the load or stop the tool to avoid the tool damage.
Hold the tool firmly with one hand on the grip and the other hand on the bottom of the battery cartridge to control the twisting action.
Fig.14
Screwdriving operation
CAUTION: Adjust the adjusting ring to the proper torque level for your work.
CAUTION: Make sure that the driver bit is inserted straight in the screw head, or the screw and/or driver bit may be damaged
Place the point of the driver bit in the screw head and apply pressure to the tool. Start the tool slowly and then increase the speed gradually. Release the switch trigger as soon as the clutch cuts in.
NOTE: When driving wood screw, pre-drill a pilot hole 2/3 the diameter of the screw. It makes driving easier and prevents splitting of the workpiece.
Drilling operation
First, turn the adjusting ring so that the arrow points to
the
marking. Then proceed as follows.
Drilling in wood
When drilling in wood, the best results are obtained with wood drills equipped with a guide screw. The guide screw makes drilling easier by pulling the drill bit into the workpiece.
Drilling in metal
To prevent the drill bit from slipping when starting a hole, make an indentation with a center-punch and hammer at the point to be drilled. Place the point of the drill bit in the indentation and start drilling. Use a cutting lubricant when drilling metals. The exceptions are iron and brass which should be drilled dry
CAUTION: Pressing excessively on the tool will not speed up the drilling. In fact, this excessive pressure will only serve to damage the tip of your drill bit, decrease the tool performance and shorten the service life of the tool.
CAUTION: Hold the tool firmly and exert care when the drill bit begins to break through the workpiece. There is a tremendous force exerted on the tool/drill bit at the time of hole break through.
CAUTION: A stuck drill bit can be removed simply by setting the reversing switch to reverse rotation in order to back out. However, the tool may back out abruptly if you do not hold it firmly.
CAUTION: Always secure workpieces in a vise or similar hold-down device.
CAUTION: If the tool is operated continuously until the battery cartridge has discharged, allow the tool to rest for 15 minutes before proceeding with a fresh battery.
Using the tool as a hand screwdriver
Fig.15
Switch off the tool. Move the reversing switch lever to the neutral position. Turn the adjusting ring so that the arrow points to the
marking. Turn the tool.
NOTE: This use is convenient for checking the screwdriving.
NOTE: Do not use the tool for work requiring excessive force, such as tightening bolt or removing rusted screws.
Using holster
Optional accessory
CAUTION: When using the holster, remove a driver bit/drill bit from the tool.
CAUTION: Turn off the tool and wait until it comes to a complete stop before placing it in the holster.
Be sure to close the holster securely with the holster button so that it holds the tool firmly.
- Thread a waist belt or similar through holster holder.
Fig.16: 1. Holster holder 2. Waist belt
- Put the tool in the holster and lock it with the holster button.
Fig.17
Fig.18
You can keep two driver bits at the front of the holster.
MAINTENANCE
CAUTION: Always be sure that the tool is switched off and the battery cartridge is removed before attempting to perform inspection or maintenance.
NOTICE: Never use gasoline, benzine, thinner, alcohol or the like. Discoloration, deformation or cracks may result.
To maintain product SAFETY and RELIABILITY, repairs, any other maintenance or adjustment should be performed by Makita Authorized or Factory Service Centers, always using Makita replacement parts.
OPTIONAL ACCESSORIES
CAUTION: These accessories or attachments are recommended for use with your Makita tool specified in this manual. The use of any other accessories or attachments might present a risk of injury to persons. Only use accessory or attachment for its stated purpose.
If you need any assistance for more details regarding these accessories, ask your local Makita Service Center.
- Drill bits
- Driver bits
- Socket bits
- Bit piece
- Driver bit holder
- Holster
- Plastic carrying case
- Hook
- Makita genuine battery and charger
NOTE: Some items in the list may be included in the tool package as standard accessories. They may differ from country to country
COSTAMER SUPPORT
Makita Europe N.V.
Jan-Baptist Vinkstraat 2,
3070 Kortenberg, Belgium
Makita Corporation
3-11-8, Sumiyoshi-cho,
Anjo, Aichi 446-8502 Japan
http://www.makita.com/
Lighted
Off


























