makita DDF343 Cordless Driver Drill

SPECIFICATIONS
| Model: | DDF343 | DDF453 | |
| Drilling capacities | Steel | 10 mm | 13 mm |
| Wood | 25 mm | 36 mm | |
| Fastening capacities | Wood screw | 5.1 mm x 63 mm | 6 mm x 75 mm |
| Machine screw | M6 | ||
| No load speed | High (2) | 0 – 1,300 min-1 | |
| Low (1) | 0 – 400 min-1 | ||
| Overall length | 192 mm | 214 mm | |
| Rated voltage | D.C. 14.4 V | D.C. 18 V | |
| Net weight | 1.4 – 1.7 kg | 1.7 – 2.0 kg | |
- Due to our continuing program of research and development, the specifications herein are subject to change without notice.
- Specifications may differ from country to country.
- The weight may differ depending on the attachment(s), including the battery cartridge.
- The lightest and heaviest combination, according to EPTA Procedure
- Procedure 01/2014, are shown in the table.
Applicable battery cartridge and charger
| Battery cartridge | D.C.14.4 V Model | BL1415N / BL1430B / BL1440 / BL1460B |
| D.C.18 V Model | BL1815N / BL1820B / BL1830B / BL1840B / BL1850B / BL1860B | |
| Charger | DC18RC / DC18RD / DC18RE / DC18SD / DC18SE / DC18SF / DC18SH / DC18WC | |
Some of the battery cartridges and chargers listed above may not be available depending on your region of residence.
WARNING
Only use the battery cartridges and chargers listed above. Use of any other battery cartridges and chargers may cause injury and/or fire.
Intended use
The tool is intended for drilling and screw driving in wood, metal and plastic.
Noise
The typical A-weighted noise level determined accord-ing to EN62841-2-1:
Model DDF343
- Sound pressure level (LpA) : 70 dB(A)
- less Uncertainty (K) : 3 dB(A)
- The noise level under working may exceed 80 dB (A).
Model DDF453
- Sound pressure level (LpA) : 72 dB(A)
- Uncertainty (K) : 3 dB(A)
- The noise level under working may exceed 80 dB (A)
- NOTE The declared noise emission value(s) has been measured in accordance with a standard test method and may be used for comparing one tool with another.
- The declared noise emission value may also be used in a preliminary assessment of exposure.
- Wear ear protection.
- The noise emission during actual use of the power tool can differ from the declared value depending on the ways in which the tool is used especially what kind of workpiece is processed.
- Be sure to identify safety measures to protect the operator that are based on an estimation of exposure in the actual conditions of use taking account of all parts of the operating cycle such as the times when the tool is switched off and when it is running idle in addition to the trigger time.
Vibration
- The vibration total value tri axial vector sum determined according to EN62841-2-1
- Work mode: drilling into metal
- Vibration emission ah,D : 2.5 m/s2
- less Uncertainty (K) : 1.5 m/s2
NOTE
- The declared vibration total value(s) has been measured in accordance with a standard test method and may be used for comparing one tool with another.
- The declared vibration total value(s) may also be used in a preliminary assessment of exposure.
- The vibration emission during actual use of the power tool can differ from the declared value depending on the ways in which the tool is used especially what kind of workpiece is processed.
- Be sure to identify safety measures to protect the operator that are based on an estimation of exposure in the actual conditions of use taking account of all parts of the operating cycle such as the times when the tool is switched off and when it is running idle in addition to the trigger time.
EC Declaration of Conformity
For European countries only the EC declaration of conformity is included as Annex
SAFETY WARNINGS
General power tool safety warnings
Failure to follow all instructions listed below may result in electric shock, fire and/or serious injury. The term power tool in the warnings refers to your mains operated corded power tool or battery operated (cordless) power tool.
Cordless driver drill safety warnings
Safety instructions for all operations
- Hold the power tool by insulated gripping surfaces, when performing an operation where the cutting accessory or fasteners may contact hidden wiring.
- Cutting accessory or fasteners contacting a live wire may make exposed metal parts of the power tool live and could give the operator an electric shock.
- Always be sure you have a firm footing.
- Be sure no one is below when using the tool in high locations.
- Hold the tool firmly.
- Keep hands away from rotating parts.
- Do not leave the tool running.
- Operate the tool only when hand-held.
- Do not touch the drill bit, the workpiece or chips immediately after operation; they may be extremely hot and could burn your skin.
- Some material contains chemicals which may be toxic.
- Take caution to prevent dust inhalation and skin contact.
- Follow material supplier safety data.
- If the drill bit cannot be loosened even you open the jaws, use pliers to pull it out.
- In such a case, pulling out the drill bit by hand may result in injury by its sharp edge.
- Make sure there are no electrical cables, water pipes, gas pipes etc. that could cause a hazard if damaged by use of the tool.
- Safety instructions when using long drill bits
- Never operate at higher speed than the maximum speed rating of the drill bit.
- At higher speeds, the bit is likely to bend if allowed to rotate freely without contacting the workpiece, resulting in personal injury.
- Always start drilling at low speed and with the bit tip in contact with the workpiece.
- At higher speeds, the bit is likely to bend if allowed to rotate freely without contacting the workpiece, resulting in personal injury.
- Apply pressure only in direct line with the bit and do not apply excessive pressure.
- Bits can bend causing breakage or loss of control, resulting in personal injury.
- DO NOT let comfort or familiarity with product gained from repeated use replace strict adherence to safety rules for the subject product.
- MISUSE or failure to follow the safety rules stated in this instruction manual may cause serious personal injury.
Important safety instructions for battery cartridge
- Before using battery cartridge, read all instructions and cautionary markings on battery charger, battery, and product using battery.
- Do not disassemble or tamper with the battery cartridge.
- It may result in a fire, excessive heat, or explosion.
- If operating time has become excessively shorter, stop operating immediately.
- It may result in a risk of overheating, possible burns and even an explosion.
- If electrolyte gets into your eyes, rinse them out with clear water and seek medical attention right away.
- It may result in loss of your eyesight.
- Do not short the battery cartridge.
- Do not touch the terminals with any conductive material.
- Avoid storing battery cartridge in a container with other metal objects such as nails, coins, etc.
- Do not expose battery cartridge to water or rain.
- A battery short can cause a large current flow, overheating, possible burns and even a breakdown.6. Do not store and use the tool and battery car-tridge in locations where the temperature may reach or exceed 50 °C (122 °F).
- Do not incinerate the battery cartridge even if it is severely damaged or is completely worn out.
- The battery cartridge can explode in a fire.
- Do not nail, cut, crush, throw, drop the battery cartridge, or hit against a hard object to the battery cartridge.
- Such conduct may result in a fire, excessive heat, or explosion.
- Do not use a damaged battery.
- The contained lithium-ion batteries are subject to the Dangerous Goods Legislation requirements.
- For commercial transports e.g. by third parties, forwarding agents, special requirement on pack-aging and labeling must be observed.
- For preparation of the item being shipped, consulting an expert for hazardous material is required.
- Please also observe possibly more detailed national regulations.
- Tape or mask off open contacts and pack up the battery in such a manner that it cannot move around in the packaging.
- When disposing the battery cartridge, remove it from the tool and dispose of it in a safe place.
- Follow your local regulations relating to disposal of battery.
- Use the batteries only with the products specified by Makita.
- Installing the batteries to non-compliant products may result in a fire, excessive heat, explosion, or leak of electrolyte.
- If the tool is not used for a long period of time, the battery must be removed from the tool.
- During and after use, the battery cartridge may take on heat which can cause burns or low temperature burns.
- Pay attention to the handling of hot battery cartridges.
- Do not touch the terminal of the tool immediately after use as it may get hot enough to cause burns.
- Do not allow chips, dust, or soil stuck into the terminals, holes, and grooves of the battery cartridge.
- It may cause heating, catching fire, burst and malfunction of the tool or battery cartridge, resulting in burns or personal injury.
- Unless the tool supports the use near high voltage electrical power lines, do not use the battery cartridge near high voltage electrical power lines.
- It may result in a malfunction or breakdown other tool or battery cartridge.
- Keep the battery away from children.
CAUTION
- Only use genuine Makita batteries. Use of non-genuine Makita batteries, or batteries that have been altered, may result in the battery bursting causing fires, personal injury and damage.
- It will also void the Makita warranty for the Makita tool and charger.
Tips for maintaining maximum battery life
- Charge the battery cartridge before completely discharged.
- Always stop tool operation and charge the battery cartridge when you notice less tool power.
- Never recharge a fully charged battery cartridge.
- Overcharging shortens the battery service life.
- Charge the battery cartridge with room temperature at 10 °C – 40 °C (50 °F – 104 °F).
- Let a hot battery cartridge cool down before charging it.
- When not using the battery cartridge, remove it from the tool or the charger.
- Charge the battery cartridge if you do not use it for a long period (more than six months.
FUNCTIONAL DESCRIPTION
Always be sure that the tool is switched off and the battery cartridge is removed before adjusting or checking function on the tool.
Installing or removing battery cartridge
CAUTION
Always switch off the tool before installing or removing of the battery cartridge. Hold the tool and the battery cartridge firmly when installing or removing battery cartridge. Failure to hold the tool and the battery cartridge firmly may cause them to slip off your hands and result in damage to the tool and battery cartridge and a personal injury.
- Red indicator
- Button
- Battery cartridge
To remove the battery cartridge, slide it from the tool while sliding the button on the front of the cartridge. To install the battery cartridge, align the tongue on the battery cartridge with the groove in the housing and slip it into place. Insert it all the way until it locks in place with a little click. If you can see the red indicator as shown in the figure, it is not locked completely.
CAUTION
Always install the battery cartridge fully until the red indicator cannot be seen. If not, it may accidentally fall out of the tool, causing injury to you or someone around you. Do not install the battery cartridge forcibly. If the cartridge does not slide in easily, it is not being inserted correctly.
Indicating the remaining battery capacity
Only for battery cartridges with the indicator
- Indicator lamps
- Check button
Press the check button on the battery cartridge to indicate the remaining battery capacity. The indicator lamps light up for a few seconds.

NOTE
Depending on the conditions of use and the ambient temperature, the indication may differ slightly from the actual capacity. The first far left indicator lamp will blink when the battery protection system works.
Tool / battery protection system
The tool is equipped with a tool/battery protection system. This system automatically cuts off the power to extend tool and battery life. The tool will automatically stop during operation if the tool or battery is placed under one of the following conditions:
Overload protection
This protection works when the tool is operated in a manner that causes it to draw an abnormally high cur-rent. In this situation, turn the tool off and stop the application that caused the tool to become overloaded. Then turn the tool on to restart.
Overheat protection
This protection works when the tool or battery is over-heated. In this situation, let the tool and battery cool before turning the tool on again.
Over discharge protection
This protection works when the remaining battery capacity gets low. In this situation, remove the battery from the tool and charge the battery.
Switch action

CAUTION
Before installing the battery cartridge into the tool, always check to see that the switch trigger actuates properly and returns to the “OFF” position when released. To start the tool, simply pull the switch trigger. Tool speed is increased by increasing pressure on the switch trigger. Release the switch trigger to stop.
Reversing switch action

CAUTION
Always check the direction of rotation before operation. Use the reversing switch only after the tool comes to a complete stop. Changing the direction of rotation before the tool stops may dam-age the tool when not operating the tool, always set the reversing switch lever to the neutral position. This tool has a reversing switch to change the direction of rotation. Depress the reversing switch lever from the A side for clockwise rotation or from the B side for coun-ter clockwise rotation. When the reversing switch lever is in the neutral position, the switch trigger cannot be pulled.
Speed change

CAUTION
Always set the speed change lever fully to the correct position. If you operate the tool with the speed change lever positioned halfway between the “1” side and 2 side, the tool may be damaged. Do not use the speed change lever while the tool is running. The tool may be damaged.
To change the speed, switch off the tool first. Select the 2 side for high speed or “1” for low speed but high torque. Be sure that the speed change lever is set to the correct position before operation. If the tool speed is coming down extremely during the operation with 2 slide the lever to the 1 and restart the operation.
Adjusting the fastening torque

- Adjusting ring
- Graduation
- Arrow
The fastening torque can be adjusted in 17 levels by turning the adjusting ring. Align the graduations with the arrow on the tool body. You can get the minimum fastening torque at 1 and maximum torque at marking. The clutch will slip at various torque levels when set at the number 1 to 16. The clutch does not work at the marking. Before actual operation, drive a trial screw into your material or a piece of duplicate material to deter-mine which torque level is required for a particular application.
ASSEMBLY

Always be sure that the tool is switched off and the battery cartridge is removed before carrying out any work on the tool.
Installing or removing driver bit/drill bit
Turn the sleeve counterclockwise to open the chuck jaws. Place the driver bit/drill bit in the chuck as far as it will go. Turn the sleeve clockwise to tighten the chuck. To remove the driver bit/drill bit, turn the sleeve counterclockwise.
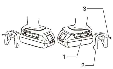
Installing hook
Use the hanging/mounting parts for their intended purposes only, e.g., hanging the tool on a tool belt between jobs or work intervals. Be careful not to overload the hook as too much force or irregular overburden may cause damages to the tool resulting in personal injury. When installing the hook, always secure it with the screw firmly. If not, the hook may come off from the tool and result in the personal injury.
CAUTION
Make sure to hang the tool securely before releasing your hold. Insufficient or unbalanced hooking may cause falling off and you may be injured.

- Groove
- Hook
- Screw
The hook is convenient for temporarily hanging the tool. This can be installed on either side of the tool. To install the hook, insert it into a groove in the tool housing on either side and then secure it with a screw. To remove, loosen the screw and then take it out.
Using hole
WARNING: Never use the hanging hole for unintended purpose, for instance, tethering the tool at high location. Bearing stress in a heavily loaded hole may cause damages to the hole, result-ing in injuries to you or people around or below you.
Use the hanging hole at the bottom rear of the tool to hang the tool on a wall using a hanging cord or similar strings.
OPERATION
CAUTION
Always insert the battery cartridge all the way until it locks in place. If you can see the red indicator on the upper side of the button, it is not locked completely. Insert it fully until the red indicator cannot be seen. If not, it may accidentally fall out of the tool, causing injury to you or someone around you. When the speed comes down extremely, reduce the load or stop the tool to avoid the tool damage. Hold the tool firmly with one hand on the grip and the other hand on the bottom of the battery cartridge to control the twisting action.
Screw driving operation
CAUTION
Adjust the adjusting ring to the proper torque level for your work. Make sure that the driver bit is inserted straight in the screw head, or the screw and/or driver bit may be damaged. Place the point of the driver bit in the screw head and apply. When driving wood screw, pre-drill a pilot hole 2/3 the diameter of the screw. It makes driving easier and prevents splitting of the workpiece. pressure to the tool. Start the tool slowly and then increase the speed gradually. Release the switch trigger as soon as the clutch cuts in.
Drilling operation
First turn the adjusting ring so that the arrow points to the marking. Then proceed as follows.
Drilling in wood
When drilling in wood, the best results are obtained with wood drills equipped with a guide screw. The guide screw makes drilling easier by pulling the drill bit into the workpiece.
Drilling in metal
To prevent the drill bit from slipping when starting a hole, make an indentation with a center-punch and hammer at the point to be drilled. Place the point of the drill bit in the indentation and start drilling. Use a cutting lubricant when drilling metals. The exceptions are iron and brass which should be drilled dry. Pressing excessively on the tool will not speed up the drilling. In fact, this excessive pressure will only serve to damage the tip of your drill bit, decrease the tool performance and shorten the service life of the tool.
CAUTION
- Hold the tool firmly and exert care when the drill bit begins to break through the workpiece.
- There is a tremendous force exerted on the tool/drill bit at the time of hole break through.
- A stuck drill bit can be removed simply by setting the reversing switch to reverse rotation in order to back out.
- However, the tool may back out abruptly if you do not hold it firmly.
- Always secure workpieces in a vise or similar hold down device.
- If the tool is operated continuously until the battery cartridge has discharged, allow the tool to rest for 15 minutes before proceeding with a fresh battery.
MAINTENANCE
Always be sure that the tool is switched off and the battery cartridge is removed before attempting to perform inspection or maintenance.
NOTICE
- Never use gasoline, benzine, thinner, alcohol or the like.
- Discoloration, deformation or cracks may result.
- To maintain product SAFETY and RELIABILITY, repairs, carbon brush inspection and replacement, any other maintenance or adjustment should be performed by Makita Authorized or Factory Service Centers, always using Makita replacement parts.
OPTIONAL ACCESSORIES
These accessories or attachments are recommended for use with your Makita tool specified in this manual. The use of any other accessories or attachments might present a risk of injury to persons. Only use accessory or attachment for its stated purpose. If you need any assistance for more details regard-ing these accessories, ask your local Makita Service Center.
- Drill bits
- Driver bits
- Hook
- Makita genuine battery and charger
- Automatic refreshing adapter
- Plastic carrying case
NOTE
Some items in the list may be included in the tool package as standard accessories. They may differ from country to country.




















