V I V O STAND-SIT1K Single Monitor Sit to Stand Wall Mount Workstation

Product Information
- The Sit to Stand Single Monitor Wall Mount Workstation is a versatile and ergonomic solution for those who use computers for extended periods of time. It allows you to switch between sitting and standing positions, reducing the risk of health problems associated with prolonged sitting. The workstation is designed to hold a single monitor and comes with a keyboard tray and swivel arm for added convenience.
- The product has a weight capacity of 17.5lbs (7.94kg) and is not recommended for use by children under 3 years of age. The package includes the necessary hardware for assembly, and tools required for assembly include a Phillips screwdriver, a 3mm Allen wrench, a 4mm Allen wrench, and a 5mm Allen wrench. It is important to note that the product should not be installed into drywall alone and should be mounted on wood studs or concrete walls using the included mounting hardware.
Product Usage Instructions
- Begin by finding the stud in the wall where the stand will be attached. Use the Wall Mount (C) to mark the mounting location. For wood stud mounting, drill approximately 1.2 inches into the stud using a 3mm bit. For concrete wall mounting, drill approximately 2.6 inches into the wall using an 8mm bit and insert Concrete Anchors (S-H) into the holes.
- Attach M5x18mm Screw (S-C) to Keyboard Tray Assembly (F) using the 4mm Allen Wrench (T-B) without tightening it.
- Attach Keyboard Tray (B) to Keyboard Tray Assembly (F) using M5x10mm Screws (S-J) and M6 Nuts (S-D).
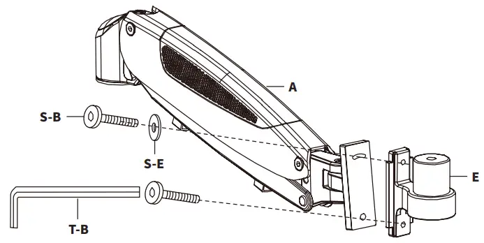
- Attach Mount Fitting (E) to Arm (A) using M6x15mm Screws (S-B) and Washer (S-E). Tighten the M6x15mm Screws (S-B) using the 4mm Allen Wrench (T-B). Attach Keyboard Tray Assembly (F) to Arm (A) and tighten the screw on the bracket using the 4mm Allen Wrench (T-B).
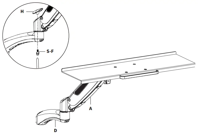
- Attach Arm (A) to Swivel Arm (D) using M6x25mm Screw (S-F) and Cap (H). Adjust using 3mm Allen Wrench (T-A) and secure to Wall Mount (C) using M6x25mm Screw (S-F) and Cap (H). Mount the monitor to Arm (G) using M4x12mm Screws (S-A) and attach Arm (G) to Wall Mount (C). Adjust the tension of Arm (G) using the 5mm Allen Wrench (T-C).
- Attach Velcro Pads (S-G) to keyboard tray. Adjust the minimum tilt angle of the keyboard tray by turning the set screw under the joint counter-clockwise with the 3mm Allen Wrench (T-A).
Always ensure that you do not exceed the weight capacity of the product to prevent serious injury. If you are unsure about the wall construction, contact Vivo-US for assistance.
CUSTOMER SUPPORT
- GET IN TOUCH | Monday-Friday from 7:00am-7:00pm CST
- [email protected]
- www.vivo-us.com
- 309-278-5303
WARNING!
If you do not understand these directions, or if you have any doubts about the safety of the installation, please call a qualified technician. Check carefully to make sure there are no missing or defective parts. Improper installation may cause damage or serious injury. Do not use this product for any purpose that is not explicitly specified in this manual. Do not exceed weight capacity. We cannot be liable for damage or injury caused by improper mounting, incorrect assembly or inappropriate use.
TIPOVER WARNING
SERIOUS OR FATAL CRUSHING INJURIES CAN OCCUR FROM TIPOVER. TO HELP PREVENT TIPOVER:
- NEVER ALLOW CHILDREN TO CLIMB, STAND, HANG, OR PLAY ON ANY PART OF MONITOR OR STAND.
- USE TIPOVER RESTRAINT OR ANCHOR STAND TO WALL
USE OF TIPOVER RESTRAINTS MAY ONLY REDUCE, BUT NOT ELIMINATE RISK OF TIPOVER.
WARNING: CHOKING HAZARD
SMALL PARTS – NOT FOR CHILDREN UNDER 3 YEARS. ADULT SUPERVISION IS REQUIRED.
PACKAGE CONTENTS

CAUTION!
DO NOT INSTALL INTO DRYWALL ALONE. VERIFY YOUR WALL CONSTRUCTION. USE WOOD STUDS TO MOUNT. We include mounting for brick and concrete walls. If unsure, please contact us at vivo-us.com, email at [email protected], or call us at 309-278-5303.
ASSEMBLY STEPS
- STEP 1
- OPTION A: Wood Stud Mounting
Find the stud in wall where stand will be attached. Use the Wall Mount (C) to mark mounting location. Using a 3mm bit, drill approximately 1.2” into stud. Using M6x50mm Screws (S-I), secure the Wall Mount (C) in place. Insert Wall Mount Caps (I) into either side of Wall Mount (C).
- OPTION B: Concrete Wall Mounting
For concrete walls, use the Wall Mount (C) to mark the mounting location. Using a 8mm bit, drill approximately 2.6” into wall. Use Concrete Anchors (S-H) and Using M6x50mm Screws (S-I), secure the Wall Mount (C) in place. Insert Wall Mount Caps (I) into either side of Wall Mount (C).
- OPTION A: Wood Stud Mounting
- STEP 2
Use the 4mm Allen Wrench (T-B) to attach M5x18mm Screw (S-C) to Keyboard Tray Assembly (F) as shown (do not tighten).
- STEP 3
Using M5x10mm Screws (S-J) and M6 Nuts (S-D), attach Keyboard Tray (B) to Keyboard Tray Assembly (F) as shown.
- STEP 4
- Attach Mount Fitting (E) to Arm (A) using M6x15mm Screws (S-B) and Washer (S-E). Use Washer (S-E) with top screw inserted through slot. Tighten the M6x15mm Screws (S-B) using the 4mm Allen Wrench (T-B).

- Attach Keyboard Tray Assembly (F) to Arm (A). Use 4mm Allen Wrench (T-B) to tighten the screw on the bracket.

- Attach Mount Fitting (E) to Arm (A) using M6x15mm Screws (S-B) and Washer (S-E). Use Washer (S-E) with top screw inserted through slot. Tighten the M6x15mm Screws (S-B) using the 4mm Allen Wrench (T-B).
- STEP 5
- Attach Arm (A) to Swivel Arm (D) using M6x25mm Screw (S-F) and Cap (H). Adjust using 3mm Allen Wrench (T-A). Secure to Wall Mount (C) using the M6x25mm Screw (S-F) and Cap (H).

- NOTE: Turn clockwise to reduce tension for lighter keyboards and counter-clockwise to increase tension for heavier keyboards using 5mm Allen Wrench (T-C).

- Attach Arm (A) to Swivel Arm (D) using M6x25mm Screw (S-F) and Cap (H). Adjust using 3mm Allen Wrench (T-A). Secure to Wall Mount (C) using the M6x25mm Screw (S-F) and Cap (H).
- STEP 6
Mount monitor to Arm (G) using M4x12mm Screw (S-A). Attach Arm (G) to Wall Mount (C). Adjust to proper tension. Mount monitor to Arm (G) using M4x12mm Screws (S-A). Attach Velcro Pads (S-G) to keyboard tray. Use 5mm Allen Wrench (T-C) to adjust the tension of the Arm (G). Adjust keyboard tray minimum tilt angle by turning the set screw under the joint counter-clockwise with the 3mm Allen Wrench (T-A).
ABOUT COMPANY
- Open Monday – Friday 7:00am – 7:00pm CST,
our dedicated support team can offer immediate assistance with rapid response times. If any parts are received damaged or defective, please contact us. We are happy to replace parts to ensure you have a fully functioning product. - 309-278-5303 AVG. RESOLUTION TIME (within office hrs): 5M 4S
- www.vivo-us.com AVG. RESOLUTION TIME (within office hrs): < 15 M
- [email protected] AVG. RESPONSE TIME (within office hrs): 1HR 8M
- 23% within < 15m
- 38% within < 30m
- 61% within < 1hr
- 83% within < 2hr
- 92% within < 3hr



















