Amazon Basics K001387 Single Monitor Stand

IMPORTANT SAFEGUARDS
Read these instructions carefully and retain them for future use. If this product is passed to a third party, then these instructions must be included.
When using the product, basic safety precautions should always be followed to reduce the risk of injury including the following:
- This product can be used by children aged 8 years and above and persons with reduced physical, sensory, or mental capabilities or lack of experience and knowledge if they have been given supervision or instruction concerning the use of the appliance in a safe way and understand the hazards involved. Children shall not play with the product. Cleaning and user maintenance shall not be made by children without supervision.
- You will have to adjust this product after installation is complete.
- Do not exceed the maximum listed weight capacity of 25 lbs (11 .3 kg). Serious injury or property damage may occur.
- Because mounting surface materials can vary widely, it is imperative that you make sure the mounting surface is strong enough to handle mounted products and equipment.
- The ideal distance between the viewer and the display depends upon the location and setup of the product. Adjust the distance to no less than 450mm and no more than 800mm from the viewer, based on comfort and ease of viewing.
IMPORTANT, RETAIN FOR FUTURE REFERENCE: READ CAREFULLY
Before First Use
- Check for transport damages. A DANGER Risk of Suffocation! Keep any packaging materials away from children – these materials are a potential source of danger, e.g. suffocation.
Cleaning and Maintenance
Cleaning
- To clean, wipe with a soft, slightly moist cloth.
- Never use corrosive detergents, wire brushes, abrasive scourers, or metal or sharp utensils to clean the product.
Maintenance
- Check the components regularly to make sure all screws and bolts are tightened.
- Store in a cool and dry place away from children and pets, ideally in original packaging.
- Avoid any vibrations and shocks.
Warranty Information
To obtain a copy of the warranty for this product:
- US: amazon.com/AmazonBasics/Warranty
- UK: amazon.co.uk/basics-warranty
- US: +1-866-216-1072
- UK: +44 (0) 800-279-7234 D
Feedback and Help
Love it? Hate it? Let us know with a customer review. AmazonBasics is committed to delivering customer-driven products that live up to your high standards. We encourage you to write a review sharing your experiences with the product.
- US: amazon.com/review/review-your-purchases#
- UK: amazon.co.uk/review/review-your-purchases#
- US: amazon.com/gp/help/customer/contact-us
- UK: amazon.co.uk/gp/help/customer/contact-us
Contents
Tools needed
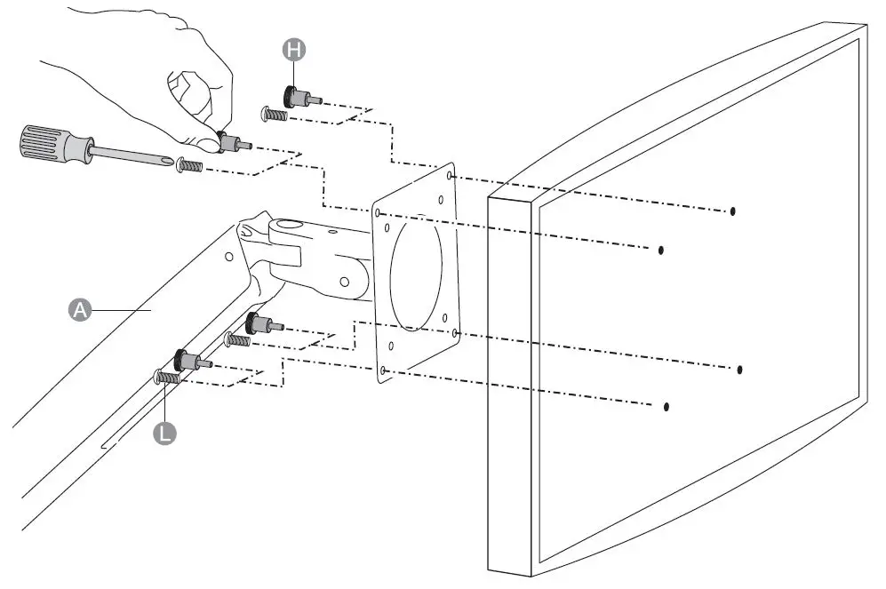
Assembly
1A:
1 B:

Determine the orientation of a monitor
You can mount a monitor in a locked portrait or landscape orientation, or you can leave a monitor free to rotate 360°.
- If you want the monitor to rotate freely, do not insert the M3 x 6 mm screw.
- If you want the monitor in a locked orientation, insert the M3 x 6 mm screw into the front of the plate on the upper arm.

NOTICE
If you want to change a monitor’s orientation after you mount the monitor to the upper arm, you need to remove the monitor from the upper arm and insert or remove the M3 x 6 mm screw.
The am, mechanism is under tension and will move up rapidly, on its own, as soon as the attached equipment is removed. For this reason, do not remove equipment unless the arm has been moved to the highest position! Failure to follow this instruction may result in serious personal injury and/or equipment damage.

4
5
6
7

Scan the QR Code and scroll through the images to find a helpful assembly, installation, and/or use video. Scan with your phone camera or QR reader.
FEATURES
The Amazon Basics K001387 Single Monitor Stand offers a range of features to enhance the ergonomics and functionality of your workspace. Here are some key features of the monitor stand:
- Adjustable Height:
The monitor stand allows you to adjust the height of your monitor, helping you find a comfortable viewing position and reducing strain on your neck and eyes. - Tilt and Swivel Adjustment:
You can tilt the monitor to find the optimal viewing angle and swivel it for easy screen sharing or collaboration. - Cable Management:
The monitor stand includes a cable management system that helps keep your workspace organized by managing and hiding cables, preventing clutter. - VESA Compatibility:
The stand is VESA-compatible, which means it can accommodate monitors that adhere to VESA mounting standards, ensuring a secure and stable attachment. - Space-Saving Design:
The stand’s compact design helps maximize your desk space, allowing you to utilize the area more efficiently. - Solid Construction:
The monitor stand is built with durable materials, providing stability and support for your monitor. - Non-Slip Padding:
The stand features non-slip padding on the base and top surface to keep your monitor and desk surface secure and prevent slipping. - Easy Installation:
The monitor stand is designed for easy installation, typically requiring minimal tools and assembly. - Compatibility:
The Amazon Basics K001387 Single Monitor Stand is compatible with most flat-panel monitors, including LCD, LED, and OLED displays. - Weight Capacity:
The stand has a weight capacity that can vary depending on the specific model. It is important to check the manufacturer’s guidelines for the maximum weight it can support. - Ergonomic Benefits:
By elevating your monitor to eye level, the stand helps promote better posture and reduce strain on your neck, back, and shoulders. - Improved Productivity:
The monitor stand allows you to position your monitor at a comfortable height and angle, which can enhance productivity and focus during work or study sessions. - Versatile Placement:
The stand can be used on various surfaces, including desks, tables, or countertops, providing flexibility in where you position your monitor. - Sleek and Minimalist Design:
The monitor stand has a sleek and minimalist design that blends well with different office or home setups. - Affordable Option:
The Amazon Basics K001387 Single Monitor Stand offers a budget-friendly solution for improving the ergonomics and functionality of your workstation.
These features make the Amazon Basics K001387 Single Monitor Stand a practical choice for those looking to elevate their monitor for better viewing angles, organization, and overall comfort in their workspace.
FREQUENTLY ASKED QUESTIONS
What is the maximum weight capacity of the monitor stand?
The maximum weight capacity of the Amazon Basics K001387 Single Monitor Stand can vary, so it's important to check the manufacturer's specifications. However, it typically supports monitors up to a certain weight limit, such as 22 pounds or 10 kilograms.
Can the height of the monitor stand be adjusted?
Yes, the Amazon Basics K001387 Single Monitor Stand allows for height adjustment, allowing you to find the most comfortable viewing position for your monitor.
Does the stand support tilt and swivel adjustment?
Yes, the monitor stand offers tilt and swivel adjustment, allowing you to adjust the angle and orientation of your monitor for optimal viewing.
Is the stand compatible with VESA mounting standards?
Yes, the Amazon Basics K001387 Single Monitor Stand is typically VESA-compatible, allowing it to accommodate monitors that adhere to VESA mounting standards.
How does the cable management system work?
The monitor stand includes a cable management system that helps keep your cables organized and prevents them from tangling or cluttering your workspace. It typically features clips or channels to route the cables neatly along the stand's arm.
Does the monitor stand have non-slip padding?
Yes, the Amazon Basics K001387 Single Monitor Stand is usually equipped with non-slip padding on its base and top surface. This helps to keep your monitor stable and prevents it from sliding or scratching the desk surface.
What types of monitors are compatible with this stand?
The stand is compatible with most flat-panel monitors, including LCD, LED, and OLED displays. It can accommodate various screen sizes within the weight capacity limits.
Can the stand be easily installed?
Yes, the Amazon Basics K001387 Single Monitor Stand is designed for easy installation. It typically comes with the necessary tools and hardware, and the installation process is straightforward.
Can the stand be used with multiple monitors?
No, the Amazon Basics K001387 Single Monitor Stand is designed to support a single monitor. If you require support for multiple monitors, you may need to consider a different stand or a monitor arm that accommodates multiple displays.
Does the stand have a space-saving design?
Yes, the monitor stand has a space-saving design that helps maximize your desk space by elevating the monitor and reducing clutter.
Is the stand adjustable horizontally?
The Amazon Basics K001387 Single Monitor Stand is primarily designed for vertical height adjustment rather than horizontal adjustment. It focuses on providing ergonomic viewing angles and stability.
Does the stand come with a warranty?
Amazon Basics products typically come with a limited warranty. It's recommended to check the warranty details provided by the manufacturer for the specific monitor stand model.
Can the stand be used with standing desks?
Yes, the monitor stand can be used with standing desks. You can adjust the height of the stand to accommodate your standing position and maintain an ergonomic setup.
Does the stand have a minimalist design?
Yes, the Amazon Basics K001387 Single Monitor Stand features a sleek and minimalist design that blends well with various office or home setups.
Is the monitor stand an affordable option?
Yes, Amazon Basics products are known for their affordability, and the K001387 Single Monitor Stand is often considered a cost-effective solution for improving your workstation ergonomics.
VIDEO – OVERVIEW
DOWNLOAD THE PDF LINK: Amazon Basics K001387 Single Monitor Stand User Guide





















