INSTALLATION INSTRUCTION


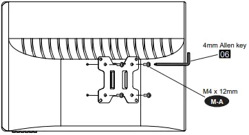
Max:100x100mm/4×4″
Min:75x75mm /3×3″
BA-0
If you have any questions, please feel free to contact us via Amazon.
Warm Tips
You could also refer to the Video Guide about installation on our product page.
Safety Caution
Please read this instruction carefully before installation. If you do not understand these instructions or have questions about the safety of the installation, assembly or use of this product, please contact us via Amazon.
WARNING: This product contains small items that could be a choking hazard if swallowed. Before starting assembly, verify all parts are included and undamaged. For parts shortage or damage, please contact us.
Before Starting Assembly
When attaching Plate to monitor, please choose correct screw, be careful not to over tighten screws and be sure that screws do not bottom out in the mounting holes.

Too Long Correct
![]()

Too Short Correct
![]()
Please don’t use any drills to attach monitor.
Hardware Included
Base Middle Head
01 x1
02 x1
Pole VESA Plate
03 x1
04 x1
Round Cable Clip 4mm Allen key
05 x1
06 x1
5mm Allen key
07 x1
Hardware Kit
Philips Screws | Philips Screws | Spacers | Security Screw | Bolts |
| ||||
| M4 x 12mm x4 M-A | M4 x 30mm x4 M-B | L10mm x8 M-C | M5 x12mm x1 M-D | M5 x 12mm |
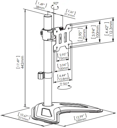
Step 1-1 Assemble the stand
Assemble the pole and the base together using the included 4mm Allen key.

Step 1-2 Assemble the stand

Using the 5mm Allen key to fasten the bolt for fixing the monitor arm on the stand.
Step 2 Attach the VESA plates to the monitor
(a) For Flat Back

(b) For Recessed / Curved Back

Step 3 Attach the monitor to the stand


Secure the monitor with hands
Step 4 Tilting Adjustment

Loosen tilting bolts, pull monitor to your desired angle, then fasten tilting bolt with the 5mm Allen key.
Step 5 Switch screen horizontally and vertically
If needed, the monitor can be rotated ±90 degrees for switching screen between horizontally and vertically for turn the monitor directly.

360° Rotation
This function works better for monitor with the center of gravity.
Note: To ensure stability, the tightness of the rotating axis has been preset, so it would be kind of difficult to rotate the VESA plate.
Suggestion: Please attach the monitor first, then hold the two sides of it with both hands, and rotate vigorously. If that doesn’t work out, please do not hesitate to ask for our help via Amazon.
Manage tools and cables

This cable clip also can take in the Allen keys
Set the desired angle of the monitor

Swivel

Product dimensions










