American Express MS-02N-US2.0 Dual Monitor Desk Mount

Dual Monitor Desk Mount
The Dual Monitor Desk Mount is a versatile mounting solution for your monitors. It is compatible with monitors that have VESA mounting patterns of 75x75mm or 100x100mm. The mount can accommodate monitors ranging from 13 to 32 inches in size, with a
maximum weight of 19.8 lbs (9kg) for each arm. The mount is designed to be installed on desks with a thickness of 10 to 50mm (0.39 to 1.97 inches).
Must Check Before Installation
- Check if your monitor has a VESA mounting pattern of 75x75mm or 100x100mm. If not, the mount is not compatible.
- Check if the weight of your monitor (including accessories) is less than 19.8 lbs (9kg) for each arm. If not, the mount is not compatible.
- Check if your desk thickness is between 10 to 50mm (0.39 to 1.97 inches). If not, the mount is not compatible.
If the mount is not compatible with your setup, please contact our customer service for assistance in finding a compatible mount.
WARNING!
Improper installation may cause damage or serious injury. Do not use this product for any purpose that is not explicitly specified in this manual. We cannot be liable for damage or injury caused by improper mounting, incorrect assembly, or inappropriate use. This
product contains small items that could be a choking hazard if swallowed. Not for children under 3 years. Adult supervision is required.
Supplied Parts List
- Pole (x1)
- Pad (x1)
- Swivel Arm (x1)
- VESA Plate (x2)
- Clamp (x1)
- Nut M6 (x2)
- Bolt M6mm (x2)
- Spacer L10mm (x8)
- Wire Clip F1 (x1)
- Wire Clip F2 (x4)
- Allen Key 6mm (x1)
- Allen Key 5mm (x1)
- Allen Key 3mm (x1)
Note: Not all hardware included will be used.
Assembly Steps
STEP 1: Apply the Pad to the Pole BottomApply the pad to the bottom of the pole to avoid desk scratches.
STEP 2: Clamp Installation OR Grommet Base Installation
OPTION A: Clamp Installation
- Mount the clamp to the bottom of the pole by tightening the bolts with the 5mm Allen Key.
- Adjust the clamp width to fit your desk and securely tighten the clamp to the desktop.
OPTION B: Grommet Base Installation
- If your desk has a grommet hole, remove any plastic protector and position the pole on the mounting surface.
- Secure the pole by tightening the plastic knob after passing the bolt through the bracket, desk hole, and bottom of the pole.
STEP 2: Install Arm to the Pole
- Attach the wire clip and swivel arm to the pole.
- Fasten the bolt with the supplied Allen Key (6mm).
- Attach the wire clip to the swivel arm.
STEP 3: Attach the VESA Plate to the Monitor
Attach the VESA plate to your monitor, depending on whether it has a flat back or a curved/recessed back.
STEP 4: Slide the Monitor onto the Head of the Swivel Arm
Slide the monitor onto the head of the swivel arm and secure it with the security nut. Make sure to install the security nut before rotating the monitor.
STEP 5: Make Necessary Adjustments
Tighten the bolt with the supplied Allen Key (5mm) to fix the tilt angle of the monitor.
If you have any questions, please feel free to contact us via Amazon.
Must Check Before Installation
- Is your monitor VESA 75×75mm/3×3″ or 100×100mm/4×4″?

- Is the weight of your monitor (including accessories) less than 19.8 lbs (9kg) on each arm?

- Is your desk thickness 10~50mm (0.39~1.97”)?

If this mount is NOT compatible, please contact our customer service to find a compatible mount.
WARNING!
Improper installation may cause damage or serious injury. Do not use this product for any purpose that is not explicitly specified in this manual. We cannot be liable for damage or injury caused by improper mounting, incorrect assembly or inappropriate use.
This product contains small items that could be a choking hazard if swallowed. NOT FOR CHILDREN UNDER 3 YEARS. ADULT SUPERVISION IS REQUIRED.
Supplied Parts List

ASSEMBLY STEPS
Warm Tips You could also refer to the Video Guide about installation on our product page.
STEP 1:
Apply Pad to the Pole Bottom (a) bottom to avoid desk scratches.

STEP 2: Clamp Installation OR Grommet Base Installation

OPTION A: Clamp Installation
- Mount Clamp (d) to the bottom of Pole (a) by tightening bolts (B) with 5mm Allen Key (G).
- Adjust the Clamp width to fit your desk. Secure the stand to the desktop by tightening Clamp (d).
STEP 2: (Continued) OPTION B: Grommet Base Installation
- If the existing grommet hole comes with a plastic protector, remove it to ensure a flat surface before installing the desk mount.
- Detach Bracket (d1) and Bolt Y (d2) from Clamp (d).
- Position pole (a) on the mounting surface and then secure it by tightening the plastic knob after making Bolt Y (d2) through the Bracket (d1), desk hole, and the bottom of Pole (a) sequentially.

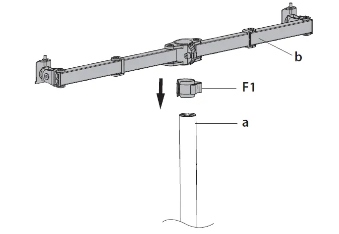
STEP 2: Install Arm to the Pole
- Install Wire Clip (F1) and Swivel Arm (b) to the Pole (a).
- Fasten the bolt with supplied Allen Key (G 6mm).
- Attach the Wire Clip (F2) to the Swivel Arm (b).
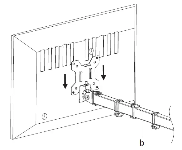
STEP 3: Attach the VESA Plate to the Monitor

OPTION A: Flat Back Monitor
Attach the VESA plate (c) to the monitor with M4×12 bolts (D).
NOTE: Hand-tighten screws to avoid over-tightening.

OPTION B: Curved or Recessed Back Monitor

Attach the VESA plate (c) to the monitor with M4×30 bolts (C) and M4 spacers (E). NOTE: Hand-tighten screws to avoid over-tightening.

STEP 4: Slide the Monitor onto the Head of the Swivel Arm

Install the security Nut (A)
Make sure the security nut is installed before you rotate the monitor.

STEP 5: (Continued)STEP 5: Make the Necessary Adjustments

Fix the tilt angle
Tighten the bolt with the supplied Allen Key (G 5mm) to fix the tilt angle.

Note: When tilted, if the monitor sags or does not stay, and if the above method is useless, please feel free to Fix the tilt angle and contact our customer service.
Fix the swivel angle
Use the supplied Allen Key (G 5mm) to make the necessary adjustments. Ignore this step if the arm joint has screwed to the proper tightness.

STEP 6: Adjust the Level of Monitor and Manage the Wires
For minor height adjustment, remove the Nut (A) and turn the bolt with the supplied Allen key (G 3mm) to raise or lower the monitor. Install the Nut(A) after the adjustment.

Ignore this step if monitors are level
Manage the wires and store the Allen keys (G 6mm, G 5mm, G 3mm) in Wire Clip (F1) for future use.

Product Dimensions

CAUTION AND MAINTENANCE
- Never allow children to climb, stand, hang, or play on any part of the monitor or stand.
- This product is intended for indoor use only. Using this product outdoors could lead to product failure and personal injury.
- Check that the bracket is secure and safe to use at regular intervals (at least every three months).

















