MOUNTUP MU0002#17 Dual Monitor Desk Mount

If you have any questions, please feel free to contact our customer service via Amazon.
Must Check Before Installation
- Is your monitor VESA 75×75mm/3×3″ or 100×100mm/4×4″?

- Is the weight of your monitor (including accessories) less than 19.8 lbs (9kg) each arm?

- Is your desk thickness 10~50mm (0.39~1.97”)?

If this mount is NOT compatible, please contact our customer service to find a compatible mount.
WARNING!
Improper installation may cause damage or serious injury. Do not use this product for any purpose that is not explicitly specified in this manual. We cannot be liable for damage or injury caused by improper mounting, incorrect assembly or inappropriate use. This product contains small items that could be a choking hazard if swallowed. NOT FOR CHILDREN UNDER 3 YEARS. ADULT SUPERVISION IS REQUIRED.
Supplied Parts List

NOTE: Not all hardware included will be used.
ASSEMBLY STEPS
Warm Tips You could also refer to the Video Guide about installation on our product page.
STEP 1: Apply Pad to the Pole Bottom
- Apply pad (e) to the Pole (a) bottom to avoid desk scratches.

STEP 2: Clamp Installation OR Grommet Base Installation
OPTION A: Clamp Installation
- Mount Clamp (d) to the bottom of Pole (a) by tightening bolts (B) with 5mm Allen Key (G).
- Adjust the Clamp width to fit your desk. Secure stand to the desktop by tightening Clamp (d).

STEP 2: (Continued)
OPTION B: Grommet Base Installation
- If existing grommet hole comes with a plastic protector, remove it to ensure a fiat surface before installing the desk mount.
- Detach Bracket (d1) and Bolt Y (d2) from Clamp (d).

- Position pole (a) on the mounting surface and then secure it by tightening the plastic knob after making Bolt Y (d2) through the Bracket (d1), desk hole, and the bottom of Pole (a) sequentially.

STEP 2: Install Arm to the Pole
- Install Wire Clip (F1) and Swivel Arm (b) to the Pole (a).

- Fasten the bolt with supplied Allen Key (G 6mm).
- Attach the Wire Clip (F2) to the Swivel Arm (b).

STEP 3: Attach the VESA Plate to the Monitor
OPTION A: Flat Back Monitor Attach the VESA plate (c) to the monitor with M4×12 bolts (D).
NOTE: Hand tighten screws to avoid over tightening.
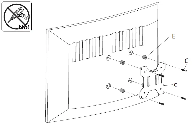
OPTION B: Curved or Recessed Back Monitor Attach the VESA plate (c) to the monitor with M4×30 bolts (C) and M4 spacers (E).
NOTE: Hand tighten screws to avoid over tightening.
STEP 4: Slide the Monitor onto the Head of Swivel Arm
- Slide the monitor onto the head of Swivel Arm (b) as shown in diagram.

- Install the security Nut (A). Make sure the security nut is installed before you rotate the monitor.

STEP5: Make (Cakoen ttihneu Nede)cessary Adjustments
Fix the tilt angle
- Tighten the bolt with the supplied Allen Key (G 5mm) to fix the tilt angle.

Fix the swivel angle
Use the supplied Allen Key (G 5mm) to make the necessary adjustments. Ignore this step if the arm joint has screwed to the proper tightness.
STEP 6: Adjust the Level of Monitor and Manage the Wires
- For minor height adjustment, remove the Nut (A) and turn the bolt with the supplied Allen key (G 3mm) to raise or lower the monitor. Install the Nut(A) after the adjustment.

- Manage the wires and store the Allen keys (G 6mm, G 5mm, G 3mm) in Wire Clip (F1) for future use.

Product Dimensions

CAUTION AND MAINTENANCE
- Never allow children to climb, stand, hang, or play on any part of monitor or stand.
- This product is intended for indoor use only. Using this product outdoors could lead to product failure and personal injury.
- Check that the bracket is secure and safe to use at regular intervals (at least every three months).



























