Single Monitor Counterbalance Desk Mount
Instruction Manual

![]()
If you have any questions , please contact us.
MU0022 Single Monitor Counterbalance Desk Mount
WARNING!
If you do not understand these instructions or have doubts about the safety of the installation, assembly or use of this product, please contact us.
Before starting assembly, verify all parts are included and undamaged. Improper installation may cause damage or serious injury. Do not use this product for any purpose that is not explicitly specified in this manual. Do not exceed weight capacity. We cannot be liable for damage or injury caused by improper mounting, incorrect assembly or inappropriate use.
This product contains small items that could be a choking hazard if swallowed. NOT FOR CHILDREN UNDER 3 YEARS.
ADULT SUPERVISION IS REQUIRED.
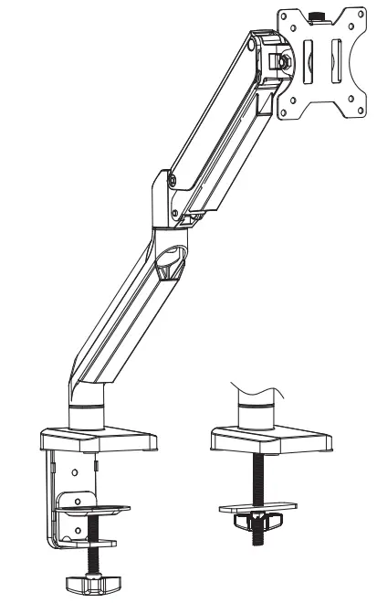
PACKAGE CONTENTS

DO NOT EXCEED WEIGHT CAPACITY.
ASSEMBLY STEPS
STEP 1: Choose a mounting option
OPTION A: Clamp Installation
Mount clamp base support (C) to monitor stand (A) with Bolts (J). Bolts could be tightened by the 4mm Allen Key (M), then Apply pads (L) to the monitor stand (A) bottom to avoid desk scratches.

Attach Clamp (D) to clamp base support (C) with Bolts (J) and 4mm Allen Key (M).

Adjust the Clamp width to fit with desk. Secure stand to desktop by tightening Clamp (D) or by Allen key (N). Attach base support cover (E) to clamp base support (C).

STEP 1: (Continued)
OPTION B: Grommet Base Installation
Place long screw (F) through the center of base support (G).
Mount grommet base to monitor stand (A) Bottom with Bolts (J) and tighten by 4mm allen key (M).
Apply pads (L) to the monitor stand (A) bottom to avoid desk scratches.

Run long screw (F) through grommet hole on desktop. Attach support plate (H) and wingnut (K). Last step, tighten Wingnut (K).

STEP 2: Attach the monitors to the arm
OPTION A: Flat Back Monitor
Attach the VESA plate (B) to back of monitor and secure with screws (M-A) or (M-C) with washers (M-E) using 6mm Allen key(N). Do not tighten the screws excessively or your monitor might be damaged.
![]()

OPTION B: Curved Back Monitor
Attach the VESA plate (B) to back of monitor and secure with screws (M-B) or ((M-D) with washers (M-E) and spacers (M-F) using 6mm Allen key(N). Do not tighten the screws excessively or your monitor might be damaged.
![]()

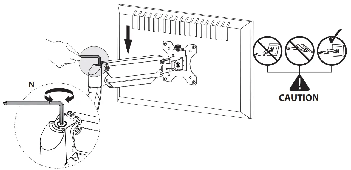
STEP 3: Hang Monitor
Slide the monitor onto the head of swivel arm, install the security screw (I). Make sure the security screw is installed before you rotate the monitor.

Important Notice:
The gas spring tension is pre-set to the weakest level by default, please hold your monitor by both hands and do not let go so soon after the VESA plate is attached to the swivel arm. It’s suggested to loose hold of the monitor in a slow & gentle way while observing if the gas spring arm falls down greatly.
Refer to below illustrations to adjust tilting angle of your monitor.

Note:
- Loosen the tilting bolt.
- Adjust monitor to your desired tilting angle.
- Retighten the tilting bolt to fix the tilting angle.
STEP 4: Adjust the tension
For proper functioning of this mount, depending on different weight of monitor you might need to adjust tension in upper arm using 6 mm allen key (N).

Note1:
Be sure to keep the arm in horizontal position during adjustment.

After being attached to the arm, the monitor falls down and can not stay at the desired height by itself.
Turn counter-clockwise(“+”direction) to increase gas spring tension until the monitor can stay at the desired height by itself.
After being attached to the arm, the monitor rises up and can not stay at the desired height by itself.
Turn clockwise(“-”direction) to reduce gas spring tension until the monitor can stay at the desired height by itself.
Note2:
As for how many circles the screw should be turned, the table below is for reference.
| Monitor Weight | 1.5kg | 3kg | 4kg | 5kg | 6kg | 7kg | 8kg |
| Circles (AT LEAST) | min | 3 | 4 | 6 | 8 | 10 | 12 |
STEP 5: Cable Management
For both bottom and upper portion of the arm, just slide the cable cover up and away from the arm, do not need to take much effort to pull the ends of the cable cover away from the arm.

STEP 5: (Continued)
On the bottom portion of the arm, insert the cable and slide the cable cover down; On the upper portion of the arm, insert the cable and press the tabs on the inside of the cable cover slightly inward and slide down to reattach the cable cover.

Adjust as Desired
Allen key (M,N) can be stored in Base Support Cover(E) for next time using.
Note:
When tilted, if the monitor sags or does not stay, please fasten the tilting bolt on the mount until the monitor can be held at any angle as needed.

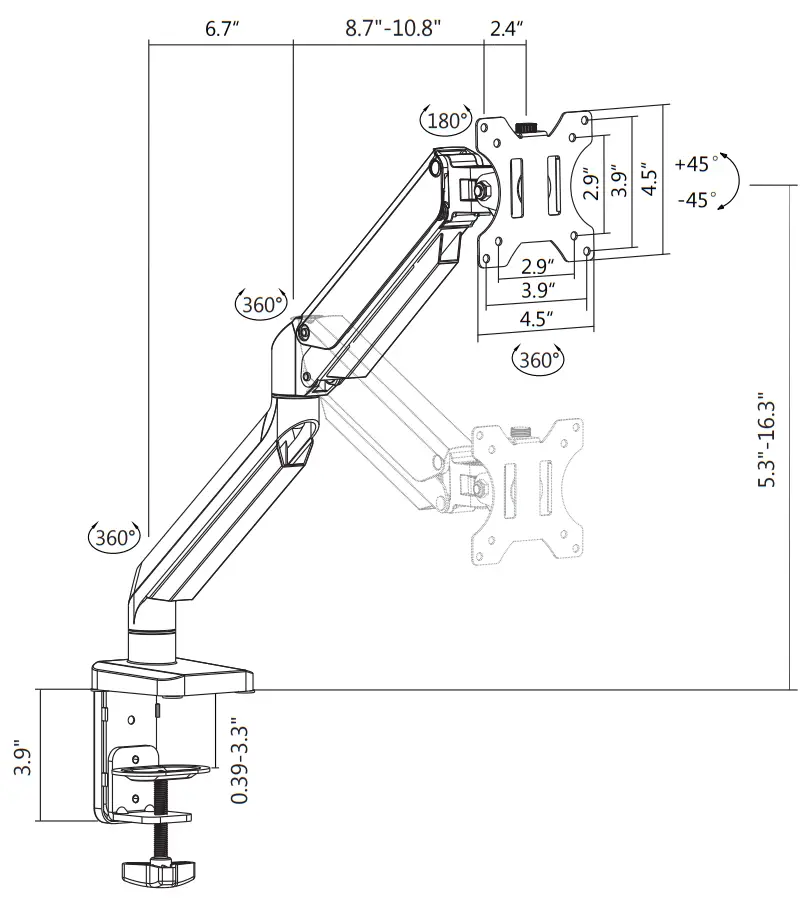
Product Dimensions

CAUTION AND MAINTENANCE:
- Never allow children to climb, stand, hang, or play on any part of monitor or stand.
- This product is intended for indoor use only. Using this product outdoors could lead to product failure and personal injury.
- Check that the bracket is secure and safe to use at regular intervals (at least every three months).
If you have any questions, please contact us.











