MOUNTUP MU2001 Polished Aluminium Single Monitor Wall Mount

WARNING
- If you have any confusions or are not quite sure about the installation, please do not hesitate to ask for our help.
- Before assembly, please check and make sure all necessary accessories are included and undamaged. Improper installation, such as use the product for monitors over its load capacity or for any purpose not explicitly specified, may cause damage or serious injury. We would not be liable for any damage or injury caused by improper mounting or inappropriate use.
- The kit contains small items that could be choking hazards if swallowed. Please keep them OUT OF REACH OF CHILDREN UNDER 3 YEARS OLD. ADULT SUPERVISION IS REQUIRED.
PACKAGE CONTENTS
NOTE: Not all hardware included will be used
Installation Tools
ASSEMBLY STEPS
STEP 1: Attach Arm Assembly to Wall
OPTION A: Wood Stud Installation
Locate your studs. Verify and mark the center of the stud by finding the stud edges using awl and stud finder.
Position the Arm Assembly (A) at your desired height and line up the holes with your stud center line. Level the Arm Assembly (A) and mark the pilot hole locations.
Drill pilot holes using a o3/16 in. (04.5 mm) diameter drill bit.
Caution:
Do not use anchor in drywall or wood!
Install Arm Assembly (A) using lag bolts (W-A) and washers (W-C). Tighten the lag bolts until they are pulled firmly against the Arm Assembly (A).
OPTION B: Solid Concrete Wall Installation
Position the Arm Assembly (A) at your desired height , level the Arm Assembly (A) and mark the pilot hole locations.
Drill pilot holes using a ø3/8 in. (ø10 mm) diameter drill bit
Install Arm Assembly (A) using lag bolts (W-A), anchors (W-B) and washers (W-C). Tighten the lag bolts the Arm Assembly (A
STEP 2: Attach Decorative Cover
Attach Decorative Covers (D) to Lag Bolts (W-A).
STEP 3 : Attach Monitor
OPTION A: Flat Back Monitor
Attach the VESA plate (B) to back of monitor and secure with screws(M-A)or(M-) with washers(M-E) using 6 mm Allen Key (E). Do not tighten the screws excessively or your monitor might be damaged.
OPTION B: Curved Back Monitor
Attach the VESA plate (B) to back of monitor and secure with screws (M-B) or (M-D) with washers (M-E)and washers(M-Fjusing 6 mm Allen Key (E). Do not tighten the screws excessively or your monitor might be damaged.
NOTE: Hand tighten screws to avoid over-tightening.
STEP 4: Hang Monitor
Slide the monitor onto the head of swivel arm, install the security bolt (C). Make sure the security bolt is installed before you rotate the monitor
Important Notice:
The gas spring is pre-set to minimum tension. Once the monitor is hanged on, hold the monitor with both hands and DO NOT let go suddenly or immediately. Instead, leave the monitor in a slow & gentle way while observing whether the arms will fall down wildly.
Guideline to adjust monitor tilting angle
- Problem:
- If monitor face down
- Solution:
- Loosen the tilting bolt.
- Hold the bottom of monitor with one hand and adjust to determine your desired tilt angle.
- Retighten the tilting bolt to fix the intended angle.
STEP 5: Adjust Tension
For the intended functioning of the mount, you may need to adjust the tension of Upper Arm (A) in accordance with your monitor weight by 6 mm Allen Key (E).
Note:
Be sure to keep the arm in a horizontal position during adjustment. Or else it would be difficult to adjust the mount or damage the mount.
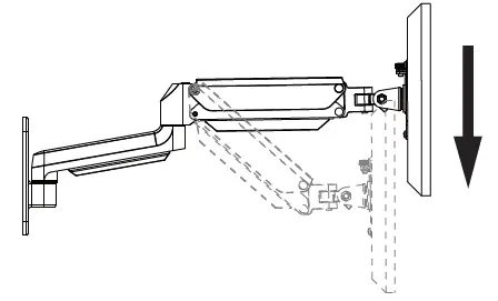
Situation 1: Arm falls down
Upper Arm with the monitor falls down and fails to stay where intended.
Solution:
Turn the inside screw counterclockwise(“+” direction) to increase gas spring tension until the arm can stay as intended.
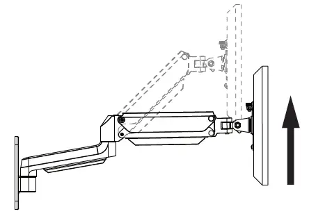
Situation 2: Arm rises up
Upper Arm with monitor rises up and fails to stay where intended.
Solution:
Turn the inside screw clockwise(“-” direction) to decrease gas spring tension until the arm can stay as intended.
Note2:
As for how many circles the screw should be turned, the table below is for reference
| Monitor Weight | 1.5kg | 3kg | 4kg | 5kg | 6kg | 7kg | 8kg |
| Circles (AT LEAST) | min | 3 | 4 | 6 | 8 | 10 | 12 |
STEP 6: Cable Management
Attach Cable Cover
- For lower arm: Insert the cable and slide the cable cover down;
- For upper arm: Insert the cable and press the tabs on the inside of the cable cover slightly inward and slide down to reattach the cable cover.

Adjust as Desired
Adjust monitor position and rotation.
- Tilt
- Swivel
- Rotation
- Height

Note: To ensure stability, the tightness of the rotating axis has been preset, so it would be kind of difficult to rotate the VESA plate.
Suggestion: Please attach the monitor first, then hold the two sides of ft with both hands, and rotate vigorously. If that doesn’t work out, please do not hesitate to ask for our help.
Product Dimensions
CAUTION AND MAINTENANCE
- Never allow children to climb, stand, hang, or play on any part of monitor or stand.
- This product is intended for indoor use only. Using this product outdoors could lead to product failure and personal injury.
- Check that the bracket is secure and safe to use at regular intervals (at least every three months).














