StarTech FPPNEUSTND Single Monitor Stand

Safety Statements
- Safety Measures Product installation and/or mounting should be completed by a certified professional as per the local safety and building code guidelines.
Product Diagram
Front View
Front View

Product Information
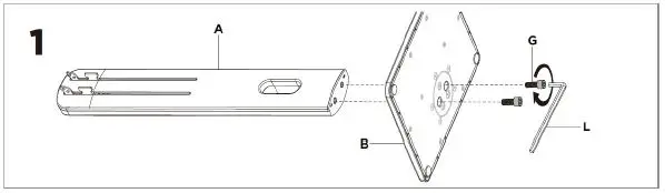
Package Contents
Note: The following images are not to scale.
Requirements
For the latest requirements, please visit www.startech.com/FPPNEUSTND
Technical Specifications


Installation
Note: Do not overtighten any of the screws. Pinch hazards! Keep hands away from any pinch points created by the mechanical components when lowering or raising the display. Failure to do so may result in serious personal injury.
Attach the Base

Attach the Lever
Stored Energy Hazard! This product contains a spring mechanism which can result in the product components and/or display moving forcibly and quickly upwards when actuated. Follow the provided instructions and always exercise caution when actuating the handle. When adjusting the height of the display, always support or handle the display with both hands (as shown on page 9) to safely control the raising or lowering of the display. Failure to do so may result in property damage and/or serious personal injury. Do not operate the handle prior to Step 4 of the installation procedure.
Attach the Display

Operation
Adjust the Height, Rotation, Tilt, and Swivel of the Display
Warranty Information
This product is backed by a five-year warranty. For further information on product warranty terms and conditions, please refer to www.startech.com/warranty.
Limitation of Liability
In no event shall the liability of StarTech.com Ltd. and StarTech.com USA LLP (or their officers, directors, employees or agents) for any damages (whether direct or indirect, special, punitive, incidental, consequential, or otherwise), loss of profits, loss of business, or any pecuniary loss, arising out of or related to the use of the product exceed the actual price paid for the product. Some states do not allow the exclusion or limitation of incidental or consequential damages. If such laws apply, the limitations or exclusions contained in this statement may not apply to you.
Hard-to-find made easy. At StarTech.com, that isn’t a slogan. It’s a promise.
StarTech.com is your one-stop source for every connectivity part you need. From the latest technology to legacy products — and all the parts that bridge the old and new — we can help you find the parts that connect your solutions.
We make it easy to locate the parts, and we quickly deliver them wherever they need to go. Just talk to one of our tech advisors or visit our website. You’ll be connected to the products you need in no time.
Visit www.startech.com for complete information on all StarTech.com products and to access exclusive resources and time-saving tools.
StarTech.com is an ISO 9001 Registered manufacturer of connectivity and technology parts. StarTech.com was founded in 1985 and has operations in the United States, Canada, the United Kingdom, and Taiwan servicing a worldwide market.
Reviews Share your experiences using StarTech.com products, including product applications and setup, what you love about the products, and areas for improvement.
















