Instruction Manual
Keycode: 43244058
RGB Monitor Stand
43244058 RGB Monitor Stand
Please read all the information carefully before you use the product and keep the manual for future reference.
*NOTE: The product is used for data transmission. Please do not use for charging mobile phone or other devices.
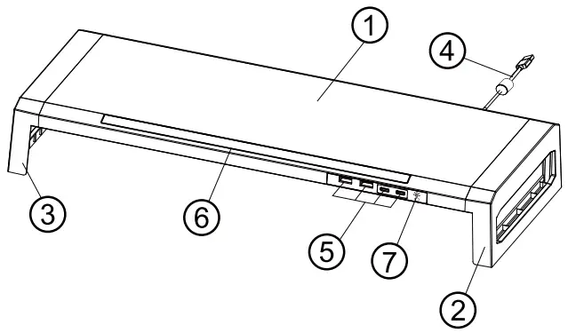
Product Overview
- Computer platform panel
- Computer platform stand
- Computer platform stand
- USB Cable
- Hub: 2*USB2.0 ports+2*Type-C ports
- LED Colorful light panel
- LED Light touch control switch

Stand Specification
Hub: 2*USB2.0 ports+2*type C ports
USBInput: 5V,1.2A(Max)
USB Cable Length: 1.0m
Dimensions: 52.3*20*8cm
Product weight: 810g±20g
Data transfer speed: Up to 12MPS
Installation
- Put the stand onto the back of the panel as the position below and make sure the stands are in correct positions.

- Pull the stands into the back of the platform and make sure the stand locks into place.

- The installation is completed and you can start to use the computer Platform.
Connecting the stand Insert the stand USB cable into the USB ports of the computer, the stand will connect automatically and can be used for data transmission.
*Note:
- If you use a desktop computer, please plug it into the USB ports on the back of the computer case instead of the USB ports on the front.
- If the unit is irresponsive after being plugged into the computer, please restart the computer and try again.
Product Features
- 4 IN 1 USB hub
The stand built in 2 USB 2.0 ports and 2 Type-C ports, which solves the problem of insufficient interfaces. It can be more convenient to connect the mouse, keyboard, etc.
*NOTE: The product is used for data transmission. Please do not use for charging mobile phone or other devices. - Adjustable RGB light
4 kinds of RGB light effect can be adjusted by “LED Light touch control switch”. (Colorful streaming mode/ Neon mode/ 7 colors breathing mode/ LED OFF) - Ergonomic Design
The stand can raise your computer screen up to 8cm. The scientific visual height allows you to avoid bending over, correct sitting posture, can effectively relieve neck and back fatigue. - Improve desktop cleanliness
You have more space to use by raising the monitor, which can help you organize the clutter on the desktop and keep the desktop tidy. - Application
This stand can use as screen riser for desktops, printer stand, computer stand, laptop stand…etc
Caution
Please handle the platform with care. Do not drop or press down on the computer platform with excessive force. Do not disassemble or repair the unit by yourself.




















