Amazonbasics B00MIBN71I Dual Monitor Stand

IMPORTANT SAFEGUARDS
Read these instructions carefully and retain them for future use. If this product is passed to a third party, then these \g instructions must be included.
When using the product, basic safety precautions should always be followed to reduce the risk of injury including the following:
- This product can be used by children aged from 8 years and above and persons with reduced physical, sensory or mental capabilities or lack of experience and knowledge if they have been given supervision or instruction concerning use of the appliance in a safe way and understand the hazards involved. Children shall not play with the product.
- Cleaning and user maintenance shall not be made by children without supervision.
- You will have to adjust this product after installation is complete.
- Do not exceed maximum listed weight capacity of 25 lbs (11.3 kg) for each display. Serious injury or property damage may occur.
- Because mounting surface materials can vary widely, it is imperative that you make sure mounting surface is strong enough to handle mounted product and equipment.
- Ideal distance between the viewer and the display depends upon the location and set up of the product. Adjust the distance to no less than 450mm and no more than 800mm from the viewer, based on comfort and ease of viewing.
IMPORTANT, RETAIN FOR FUTURE REFERENCE: READ CAREFULLY
Before First Use
Check for transport damages. Risk of suffocation! Keep any packaging materials away from children – these materials are a potential source of danger, e.g. suffocation.
Cleaning and Maintenance
Cleaning
- To clean, wipe with a soft, slightly moist cloth.
- Never use corrosive detergents, wire brushes, abrasive scourers, metal or sharp utensils to clean the product.
Maintenance
- Store in a cool and dry place away from children and pets, ideally in original packaging.
- Avoid any vibrations and shocks.
- Check the components regularly to make sure all screws and bolts are tightened.
Warranty Information
To obtain a copy of the warranty for this product:
US: amazon.com/Amazon Basics/Warranty UK: amazon.co.uk/basics-warranty
US: +1-866-216-1072 UK: +44 (0) 800-279-7234
Contents
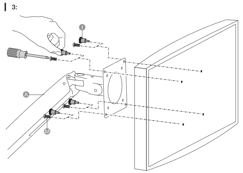
Assembly

Determine the orientation of a monitor
You can mount a monitor in a locked portrait or landscape orientation, or you can leave a monitor free to rotate 360°.
If you want the monitor to rotate freely, do not insert the M3 x 6 mm screw.
NOTICE
If you want to change a monitor’s orientation after you mount the monitor to the upper arm, you need to remove the monitor from the upper arm and insert or remove the M3 x 6 mm screw.
The arm mechanism is under tension and will move up rapidly, on its own, as soon as the attached equipment is removed. For this reason, do not remove equipment unless the arm has been moved to the highest position! Failure to follow this instruction may result in serious personal injury and/or equipment damage.





















