SIEMENS GDE131.1U OpenAir Electronic Damper Actuator GDE/GLB Rotary Non-spring Return

Product Description
Steps for direct-coupled mounting of the OpenAir GDE/GLB Series non-spring return rotary electronic damper actuator.

- a. Actuator
- b. Position indicator
- c. Mounting bracket
- d. Mounting screws
- e. 4 mm hex key
- f. Shaft insert for use with 3/8-inch (8-10 mm) shafts
Product Numbers

Required Tools
- 4 mm hex wrench
- 4 mm (5/32-inch) drill bit and drill
- Small, flat-blade screwdriver
- Marker or pencil
Estimated Installation Time
- 30 minutes
Warning/Caution Notations
WARNING
Personal injury or loss of life may occur if you do not follow a procedure as specified.
CAUTION
Equipment damage or loss of data may occur if you do not follow a procedure as specified.
Instructions
WARNING: Do not open the actuator.
NOTE: Place the actuator on the damper shaft so that the front of the actuator is accessible. The label is on the front side.
- Determine whether the damper blades will rotate clockwise or counterclockwise to open. See Figure 2.

- If the blades will rotate counterclockwise, slide the manual override switch to manual, and move the adjustment lever to the right. Return the switch to automatic. See Figure 9.

To mount a (modulating) GDE/GLB16x, set the Dual In-line Package (DIP) switches to the required positions.
- To access the DIP switches, raise the tab on the lower left side of the actuator. See Figure 2. The factory setting is clockwise (middle switch), with a direct-acting feedback signal (right switch).

- Close the tab over the DIP switches.
To mount a (3-position) GDE/GLB13x for counterclockwise rotation, follow the Counterclockwise Damper Rotation instructions located in the Wiring Diagrams section when wiring the actuator to the controller.
NOTE: For DIP switch setting options, see the Technical Instructions EA GDE/GLB-1 (155-187P25).
Mounting and Installation
NOTE: The GDE/GLB actuator comes with a factory installed 1/2-inch shaft guide. If shaft size is 1/2-inch, proceed with Figure 6.
When using a 3/8-inch shaft: Remove factory installed 1/2-inch guide. See Figure 3.
- A 3/8-inch shaft adapter is provided in actuator package.

- Hold the shaft insert so that the raised tabs are inserted last when placing the insert into the back of the actuator.
- Proceed to Figure 6.

When using a 5/8-inch shaft:
- Remove factory installed 1/2-inch guide. See Figure 3.

- Mount actuator to shaft per Figure 6.


Manual Override
To move the damper blades and lock the position with no power present, do the following:
- Slide the red manual override knob toward the back of the actuator. See figure 9.

- Make adjustments to the damper position.
- Slide the red manual override knob toward the front of the actuator.
Dual Auxiliary Switch Setting For GDE/GLB 136x, GDE/GLB164x and GDE/GLB166x only.
Factory setting: A = 5° B = 85° Use a flat-blade screwdriver to adjust the A switch. The long arm of the † points to the setting. Manually turn the red ring of the B switch. The narrower tab on the ring points to the setting. See Figure 10.

The auxiliary switch setting shafts rotate with the actuator
NOTE: The scale is valid only when the actuator is in the “0” position on clockwise motion.
Mechanical Range Adjustment

- Loosen the stop set screw.
- Move it along the track to the desired position, and fasten it in place.
Mechanical Range Limitation and Self–adapt Feature
- To use the entire 0 to 10V input signal to control the adjusted range, raise the tab located on the lower left-hand side of the actuator and locate the DIP switches. See Figure 12.

- Set the self-adapt DIP switch to
(ON). - Close the tab over the DIP switches.
For example, if you set the locking screw at 70° and turn the self-adapt switch ON, a 5V input signal will drive the damper to 35° (50% of its adjusted range).
CAUTION:
When turning the self-adaptive feature on, or after software reset with the feature on, the actuator will enter a five-minute calibration cycle as the actuator adjusts to the rotation limits of the system. The software reset happens after power on, or may be caused by electrostatic discharge (ESD) at levels of 2 kV and above.
Slope (span) and Offset adjustment For GDE/GLB163x and GDE/GLB164x only
- Factory setting:
- Slope (span) U 10
- Offset Uo = 0
- Use a flat-blade screwdriver to
- make adjustments. The long arm of
- the † points to the setting.

Wiring
All wiring must conform to NEC and local codes and regulations. Use earth ground isolating step-down Class 2 transformers. Do not use autotransformers. Determine the supply transformer rating by summing total VA of all actuators used. It is recommended that one transformer power no more than 10 actuators.
Installations requiring Conformance
- All wiring for CE rated actuators must only be separated extra low voltage (SELV) or protective extra low voltage (PELV) per HD384-4-41.
- Use safety-isolating transformers (Class III transformer) per EN 61558. They must be rated for 100% duty cycle.
- Overcurrent protection for supply lines is maximum 10A.
Wiring Diagrams
Counterclockwise Damper Rotation of GDE/GLB13x
If the damper blades turn counterclockwise to open (CCW), reverse the 6 (violet) and 7 (orange) wires at the controller.
CAUTION:
Do not wire different types of actuators (such as GBB or GIB actuators) in parallel with these models.
NOTE: (For GDE/GLB floating control actuator series only) To prolong actuator life, use a controller and/or software that provide a time-out function. This function removes the actuator drive signal after the signal has been on for a predefined time.
GDE/GLB13x, Continued
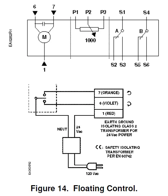
Each wire has the standard symbol printed on it. See Table 1. 24 Vac Power Supply Floating Control.

Each wire has the standard symbol printed on it. See Table 2.
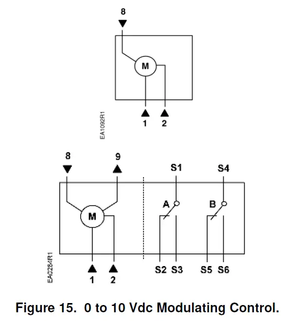
GDE/GLB16x
24 Vac Power Supply, Modulating Control
Table 1. 3-position Control 24 Vac

Table 2. Modulating Control.

Factory installed options

Retrofit Wiring

NOTE: MN7510 Series is not available precabled. Numbers listed associate with terminal positions.
M9109 Series is not available precabled. Numbers listed associate with terminal positions.

NOTE: MN6110 Series is not available precabled. Numbers listed associate with terminal positions.
M9109 Series is not available precabled. Numbers listed associate with terminal positions.
References
- EA GDE/GLB-1 155-187P25
- OpenAir Electronic Damper Actuators
- GDE/GLB Series Non-spring Return Rotary
- 24 Vac Modulating Control
- EA GDE/GLB-2 155-188P25
- OpenAir Electronic Damper Actuators
- GDE/GLB Series Non-spring Return Rotary
- 24 Vac Three-Position Control
Dimensions

Information in this publication is based on current specifications. The company reserves the right to make changes in specifications and models as design improvements are introduced. OpenAir is a registered trademark of Siemens Schweiz, AG. Product or company names mentioned herein may be the trademarks of their respective owners. © 2021 Siemens Industry, Inc.
Siemens Industry, Inc.
Smart Infrastructure 1000 Deerfield Parkway Buffalo Grove, IL 60089 USA + 1 847-215-1000 Your feedback is important to us. If you have
comments about this document, please send them to [email protected]

























