MTN647091 Space Logic KNX Control unit 0-10 V REG-K/1-gang with manual mode
Instruction Manual
MTN647091 Space Logic KNX Control unit 0-10 V REG-K/1-gang with manual mode
SpaceLogic KNX Control unit 0-10 V REG-K/1-gang with manual mode
Art. no. MTN647091
For your safety
![]()
DANGER
HAZARD OF ELECTRIC SHOCK, EXPLOSION, OR ARC FLASH
The safe electrical installation must be carried out only by skilled professionals. Skilled professionals must prove profound knowledge in the following areas:
- Connecting to installation networks
- Connecting several electrical devices
- Laying electric cables
- Connecting and establishing KNX networks
- Safety standards, local wiring rules, and regulations
Failure to follow these instructions will result in death or serious injury.
CAUTION
The device may be damaged!
- Always operate the product in compliance with the specified technical data.
- Only install devices with at least basic insulation next to the device.
Failure to follow these instructions can result in equipment damage.
Getting to know the control unit
The control unit 0-10 V REG-K/1-gang with manual mode (referred to below as control unit) dims and switches fluorescent lamps using electronic ballasts with a 0-10 V/1-10 V interface and LV halogen lamps using transformers with a 0-10 V/1-10 V interface.
The control voltage range can be set with the ETS via a parameter.
You can also manually switch the connected loads with the manual switch on the control unit without bus voltage.
The control unit has a bus coupler. It is installed on a DIN rail TH 35 according to EN 60715, with the bus connection made via a bus connecting terminal.
A data rail is not required.
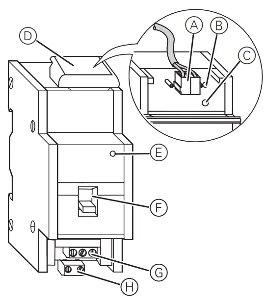
Connections, displays, and operating elements
A Bus connecting terminal
B Programming-LED (red)
C Programmer button
D Cable cover
E Operating-LED „RUN“ (green)
F Manual switch
G Channel terminals for load voltage
H Outputs 1–10 V
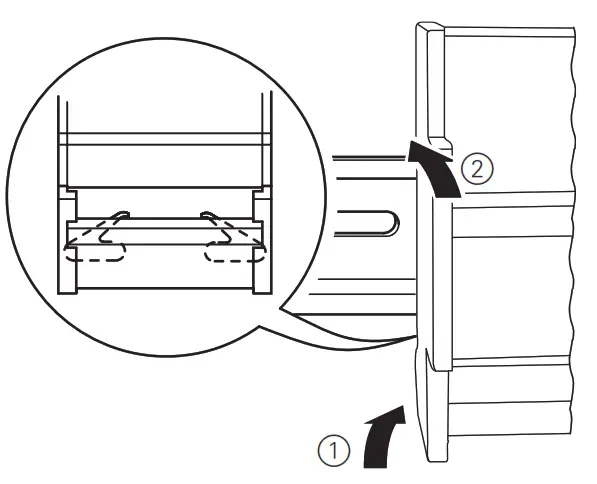
Mounting the control unit
- Set the control unit onto the DIN rail.

- Connect KNX.
WARNING
Risk of death from electric shock. The device can become damaged. Safety clearance must be guaranteed in accordance with IEC 60664–1.
There must be at least 4 mm between the individual cores of the 230 Supply cable and the KNX line A.
WARNING
Risk of death from electric shock. The device could become damaged.
Disconnect the mains voltage before connecting the device to the load.
Terminals may not be inserted under load.
DANGER
Risk of death from electric shock.
Voltage may be present at the outputs when the main voltage is connected to the system. If subjected to strong vibrations during transportation, the switch contacts might
change to the enabled state.
After connecting the bus voltage, set the relays of the channels to the position desired simply by switching „On/Off“ or by changing the manual switch to „OFF“.
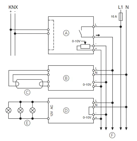
3 Connect the bus voltage.
A Control unit
B Electronic ballast with 0-10 V / 1-10 V interface
C Fluorescent lamp
D Electronic transformer with 0-10 V / 1-10 V control input
E LV halogen lamps
F to other devices with 0-10 V / 1-10 V interface
4. Connect the load.
5. Connect the load voltage.
Putting the control unit into operation
- Press the programming button. The programming-LED lights up.
- Load the physical address and application into the device from the ETS.
The programming LED goes out.
The operation LED lights up: The application was loaded successfully, and the device is ready for operation.
Technical data
| Power supply from the bus: | DC 24 V / approx. 17.5 mA |
| Insulation voltages: | AC 4 kV bus/mains voltage and bus / 0–10 V AC 4 kV 0–10 V / mains voltage |
| Switch contact: | Make contact, floating |
| Nominal voltage: | AC 100–240 V ±10% |
| Operation voltage: | min. AC 90 V – max. AC 265 V |
| Mains frequency: | 50–60 Hz ±10% |
| Nominal current: | 16 A, inductive load cosφ = 0,6 |
| Connected load Incandescent lamps: | 1600 W at AC 100 V 3600 W at AC 230 V 3840 W at AC 240 V |
| Halogen lamps: | 1086 W at AC 100 V 2500 W at AC 230 V 2608 W at AC 240 V |
| NV halogen lamps: | 869 VA at AC 100 V 2000 VA at AC 230 V 2086 VA at AC 240 V via electronic transformer |
| Fluorescent lamps: | 1600 VA at AC 100 V 3600 VA at AC 230 V 3840 VA at AC 240 V uncompensated 1086 VA at AC 100 V 2500 VA at AC 230 V 2608 VA at AC 240 V parallel compensated |
| Capacitive load: | 1600 W, 200 µF at AC 100 V 3600 W, 200 µF at AC 230 V 3840 W, 200 µF at AC 240 V |
| Fuse: | The switch contact must be protected by 16 A series-connected circuit breaker. |
| Service life: | > 50.000 switching cycles at nominal load |
| 0–10 V / 1–10 V Interface: | 0–10 V for dimming electronic ballasts |
| Loading capacity: | max. 100 mA (max. 50 electronic ballasts, depending on EB) |
| Min. control voltage: | 0 V |
| Ambient temperature: | |
| Operation: | -5 °C to +45 °C |
| Max. humidity: | 93 %, no moisture condensation |
| Environment: | can be used at up to 2000 m above sea level (MSL) |
| Operating elements | 1 programming button 1 manual switch |
| Display elements: | 1 red LED: programming check 1 green LED: ready for operation „RUN“ |
| Connections Bus: | via two 1 mm pins for bus connecting terminal |
| Live conductor and switch output: | 3-gang screw terminal for max. 2.5 mm2 |
| 1–10 V-output: | 2-gang pluggable screw terminal for max. 2,5 mm 2 |
| EC directives: | Low voltage directive 2006/95/ EC EMC-directive 2004/108/EC |
| Device width: | 2.5 modules = approx. 45 mm |
Schneider Electric -Contact
Schneider Electric Industries SAS
35 rue Joseph Monier
Rueil Malmaison 92500
France
If you have technical questions, please contact the Customer
Care Centre in your country.
se.com/contact
UK Representative
Stafford Park 5
Schneider Electric Limited
Telford, TF3 3 BL, UK




















