Schneider MTN6503-0201 SpaceLogic KNX Metering Gateway Modbus REG-K Instruction Manual

SpaceLogic KNX Metering Gateway
Modbus REG-K
Operating instructions

Art. no. MTN6503-0201
Necessary accessories
– Modbus load resistance (Schneider Electric art. no. VW3A8306DRC),
1 set of 2 pieces needed per Modbus line
For your safety
DANGER
Risk of serious damage to property and personal injury, e.g. from fire or electric shock, due to incorrect electrical installation.
Safe electrical installation can only be ensured if the person in question can prove basic knowledge in the following areas:
- Connection to installation networks
- Connecting several electrical devices
- Laying electric cables
- Connecting and establishing KNX networks
These skills and experience are normally only possessed by skilled professionals who are trained in the field of electrical installation technology.
If these minimum requirements are not met or are disregarded in any way, you will be solely liable for any damage to property or personal injury.
CAUTION
The device can become damaged.
Only operate the device according to the specifications stated in the Technical data.
Getting to know the Gateway
The KNX Metering Gateway Modbus REG-K (referred to below as gateway) transfers measured power and consumption values from your Modbus installation to the
KNX bus. Your KNX devices can then use these values for analyses and visualisations. You can also use this information about consumption values in your KNX installation to reduce energy consumption through the use of control strategies within the KNX network.
You can connect up to 32 Modbus meters with RTU transfer protocol to this gateway. These meters send data via the gateway to the KNX bus.
The gateway always works in master mode and the connected Modbus devices work in slave mode. Communication from KNX bus to the Modbus is not possible.
To make configuration easier, the ETS application for the gateway provides you with pre-programmed templates for 17 different models of Schneider Electric Modbus meters. You can assign up to 10 of the supported Modbus meters a template in the ETS in parallel. Up to 20 chosen values can be transferred per template. The corresponding
Modbus registers are then automatically assigned to the communication objects on the KNX side.
The following models of Schneider Electric Modbus me-
ters are supported:
- PM9C Power meter
- PM210 Power meter
- PM710, PM750 Power meters
- PM810, PM820, PM850, PM870 Power meters
- PM1200, DM6200 Power meters
- iEM3150, iEM3155, iEM3250, iEM3255 Energy meters
- PM3250, PM3255 Power meters
- SIM10M Smart Interface Module
For Modbus devices without a template, you can directly assign up to 40 Modbus registers to the communication objects on the KNX side.
The gateway is supplied with power via the KNX bus.
The gateway has a bus coupler. It is installed on a TH35
DIN rail acc. to EN 60715, with the bus connection made via a bus connecting terminal.
Connections, displays and operating elements

A Cable cover
B Operating LED “RUN” (green)
C Operating LED “MODBUS” (yellow)
D Terminal plug with screw terminals
E Flap, open forward. Underneath:
– Bus connecting terminal
– Programming LED (red)
– Programming button
Mounting the Gateway
- Place gateway on the DIN rail.

- Connect KNX.




- Connect the bus voltage.
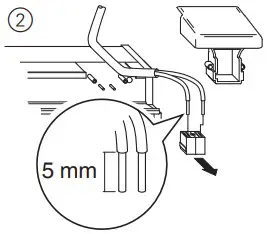
- Wire Modbus devices and connect to terminal plug.

Wiring the Modbus line
You can connect a Modbus line with up to ten devices to the gateway.
When wiring, pay particular attention to the Modbus installation instructions, especially regarding line shielding, earthing and line termination.
- For the Modbus wiring, use a shielded line with a twisted core pair to connect D0/D1 and an extra free core for connecting the common “0V” potential.
- Connect the shielding and the 0V core to the earth. This prevents disruptive electromagnetic effects.
- Note the polarity (+/-) for the Modbus connections
- Use all connected Modbus devices in slave mode and set the same Baud rate and parity for all devices (e.g. Baud rate 9600 bit/sec, parity “Even”).
- Data telegrams can be disrupted by reflections in the Modbus line. To prevent this, install a termination consisting of a resistor and capacitor at both ends of the Modbus line (RC termination).
Earthing the Modbus line
Devices may become damaged.
Protect the Modbus line against surges by connecting with an earth.
The voltage range in the Modbus line is -7 V to +12 V. Larger voltages could damage the connected devices.
Connect all “0V” connections for Modbus devices and the gateway using a separate core. Connect this core to the earth at one common point near the gateway. That way, all connected devices on the line have a common potential.
Wiring principle for Modbus line with gateway

A RC termination (art. no. VW3A8306DRC)
– 1 resistor 120 Ω (0.25 W)
– 1 capacitor 1 nF (min. 10 V)
B Connection of various energy meters and power meters
C Connection of the KNX Metering Gateway Modbus
D Twisted core pair for connecting D0/D1
E Shielded line with connection to earth at at least one point
F Earth for the 0V core at one common point near the gateway (master device)
Installation example for gateway in a Modbus line

A KNX Metering Gateway Modbus
B Power meter (e.g. PM9C)
C Shielded line
D RC termination of Modbus line
E Earth for the 0 V core and shielding at one common point in the line
F Power meter (e.g. PM810)
G Energy meter (e.g. iEM3150)
Wiring the gateway with stand-alone devices
PM9C Power meter

A KNX Metering Gateway Modbus
B PM9C Power meter (front view)
C Shielded line with earth
PM210 Power meter

A KNX Metering Gateway Modbus
B PM210 Power meter (rear view)
C Shielded line with earth
PM710, PM750 Power meters

A KNX Metering Gateway Modbus
B PM710, PM750 Power meter (rear view)
C Shielded line with earth
PM810, PM820, PM850, PM870 Power meters

A KNX Metering Gateway Modbus
B PM810, PM820, PM850, PM870 Power meter (rear view)
C Shielded line with earth
PM1200, DM6200 Power meters

A KNX Metering Gateway Modbus
B PM1200, DM6200 Power meter (rear view)
C Shielded line with earth
iEM3150, iEM3155, iEM3250, iEM3255 Energy meters

A KNX Metering Gateway Modbus
B iEM3150, iEM3155, iEM3250, iEM3255 Energymeter (front view)
C ded line with earth
PM3250, PM3255 Power meters

A KNX Metering Gateway Modbus
B PM3250, PM3255 Power meter (front view)
C Shielded line with earth
SIM10M Smart Interface Module

A KNX Metering Gateway Modbus
B SIM10M Smart Interface Module (front view)
C Shielded line with earth
Putting the Gateway into operation
- Press the programming button. The programming-LED lights up.
- Load the physical address and application into the device from the ETS.
The programming LED goes out.
The operation LED lights up: The application was loaded successfully, the device is ready for operation.
Technical data
Power supply: from KNX bus
Power consumption: max. 24 mA
Ambient temperature
Operation: -5 °C to +45 °C
Max. humidity: 93 %, no condensation
Environment: Can be used at up to 2000 m
above mean sea level (MSL)
Operating elements: 1 programming key
Display element: 1 red LED: checking programming
1 green LED: ready for operation “RUN”
1 yellow LED: Modbus data reception Connections
Bus: via two 1 mm pins for bus connecting terminals
Modbus connection: terminal plug with 4 screw terminals
for max. 2.5 mm2 each
Device width: 2.5 modules = approx. 44 mm
Schneider Electric -Contact
Schneider Electric Industries SAS
35 rue Joseph Monier
Rueil Malmaison 92500 France
If you have technical questions, please contact the Customer Care Centre in your country. se.com/contact
UK Representative
Telford, TF3 3 BL, UK
UK Representative Stafford Park 5

DANGER
CAUTION





UK Representative
















