Schneider Electric MTN6003-0011 KNX Flush Mounted Switch Actuator 1g With 3 Binary Inputs

Product Information
The Space Logic KNX Flush Mounted Switch Actuator 1g with 3 binary inputs (MTN6003-0011) is an in-wall switch actuator that can be used to control lighting, blinds, and other electrical devices.
It features three binary inputs, making it versatile and capable of handling multiple functions. The product comes with a user manual that provides all the necessary information for safe installation.
More detailed product information is available on the internet via QR code.
Product Usage Instructions
Important Safety Instructions:
- Installation must be carried out by skilled professionals with profound knowledge of connecting to installation networks, connecting several electrical devices, laying electric cables, connecting and establishing KNX networks, safety standards, local wiring rules, and regulations.
- Do not place bus/extensions and mains voltage terminals in a shared connection compartment. Use an appliance box with a fixed partition wall or separate appliance boxes.
- During commissioning, before switching on the load, ensure that all relay contacts are open by applying the KNX bus voltage.
Observe commissioning sequence!
Usage Instructions:
- Ensure that the installation is carried out by skilled professionals who have profound knowledge of the installation process.
- Do not place bus/extensions and mains voltage terminals in a shared connection compartment. Use an appliance box with a fixed partition wall or separate appliance boxes.
- Before switching on the load, ensure that all relay contacts are open by applying the KNX bus voltage.
- Observe commissioning sequence before using the product.
About this document
You can find all the information required for safe installation in this document.
For your safety
DANGER!
HAZARD OF ELECTRIC SHOCK, EXPLO-SION, OR ARC FLASH
Safe electrical installation must be carried out only by skilled professionals. Skilled professionals must prove profound know-ledge in the following areas:
- Connecting to installation networks
- Connecting several electrical devices
- Laying electric cables
- Connecting and establishing KNX networks
- Safety standards, local wiring rules and regulations
Failure to follow these instructions will result in death or serious injury.
Safety instructions
Electrical devices may only be mounted and connected by electrically skilled persons.
The device may not be opened or operated outside the technical specifications.
Danger of electric shock. Device is not suitable for disconnection from supply voltage. The load is not electrically isolated from the mains even when the output is switched off.
Danger of electric shock. Make sure during the installation that there is always sufficient insulation between the mains voltage and the bus. A minimum distance of at least 4 mm must be maintained bet-ween bus conductors and mains voltage cores.
Danger of electric shock on the KNX installation. Do not connect any external voltage to the inputs. The device might be damaged, and the SELV potential on the KNX bus line will no longer be available.
Fire hazard. For operation with inductive transformers, each transformer must be fused on the primary side in accordance with the manufacturer’s instructions. Only safety transformers according to EN 61558-2-6 may be used.
Risk of destruction of the dimmer and load if the set operating mode and load type do not match. Set the correct dimming principle before connecting or ex-changing the load.
These instructions are an integral part of the pro-duct, and must remain with the end customer.
Function
Intended use
- Operating in KNX systems
- Switching and dimming of lighting
- Reading in switching states of installation switches or push-buttons and other potential-free contacts at inputs 1…3
- Acquisition of temperature values via NTC temperature sensor at input 3 (see accessories)
- Mounting in appliance boxes according to DIN 49073
Information for electrically skilled persons
DANGER!
Mortal danger of electric shock.
Disconnect the device. Cover up live parts.
DANGER!
When connecting the bus/extensions and mains voltage wires in a shared appliance box, the KNX bus line may come into con-tact with the mains voltage.
This endangers the safety of the entire KNX installation. People at remote devices may also receive an electric shock.
- Do not place bus/extensions and mains voltage terminals in a shared connection compartment. Use an appliance box with a fixed partition wall or separate applian-ce boxes.
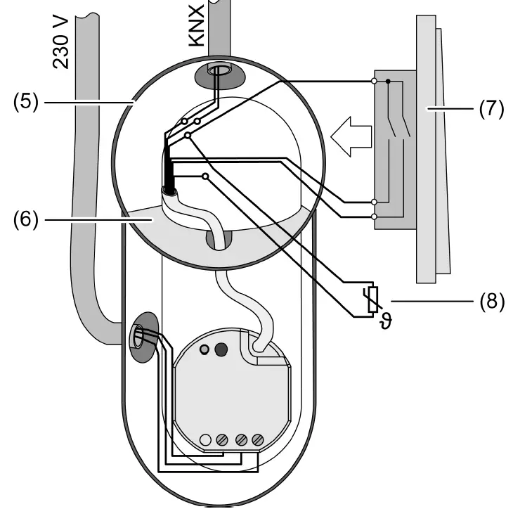
Connecting and fitting the device
In secure operation (preconditions):
- Secure commissioning is activated in the ETS.
- Device certificate entered/scanned or added to the ETS project. A high resolution camera should be used to scan the QR code.
- Document all passwords and keep them safe.
Mounting in suitable appliance box (recommendation: electronic device box with partition). Observe cable routing and spacing
- (5) Appliance box
- (6) Partition
- (7) potential-free contacts (e.g. series push-but- ton)
- (8) NTC temperature sensor (optional)

Minimum spacing between the mains voltage and bus/extension wires: 4 mm
Observe ambient temperature. Ensure adequate cooling.
- Connect the device to KNX with the correct polarity.
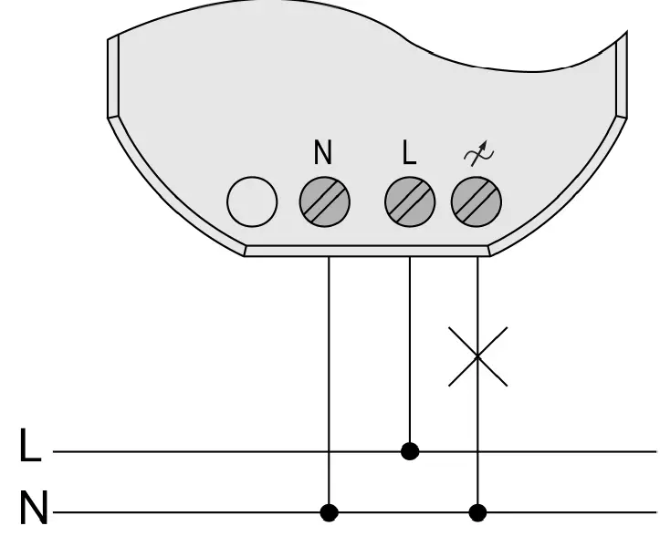
- Connect load as shown in the connection example.

- If required, connect potential-free contacts to inputs 1…3, or NTC temperature sensors to in-put 3 .

- Install the device in the appliance box.
- In secure operation: The device certificate must be removed from the device and stored securely.
The COM reference potential must not be connected together with COM connections of other devices!
Technical data
Ambient conditions
- Ambient temperature -5 … +45 °C
- Storage/transport temperature -25 … +70 °C
- Dimensions (W × H × D) 48 x 50 x 28 mm
KNX
- KNX medium TP256
- Commissioning mode S-mode
- Rated voltage KNX DC 21 … 32 V SELV
- Current consumption KNX 5 … 18 mA
- Connection mode KNX Connection terminal on control cable
Output
- Connection mode Screw terminals
- Switching voltage AC 250 V ~
- Switching current 16 AX, IEC 60669-1 §19.2
- Switch-on current 200 μs 10 A, IEC 60669-2-5 max. 800 A
- Switch-on current 20 ms max. 165 A
Connected load
Reduction of connected load
- per 5 °C in excess of 35 °C -10%
- when installed in wooden or dry construction walls -15%
- when installed in multiple combinations -20%
Clampable conductor cross-section
Inputs
- Control cable (pregerminated) YY6x0.6
- Input type Potential-free
- Number 3
- Total length of extension device cable max. 10 m
- Cable type (preferably) J-Y(St)Y
- Poll voltage, extension inputs approx. 5 V
Accessories
Remote sensor for room temperature measurement MTN616790
Schneider Electric Industries SAS
If you have technical questions, please contact the Customer Care Centre in your country.
se.com/contact




















