CMA DISHMACHINES CMA-180 VL Single Rack High Temperature Straight Dishwasher

Product Information
The CMA-180 VL/180 VLTall is a dishwasher machine produced by CMA Dishmachines. It has a parts manual that contains an initial parts kit of 32 items and an exploded view drawing that shows the parts required for assembly. The dishwasher has a straight frame system assembly and a heat recovery system.
Initial Parts Kit #1100.16
| Description | Qty |
|---|---|
| CMA-180 Drain Stopper | 1 |
| Pump Assy. 115/220V 60Hz (Open) | 1 |
| Pump Seal Kit | 1 |
| Rinse Arm w/ Bearings | 1 |
| Spray Arm Assy w/bearing & end plugs | 1 |
| Spray Base Pull Lock Pin | 1 |
| Contactor 208/240V 20 Amp | 1 |
| CMA-180VL Timer Assy | 1 |
| Micro Switch | 1 |
| Illuminated Plug CMA-180/44 P | 1 |
| Rocker Switch Auto Fill | 1 |
| Power Switch Red 250V | 1 |
| Toggle Switch DPDT 15 Amp/Delimer | 1 |
| Roller Door Switch | 1 |
| Door Spring | 1 |
| Ice Cube Relay 220V 12 Amp | 1 |
| 3/4 Water Solenoid Repair Kit JE | 1 |
| 1/2 Water Solenoid Repair Kit JE | 1 |
| 3/4 Vac Breaker Rep Kit Watts | 1 |
| Solenoid Coil JE 220V (3/4 & 1/2) | 1 |
| Wash Thermometer. (Rinse PN3202.18) | 1 |
| Counter – Face Mount 220V/50Hz | 1 |
| Toggle Switch (Momentary) Screw Term | 1 |
| Contactor 60 Amp 3 Pole | 1 |
| Contactor 30 Amp | 1 |
| SS Final Rinse Spray Jet SS | 1 |
| Heater Thermostat | 1 |
| Immersion Heater 240V/12kW T-Flange | 1 |
| Liquid Level Switch-Long-D Flat | 1 |
| Pressure Gauge(PN13605.45 MFG after Jan 2020) | 1 |
| Immersion Heater 6kW208-240V T-Flange | 1 |
| Hi Limit Switch 250 Deg | 1 |
Exploded View Drawings
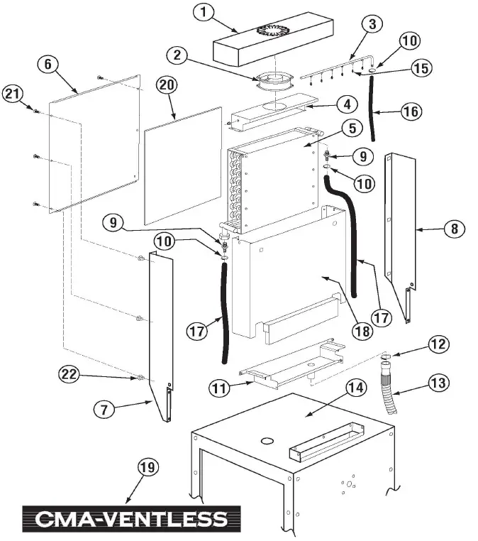
Straight Frame System Assembly

| Item No. | No. Req’d | P/N | Description |
|---|---|---|---|
| 1 | 1 | 17532.18 | Frame Stand Left |
| 2 | 1 | 17506.37 | Door Ventless Right |
| 3 | 1 | 17506.38 | Door E Z Door Glide |
| 4 | 6 | 00636.17 | Door Guide |
| 5 | 6 | 17554.00 | Corner Tray Track Rail |
| 6 | 2 | 17552.00 | Tray Track (EST/EC/180) |
| 7 | 1 | 01505.16 | Door Service Splash Guard |
| 8 | 1 | 01505.10 | Strainer Basket |
| 9 | 1 | 17506.65 | Scrap Body SS |
| 10 | 2 | 17510.00 | Scrap Trap Drawer |
| 11 | 1 | 17579.00 | Scrap Trap Holder Overflow |
| 12 | 1 | 17511.00 | Overflow Gasket 3-Dr Bracket outside Style |
| ITEM NO. | NO. REQ’D | P/N | DESCRIPTION | ITEM NO. | NO. REQ’D | P/N | DESCRIPTION | |
| 1 | 1 | 17532.18 | Frame Stand | 17 | 60 | 00924.00 | ¼” SS Washer | |
| 2 | 1 | 17506.37 | Left Door | 18 | 30 | 00912.00 | ¼”-20 Nylon Lock Nut | |
| 3 | 1 | 17506.38 | Ventless Right Door | 19 | 4 | 01310.00 | Bullet Feet | |
| 4 | 6 | 00636.17 | E Z Door Glide | 20 | 1 | 17522.50 | Wash Tank Heater Cover | |
| 5 | 6 | 17554.00 | Door Guide | 21 | 1 | 17522.00 | Booster Heater Cover | |
| 6 | 2 | 17552.00 | Door Stop | 22 | 23 | 00914.10 | 1/4-20 X 5/8 Hex Bolt | |
| 7 | 1 | 01505.16 | Corner Tray Track Rail | 23 | 1 | 17591.00 | CMA-180 Ventless Wrapper | |
| 8 | 1 | 01505.10 | Tray Track (EST/EC/ 180) | 24 | 1 | 17531.00 | Pan | |
| 9 | 1 | 17506.65 | Door Service Splash Guard | 25 | 2 | 17506.60 | Door Panel Splash Guard | |
| 10 | 2 | 17510.00 | Strainer Basket | 26 | 1 | 17506.62 | 180 Splash Shield – lever side | |
| 11 | 1 | 01579.10 | Scrap Body SS | 27 | 1 | 17546.00 | CMA-180VL Skirt | |
| 12 | 1 | 01579.20 | Scrap Trap Drawer | 28 | 1 | 00449.50 | Keyless Lock | |
| 13 | 1 | 17579.00 | Scrap Trap Holder | 29 | 1 | 17506.36 | Front Door | |
| 14 | 1 | 17511.00 | Overflow | 30 | 2 | 17530.45 | Frame Support Bar | |
| 15 | 1 | 17402.00 | Overflow Gasket | 31 | 4 | 01572.10 | SS Leg (A, AH, C, B) | |
| 16 | 1 | 01516.50 | 3-Dr Bracket outside Style | 32 | — | 01145.00 | Leg Assembly, 10” w/Bullet Foot |
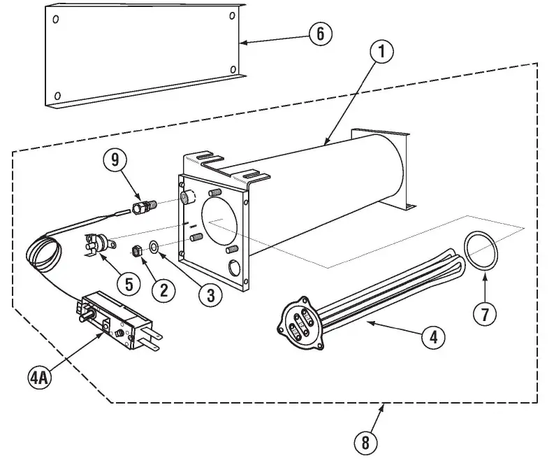
Heat Recovery System

| Item No. | No. Req’d | P/N | Description |
|---|---|---|---|
| 1 | 1 | 17595.00 | CMA-180VL Skirt |
| 2 | 1 | 02401.01 | Keyless Lock |
| 3 | 1 | 02401.17 | Front Door Frame |
| ITEM NO. | NO. REQ’D | P/N | DESCRIPTION |
| 1 | 1 | 17595.00 | CMA-180 Ventless Top Cover |
| 2 | 1 | 02401.01 | Motor Fan 230V, 50/60Hz |
| 3 | 1 | 02401.17 | Battery Self Cleaning Pipe Incl 6-#15 |
| 4 | 1 | 17593.00 | CMA-180 Ventless Fan Mount |
| 5 | 1 | 02401.05 | Heat Recovery Battery |
| 6 | 1 | 17596.00 | CMA-180 Ventless Rear Cover |
| 7 | 1 | 17598.00 | CMA-180 Ventless Support L.H. |
| 8 | 1 | 17597.00 | CMA-180 Ventless Support R.H. |
| 9 | 2 | 40014.00 | 1/2m x 1/2 Barb Straight |
| 10 | 3 | 03101.45 | Hose Clamp #4 |
| 11 | 1 | 17592.00 | CMA-180 Ventless Drain Pan |
| ITEM NO. | NO. REQ’D | P/N | DESCRIPTION |
| 12 | 1 | 03101.00 | Hose Clamp #16 1” |
| 13 | 1 | 15605.00 | Drain Hose with Goose Neck (9-06) |
| 14 | 1 | 17591.00 | CMA-180 Ventless Wrapper |
| 15 | 7 | 02101.01 | Stainless Steel Rinse Nozzle |
| 16 | FT | 03107.51 | Flexible Black Hose 3/8″ Order per foot |
| 17 | FT | 03107.50 | Flexible Black Hose ½” Order per foot |
| 18 | 1 | 17594.00 | CMA-180 Ventless Shroud |
| 19 | 1 | 06231.15 | CMA Ventless Label 23.25 x 3.25 |
| 20 | 1 | 17599.15 | Heat Recovery Battery Insulation |
| 21 | 6 | 00982.00 | Phillips Truss Screws |
| 22 | 6 | 00981.00 | Nylon Pop-in Nut |
Product Usage Instructions
To use the CMA-180 VL/180 VLTall dishwasher machine, follow the below instructions:
- Ensure that all required parts are present and in working condition.
- Assemble the machine according to the exploded view drawing in the parts manual.
- Connect the machine to a power source and ensure that it is grounded.
- Turn on the power switch.
- Fill the machine with water using the auto fill rocker switch.
- Load dishes into the machine and close the door.
- Select the appropriate wash cycle using the timer assembly.
- Monitor the machine during the wash cycle to ensure that it is operating correctly.
- After the wash cycle is complete, open the door and remove the dishes.
Drain System Assembly (Ventless Unit)

| ITEM NO. | NO. REQ’D | P/N | DESCRIPTION |
| 1 | 1 | 00113.17 | Drain Tee Casting |
| 2 | 1 | 00114.00 | Drain Tee Gasket |
| 3 | 1 | 00121.18 | Drain Stopper “O” Ring |
| *4 | 1 | 00121.17 | Drain Stopper |
| 5 | 1 | 17581.00 | Drain Linkage |
| 6 | 1 | 17580.50 | Drain Linkage Spacer |
| 7 | 1 | 00912.00 | ¼-20 Nylon Lock Nut |
| 8 | 1 | 17580.00 | Drain Lever |
| 9 | 1 | 00910.00 | ¼”-20 x 1 ½” Hex Head Bolt |
| 10 | 16 | 00926.00 | 5/16 S/S Washer |
| 11 | 6 | 00901.00 | 5/16 –18 x 1” Hex Head Bolt |
| * #00121.17 includes #00121.18 | |||
| ITEM NO. | NO. REQ’D | P/N | DESCRIPTION |
| 12 | 6 | 13805.00 | 5/16-18 Nylon Lock Nut |
| 13 | 1 | 01313.00 | 2” PVC Slip x MIPT Adapter |
| 14 | 1 | 05030.17 | 2” x 4” PVC Tubing |
| 15 | 1 | 01312.00 | PVC Slip x Slip 90 Elbow |
| 16 | 1 | 05030.27 | 2” x 6” PVC Tubing |
| 17 | 1 | 01320.17 | 2” PVC Tee SxSxS |
| 18 | 1 | 05030.10 | 2” x 3” PVC Tubing |
| 19 | 1 | 01315.17 | 2” No Hub |
| 20 | 1 | 50302.42 | 180VL Drain Hose Fitting |
| 21 | 1 | 03101.00 | Hose Clamp #16 1” |
| 22 | 1 | 15605.00 | Drain Hose with Goose Neck |
Plumbing System Assembly (January 2020)

| ITEM NO. | NO. REQ’D | P/N | DESCRIPTION | ITEM NO. | NO. REQ’D | P/N | DESCRIPTION | |
| 1 | 1 | 00710.50 | Vacuum Breaker ¾” Watts | 12 | Per FT | 03107.51 | Flexible Black Hose 3/8” | |
| 1A | — | 00421.51 | Pan Head Screw SS 6-32 x 1/4” | 13 | 1 | 40014.10 | 1/2m x 3/8” Barb Straight | |
| 1B | — | 00735.60 | Vacuum Breaker Brass Bonnet ¾” | 14 | 1 | 13642.00 | 1/2″ MIP Plug Brass Sq. Head | |
| 1C | — | 00735.00 | Vacuum Breaker Repair Kit ¾” | 15 | 8 | 03614.00 | Nipple Brass 1/2″ Close | |
| 1D | — | 00739.50 | Vacuum Breaker Cap | 16 | 3 | 00743.10 | Tee ½” FxFxF | |
| 2 | 1 | 00704.00 | Street Elbow 3/4″ 90Deg | 17 | 1 | 40014.00 | 1/2m x 1/2″ Barb Straight | |
| 3 | 1 | 13613.00 | Nipple ¾” x 5 ½” Brass | 18 | 1 | 13602.20 | Pressure Regulator 1/2 | |
| 4 | 2 | 13606.10 | Jamb Lock Nut Thin Pattern | 19 | Per FT | 03107.50 | Flexible Black Hose ½” | |
| 5 | 2 | 13639.00 | Nipple SS 3/4 x Close | 20 | 2 | 41062.00 | 1/2″ Strainer Ball Valve | |
| 6 | 2 | 13633.00 | 3/4 90 Elbow FxF Brass | 21 | 2 | 01528.00 | Plumbing Support Bracket | |
| 7 | 6 | 00912.00 | 1/4-20 Nylon Lock Nut | 22 | 2 | 00924.00 | 1/4 SS Washer | |
| 8 | 4 | 00912.00 | 1/4-20 Nylon Lock Nut | 23 | 2 | 00906.00 | 1/4-20 X 1/2 Hexhead Bolt | |
| 9 | 3 | 01526.10 | Plumbing Bracket Strap | 24 | 2 | 40116.00 | 1/4 Comp x 1/4 MIP Fitting | |
| 10 | 1 | 01526.00 | Plumbing Support Bracket | 25 | 1 | 13604.00 | 1/2 x 1/4 Bushing Brass | |
| 11 | 3 | 03603.15 | 1/2 Solenoid Valve JE 240V/60Hz | 26 | 1 | 00425.24 | Chemical Tubing | |
| 11A | 1 | 00738.15 | Water Sol Valve Coil 220V | 27 | 1 | 13618.11 | Coupling ¼” Brass | |
| 11B | — | 03603.20 | Water Sol Valve Bonnet ½” | 28 | 1 | 13605.45 | Pressure Gauge | |
| 11C | — | 00786.00 | Water Sol Plunger ½” & ¾” w/spring | 29 | 1 | 03202.00 | Wash Thermometer | |
| 11D | — | 00707.00 | Water Sol Repair Kit JE ½” | 30 | 1 | 03202.18 | Final Rinse Thermometer |
Plumbing System Assembly

| ITEM NO. | NO. REQ’D | P/N | DESCRIPTION | ITEM NO. | NO. REQ’D | P/N | DESCRIPTION | |
| 1 | 1 | 00710.50 | Vacuum Breaker ¾” Watts | 13 | 1 | 40014.10 | 1/2m x 3/8” Barb Straight | |
| 1A | — | 00421.51 | Pan Head Screw SS 6-32 x 1/4” | 14 | 1 | 13642.00 | /2″ MIP Plug Brass Sq. Head | |
| 1B | — | 00735.60 | Vacuum Breaker Brass Bonnet ¾” | 15 | 8 | 03614.00 | Nipple Brass 1/2 Close | |
| 1C | — | 00735.00 | Vacuum Breaker Repair Kit ¾” | 16 | 3 | 00743.10 | Tee ½” FXFXF | |
| 1D | — | 00739.50 | Vacuum Breaker Cap | 17 | 1 | 40014.00 | 1/2m x 1/2 Barb Straigh | |
| 2 | 1 | 00704.00 | Street Elbow 3/4″ 90Deg | 18 | 1 | 13602.20 | Pressure Regulator 1/2 | |
| 3 | 1 | 13613.00 | Nipple ¾” x 5 ½” Brass | 19 | FT | 03107.00 | Flexible Black Hose ½” | |
| 4 | 2 | 13606.10 | Jamb Lock Nut Thin Pattern | 20 | 2 | 41062.00 | ^1/2 Strainer Ball Valve | |
| 5 | 2 | 13639.00 | Nipple SS 3/4 x Close | 21 | 2 | 01528.00 | Plumbing Support Bracket | |
| 6 | 2 | 13633.00 | ^3/4 90 Ell F x F Brass | 22 | 2 | 00924.00 | 1/4 SS Washer | |
| 7 | 6 | 00912.00 | 1/4-20 Nylon Lock Nut | 23 | 2 | 00906.00 | 1/4-20 X 1/2 Hexhead Bolt | |
| 8 | 4 | 00912.00 | 1/4-20 Nylon Lock Nut | 24 | 2 | 40116.00 | 1/4 Comp x 1/4 MIP Fitting | |
| 9 | 3 | 01526.10 | Plumbing Bracket Strap | 25 | 1 | 13604.00 | 1/2 x 1/4 Bushing Brass | |
| 10 | 1 | 01526.00 | Plumbing Support Bracket | 26 | 1 | 00425.54 | Chemical Tubing | |
| 11 | 3 | 03603.15 | 1/2 Solenoid Valve JE 240V/60Hz | 27 | 1 | 13618.11 | Coupling ¼” Brass | |
| 11A | 1 | 00738.15 | Water Sol Valve Coil 220V | 28 | 1 | 13605.45 | Pressure Gauge 180-UC | |
| 11B | — | 03603.20 | Water Sol Valve Bonnet ½” | 29 | 1 | 03202.00 | Thermometer “Wash” | |
| 11C | — | 00786.00 | Water Sol Plunger ½” & ¾” w/spring | 30 | 1 | 03202.18 | Thermometer “Rinse” | |
| 11D | — | 00707.00 | Water Sol Repair Kit JE ½” | 31 | 1 | 17534.50 | Gauge Bracket | |
| 12 | FT | 03107.51 | Flexible Black Hose 3/8” | |||||
Wash Spray System

| ITEM NO. | NO. REQ’D | P/N | DESCRIPTION |
| 1 | 1 | 00303.17 | Manifold |
| *2 | 1 | 00360.24 | Lower Spray Base Assembly |
| **3 | 1 | 00361.10 | Upper Spray Base Assembly |
| 4 | 2 | 00304.17 | Wash Spray Arm |
| 5 | 4 | 00308.50 | Spray Arm End Plug SS |
| 6 | 2 | 00302.51 | Spray Base “O” Ring |
| 7 | 4 | 00905.00 | Truss Head Bolt ¼”-20”x1/2” |
| 8 | 12 | 00924.00 | SS Washer ¼” |
| ITEM NO. | NO. REQ’D | P/N | DESCRIPTION |
| 9 | 8 | 00912.00 | Nylon Lock Nut ¼” – 20 |
| 10 | 4 | 00914.10 | Hex Head Bolt ¼”-20”x5/8” |
| 11 | 2 | 00966.10 | Hex Head SS Bolt 10-32 |
| 12 | 4 | 00363.00 | Spray Base Lock Pin |
| 13 | 1 | 00302.00 | Spray Base Gasket |
| 14 | 1 | 00225.00 | Compression Gasket |
| 15 | 1 | 00221.20 | 1” Comp. Fit.x1”MIP SS |
| 16 | 1 | 00759.17 | Base Quick Release W/Nipple |
| 17 | 2 | 00341.00 | Spray Arm Bearing |
P/N 00361.10 Includes Items 11,12 & 6
P/N 00360.24 Includes Items 11, 12 & 6
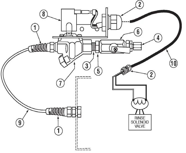
Final Rinse System Assembly

| ITEM NO. | NO. REQ’D | P/N | DESCRIPTION | ITEM NO. | NO. REQ’D | P/N | DESCRIPTION | |
| 1 | 1 | 17401.00 | Final Rinse Manifold | 15 | 1 | 03624.00 | ½” Vacuum Breaker | |
| 2 | 2 | 04306.00 | Square Manifold Gasket (CMA-180) | 15A | — | 03623.00 | ½” Vacuum Breaker Kit | |
| 3 | 1 | 13607.40 | 180VL Final Rinse Pipe Ass. | 15B | — | 03624.25 | ½” Brass Bonnet | |
| 4 | 6 | 00914.00 | ¼”-20×5/8 Hex Bolt | 15C | — | 00739.50 | ¾” Vacuum Breaker Cap | |
| 5 | 4 | 00308.17 | Rinse Arm SS End Plug | 15D | — | 00421.51 | 6-32 x ¼” SS Pan Head Screw Phillips | |
| 6 | 2 | 00304.29 | Rinse Arm w/ Bearings (180&180UC) | 16 | 1 | 00760 .00 | 5/8 Comp x 1/2 MIP Adapter | |
| 7 | 6 | 00912.00 | ¼”-20 Nylon Lock Nut | 17 | 1 | 13607.44 | 180VL Rinse Plumbing Line | |
| 8 | 6 | 00924.00 | ¼”SS Washer | 18 | 1 | 17550.11 | 1/2 90Deg Street Elbow | |
| 9 | 1 | 13607.20 | 3/8 Compression Fitting Sleeve | 19 | FT | 03107.00 | Flexible Black Hose ½” Order per foot | |
| 10 | 1 | 05004.11 | 3/8” SS Tubing | 20 | 1 | 03101.45 | Hose Clamp #4 | |
| 11 | 1 | 00436.20 | 3/8″ Comp X 1/2″ MIP Fitting | 21 | 1 | 40014.00 | 1/2m x 1/2 Barb Straight | |
| 11A | 1 | 13607.10 | 3/8 Compression Fitting Nut | 22 | 1 | 00743.00 | 1/2 Tee F x F x F Brass (Plated) | |
| 12 | 1 | 13669.45 | Mixing Chamber SS CMA 180UC | 23 | 1 | 13642.00 | 1/2″ Male Plug Brass | |
| 13 | 1 | 03232.00 | 1/8 Male Plug | 24 | 1 | 4305.17 | Red Silicone Gasket (CMA-180) | |
| 14 | 1 | 13629.00 | ½” S.S. Close Nipple | 25 | 1 | 13607.55 | CMA-180VL F.R. Thermometer Fitting | |
| 26 | 1 | 15606.00 | Conduit Heat Shield | |||||
CMA-180 Door Handle Assembly

| ITEM NO. | NO. REQ’D | P/N | DESCRIPTION | ITEM NO. | NO. REQ’D | P/N | DESCRIPTION | |
| 1 | 1 | 00613.32 | Door Handle | 13 | 4 | 00610.00 | Door Handle Spacer (Small) | |
| 2 | 1 | 01556.50 | Right Door Handle Support | 14 | 4 | 00611.00 | Door Handle Spacer (Large) | |
| 3 | 2 | 00603.07 | Door Spring Extension Rod | 15 | 2 | 00607.04 | Door Handle Cap | |
| 4 | 2 | 00602.00 | Door Spring | 16 | 1 | 01555.50 | Left Door Handle Support | |
| 5 | 2 | 17552.00 | Door Stop | 17 | 2 | 00910.00 | ¼”-20×1/2” Hex Head Bolt | |
| 6 | 2 | 01553.00 | Door Handle Link | 18 | 1 | 00563.40 | Door Switch Bracket (8-08) | |
| 7 | 2 | 00606.50 | Turn Buckle | 19 | 1 | 00563.42 | Door Switch Actuator (8-08) | |
| 8 | 2 | 00926.00 | 5/16” SS Washer | 20 | 1 | 00562.00 | Door Roller Switch | |
| 9 | 2 | 00900.00 | Cotter Pin | 21 | 1 | 00562.60 | Connector Door Roller Switch | |
| 10 | 4 | 00906.00 | ¼”-20 x ½” Hex Head screw | 22 | 1 | 00605.30 | Door Rod Spacer | |
| 11 | 8 | 00924.00 | ¼” SS Washer | 23 | 1 | 00546.00 | 18 AWG Switch Cord | |
| 12 | 8 | 00912.00 | ¼”-20” Nylon Insert Lock Nut | |||||
Pump System Assembly

| ITEM NO. | NO. REQ’D | P/N | DESCRIPTION | ITEM NO. | NO. REQ’D | P/N | DESCRIPTION | |
| 1 | 1 | 00201.00 00201.85 | Pump Motor 1 HP115/230V Pump Motor 1 HP230/460V | 8 | 1 | 00208.40 | Slip Joint Nut Gasket | |
| 2 | 1 | 04207.10 | Small Pump Base | 9 | 1 | 04204.00 | Compression Nut (2.5) | |
| 3 | 6 | 00921.00 | 3/8”-16 x 34” Hex Head Bolt | 10 | 2 | 00906.00 | ¼-20 x 1/2” Hex Bolt | |
| 3A | 2 | 00975.00 | 3/8-16 x 1 ½” Stud | 11 | 2 | 00924.00 | ¼” SS Washer | |
| 4 | 1 | 00206.30 | Pump Seal Kit | 12 | 2 | 00912.00 | ¼”-20 Nylon Lock Nut | |
| 5 | 1 | 03226.00 | Pump “O” Ring | 13 | 2 | 00238.00 | 3/8” Male Plug | |
| 6 | 1 | 03222.10 | Impeller SS | *14 | Assy. | 00200.10 | Pump Assy | |
| 7 | 1 | 04207.20 | Pump Cover | 15 | 1 | 00208.21 | Slip Joint Nut Friction Ring | |
| *P/N 00200.85 Includes Items 1,2,3,4,5 and 6 | ||||||||
Wash Tank Heater (Triangular Flange)

| ITEM NO. | NO. REQ’D | P/N | DESCRIPTION |
| 1 | 1 | 15518.00 13422.76 | Heater 6kW 220V Triangular Flange Heater 6kW 480V Triangular Flange |
| 1A | 1 | 13417.92 | Heater Thermostat |
| 2 | 1 | 13463.14 | Liquid Level Switch |
| 3 | 1 | 13463.51 | Liquid Level Switch Shield |
| 4 | 1 | 17523.51 | Hi-Limit Switch – Wash 250 Degrees |
| 5 | 1 | 13477.20 | 7/8” Probe Hole Plug |
| 6 | 1 | 15518.11 | Gasket for Triangular Flange Heater |
Booster Tank Heater (Triangular Flange)

| ITEM NO. | NO. REQ’D | P/N | DESCRIPTION |
| 1 | 1 | 17550.20 | Booster Tank |
| 2 | 3 | 13805.00 | Nylon Lock Nut 5/6”-18 |
| 3 | 3 | 00926.00 | Washer SS 5/16” |
| 4 | 1 | 13422.71 13422.75 | 240V 12KW Triangular Immersion Htr 480V 12 kW Triangular Immersion Htr |
| 4A | 1 | 13417.92 | Thermostat 12KW Heater |
| 5 | 1 | 17523.51 | Hi-Limit Switch-Booster 250 degrees |
| *6 | 1 | 17520.00 | Booster Heater Shield* |
| 7 | 1 | 15518.11 | Gasket for Triangular Flange Heater |
| 8 | 1 | 17560.00 | Complete Assembly |
| 9 | 1 | 40116.00 | 1/4 Comp x 1/4 MIP Fitting |
Control Box Assembly

| ITEM NO. | NO. REQ’D | P/N | DESCRIPTION | ||||||||||||||||||||||||||||||||||||||||||||||||||||||||||||||||||||||||||||||||||||||||||
| 1 | 1 | 17503.39 | CMA-180 Control Box Body | ||||||||||||||||||||||||||||||||||||||||||||||||||||||||||||||||||||||||||||||||||||||||||
| 2 | 2 | 00470.10 | Toggle Switch Rubber Boot | ||||||||||||||||||||||||||||||||||||||||||||||||||||||||||||||||||||||||||||||||||||||||||
| 3 | 1* | 00409.93 | Timer CMA-180 | ||||||||||||||||||||||||||||||||||||||||||||||||||||||||||||||||||||||||||||||||||||||||||
| 3A | 1 | 00500.20 | Timer Motor | ||||||||||||||||||||||||||||||||||||||||||||||||||||||||||||||||||||||||||||||||||||||||||
| 4 | 1(2*) | 00631.05 | Ice Cube Relay 220V | ||||||||||||||||||||||||||||||||||||||||||||||||||||||||||||||||||||||||||||||||||||||||||
| 5 | 6 Ft. | 00400.85 | Conduit ¾” Sealtite | ||||||||||||||||||||||||||||||||||||||||||||||||||||||||||||||||||||||||||||||||||||||||||
| 6 | 6 Ft. | 00400.10 | Conduit ½” Sealtite | ||||||||||||||||||||||||||||||||||||||||||||||||||||||||||||||||||||||||||||||||||||||||||
| 7 | 2 Ft. | 00400.00 | Conduit 3/8” Sealtite | ||||||||||||||||||||||||||||||||||||||||||||||||||||||||||||||||||||||||||||||||||||||||||
| 8 | 1 | 00401.85 | St-3/4” Straight Connector | ||||||||||||||||||||||||||||||||||||||||||||||||||||||||||||||||||||||||||||||||||||||||||
| 9 | 1 | 00401.10 | St-1/2” Straight Connector | ||||||||||||||||||||||||||||||||||||||||||||||||||||||||||||||||||||||||||||||||||||||||||
| 10 | 1 | 00401.00 | St-3/8” Straight Connector | ||||||||||||||||||||||||||||||||||||||||||||||||||||||||||||||||||||||||||||||||||||||||||
| 11 | 1 | 00475.70 | Delimer Switch DPDT 15A | ||||||||||||||||||||||||||||||||||||||||||||||||||||||||||||||||||||||||||||||||||||||||||
| 12 | 1 | 03470.00 | Toggle Switch Momentary (Screw Terminal) | ||||||||||||||||||||||||||||||||||||||||||||||||||||||||||||||||||||||||||||||||||||||||||
| 13 | 8 | 03801.00 | Nylon Lock Nut 10-32 | ||||||||||||||||||||||||||||||||||||||||||||||||||||||||||||||||||||||||||||||||||||||||||
| 14 | 1 | 17400.06 | Mountain Din Rail | ||||||||||||||||||||||||||||||||||||||||||||||||||||||||||||||||||||||||||||||||||||||||||
| 15 | 1 | 13403.26 | Fuse 3A/250V Slow Blow | ||||||||||||||||||||||||||||||||||||||||||||||||||||||||||||||||||||||||||||||||||||||||||
| 16 | 2 | 00941.00 | Pan Head Screw 10 -32 x 5/8” | ||||||||||||||||||||||||||||||||||||||||||||||||||||||||||||||||||||||||||||||||||||||||||
| 17 | 1 | 17400.17 | Terminal Block Assembly | ||||||||||||||||||||||||||||||||||||||||||||||||||||||||||||||||||||||||||||||||||||||||||
| 17A | 2 | 17400.04 | 30 Amp Terminal Block-Red | ||||||||||||||||||||||||||||||||||||||||||||||||||||||||||||||||||||||||||||||||||||||||||
| 17B | 3 | 17400.03 | 60 Amp Terminal Block-Black | ||||||||||||||||||||||||||||||||||||||||||||||||||||||||||||||||||||||||||||||||||||||||||
| 17C | 4 | 17400.02 | 85 Amp Terminal Block-Natural | ||||||||||||||||||||||||||||||||||||||||||||||||||||||||||||||||||||||||||||||||||||||||||
| 17D | 2 | 17400.08 | 30 Amp Terminal Block-Blue | ||||||||||||||||||||||||||||||||||||||||||||||||||||||||||||||||||||||||||||||||||||||||||
| 17E | 2 | 17400.09 | 30 Amp Terminal Block-Natural
|
Heat Recovery System Control Box

| ITEM NO. | NO. REQ’D | P/N | DESCRIPTION |
| 1 | 1 | 13905.23 | Transformer Box Lid |
| 2 | 1 | 13905.13 | Transformer Box |
| 3 | 1 | 13418.60 | Dip Switch Timer 230 V |
| 4 | 1 | 00631.05 | Ice Cube Relay 220V 12 Amp |
| 5 | 4 | 00940.50 | 10-32 X 3/8 Truss Head Screw |
| 6 | 4 | 0013805 | 5/16-18 Nylon Insert Lock Nut |
| 7 | 4 | 00926.00 | 5/16 SS Washer |
| 8 | 2 | 00907.00 | 6-32 X 1/2 SS Panhead Screw |
| 9 | 2 | 00965.00 | 6-32 Nylon Insert Lock Nut |
Heat Recovery System Control Box 480V

| ITEM NO. | NO. REQ’D | P/N | DESCRIPTION |
| 1 | 1 | 13905.24 | Transformer Box Lid 180VL, 480V |
| 2 | 1 | 13420.10 | Fuse Clip 2-Poll, Pressure Plate |
| 3 | 1 | 00631.05 | Ice Cube Relay 220V |
| 4 | 2 | 13402.10 | Fuse 1.50 Amp, 480V Slow Blow |
| 5 | 1 | 13905.14 | Transformer Box 180VL, 480V |
| 6 | 1 | 13423.82 | Transformer 480V-240V |
| 7 | 2 | 13403.40 | Fuse 1.25 Amp, 230V Slow Blow |
| 8 | 4 | 13403.21 | Fuse Holder – Inline |
| 9 | 1 | 13418.60 | Dip Switch Timer 230 V |
| 10 | 4 | 00940.50 | 10-32 3/8 Truss Head Screw |
Door Safety Interlock (DSI) Assembly P/N 17712.84

| ITEM NO. | NO. REQ’D | P/N | DESCRIPTION | ITEM NO. | NO. REQ’D | P/N | DESCRIPTION | |
| 1 | 1 | 03801.40 | 10-32 x 1/2 Cone Screw | 8 | 1 | 17712.50 | Solenoid Spring | |
| 2 | 1 | 17712.30 | DSI Cover | 9 | 1 | 17711.11 | CMA-180VL Interlock Bar | |
| 3 | 5 | 00927.00 | 8-32 Nylon Lock Nut | 10 | 4 | 00912.00 | 1/4-20 Nylon Lock Nut | |
| 4 | 1 | 00902.00 | 8-32 X 1 1/4 Panhead Bolt | 11 | 4 | 00924.00 | 1/4-20 Nut w/ Grip Washer | |
| 5 | 1 | 17712.35 | DSI Mount | 12 | 4 | 00906.00 | 1/4-20 X 1/2 Hexhead Bolt | |
| 6 | 4 | 00970.60 | 8-32 x 1/2 Flat Screw | 13 | 1 | 00562.60 | Roller Door Switch | |
| 7 | 1 | 00100.05 | Drain Ball Solenoid 240V | 14 | 1 | 00547.00 | Switch Cord 18 AWG | |
| 15 | 1 | 01550.00 | Solenoid Stop | |||||
Unique Parts For CMA-180VL-T

| ITEM NO. | NO. REQ’D | P/N | DESCRIPTION | ITEM NO. | NO. REQ’D | P/N | DESCRIPTION | |
| 1 | 6 | 00636.27 | Door Guide 36 1/4″ | 13 | 1 | 00204.00 | Pump Cover Large | |
| 2 | 3 | 17506.20 | Scullery Door | 14 | 1 | 00203.05 | Impeller 4-1/2” | |
| 3 | 6 | 17554.20 | Scullery Door Guide | 15 | 1 | 00202.00 | Pump Base | |
| 4 | 1 | 17530.20 | Scullery Wrapper | 16 | 1 | 00205.00 | Pump Gasket | |
| 5 | 1 | 00613.27 | Door Handle S | 17 | 1 | 03108.60 | Transfer Hose 1″ Reinf. | |
| 6 | 2 | 01553.22 | Door Handle Link S | 18 | 1 | 00208.40 | Slip Joint Nut O Ring | |
| 7 | 2 | 00603.53 | Door Spring Extension Rod | 19 | 1 | 00207.00 | Slip Joint Nut 11/2 x 1/4 | |
| 8 | 2 | 05007.27 | Booster Water Line | 20 | 1 1 | 17570.00 17570.10 | Wrap Support Brkt-R Wrap Support Brkt-L | |
| 9 | 1 | 17401.20 | Final Rinse Manifold | 21 | 1 | 00563.40 | Door Switch Bracket (8- 08) | |
| 10 | 1 | 50302.10 | 1″ MPT x 1″ Barb Brass | 22 | 1 | 00563.43 | Door Switch Actuator CMA-180T (1-10) | |
| 11 | 1 | 00303.27 | Manifold | 23 | 2 | 00602.20 | Door Spring – Heavy Duty | |
| 12 | 1 | 00212.50 | 1-1/2”x1-1/4”Adapter | |||||
Unique Parts for CMA-180T Split Door

| ITEM NO. | NO. STR/COR | P/N | DESCRIPTION | ITEM NO. | NO. STR/COR | P/N | DESCRIPTION | |
| 1 | 1/0 | 17506.23 | Door Safety Brkt. Left | 7 | 3/2 | 17506.34 | Large Door | |
| 2 | 1/0 | 17506.24 | Door Safety Brkt. Right | 8 | 1/1 | 17530.22 | Wrapper | |
| 3 | 1/0 | 13701.22 | Open Door Latch | 9 | 6/4 | 17552.22 | Door Stop | |
| 4 | 6/4 | 00636.43 | EZ Glide Door Gide 8.5” | 10 | 0/1 | 17530.23 | Corner Panel Wrap | |
| 5 | 6/4 | 00636.42 | EZ Glide Door Gide 29.75” | 11 | 1/1 1/0 | 17570.00 17570.10 | Wrap Support Brkt-R Wrap Support Brkt-L | |
| 6 | 3/2 | 17506.42 | Small Door | |||||
Water Tempering Kit (Optional)


Model CMA-180 VL Parts Manual Rev. 2.04 Buy Parts page 21
CMA DISHMACHINES 12700 KNOTT AVENUE GARDEN GROVE, CALIFORNIA 92841
- 800-854-6417
- FAX 714-895-2141
- www.cmadishmachines.com










