MODEL UC65e M3
PARTS MANUAL
Rev 1.00 11-22-2022
Instruction Manual![]()

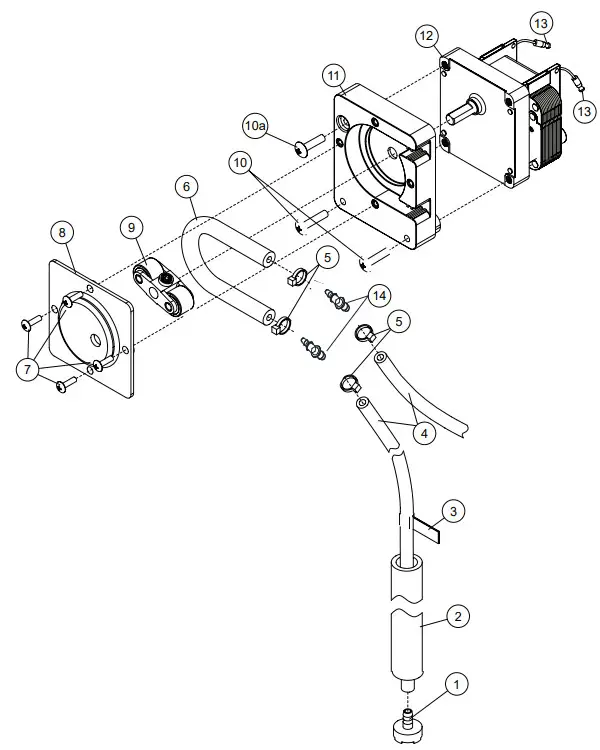
Pump and Motor

| ITEM NO. | NO. REQ’D | P/N | DESCRIPTION |
| 1 | 9 | 2103.01 | Screw, M4, Phil, Pan Head |
| 2 | 1 | 2103.02 | Impeller Housing Cover |
| 3 | 1 | 2107.01 | Nut, M6 (Left-hand thread) |
| 4 | 1 | 2103.04 | 1/4″ Lock Washer |
| 5 | 1 | 2103.05 | 17/64″ Plain Washer |
| 6 | 1 | 2107.02 | Impeller |
| 7 | 1 | 2103.07 | Pump Seal |
| 8 | 1 | 2103.3 | Pump Gasket |
| 9 | 1 | 2107.03 | Pump Backing Plate |
| 10 | 9 | 2103.08 | Nut, M4 |
| 11 | 1 | 2103.1 | Pump Motor Assm, 220V |
| 12 | 1 | 2103.37 | Motor Fan Cover |
| 13 | 1 | 2103.11 | Capacitor, 16 μF |
| 14 | 1 | 2107.04 | Wash Pump Bracket |
| 15 | 2 | 2107.05 | Bolt, Hex Flange 1/4-20 X 3/8″ SST |
| *** | 2103.1 | Motor unavailable as separate part |
Booster

| ITEM NO. | NO. REQ’D | P/N | DESCRIPTION |
| 1 | 1 | 2107.82 | Thermistor, KΩ, 2 Wire Assm |
| 2 | 1 | 2107.11 | Tee, Rinse |
| 3 | 4 | 2103.21 | Clamp, Hose |
| 4 | A/R | 3107.5 | Hose, Rubber 1/2″x0.84″ OD |
| 5 | 2 | 965 | Nut, Grip 6-32 W/ Nylon Insert SS |
| 6 | 1 | 2103.19 | Thermostat, High Limit 240f |
| 7 | 1 | 3232 | Plug, 1/8″ |
| 8 | 1 | 2103.14 | Gasket |
| 9 | 1 | 2103.12 | 4kW 208V 40Rise Element *** |
| 10 | 1 | 2107.09 | Plug, 1/8 Hex Countersunk SS |
| 11 | 2 | 2103.16 | Bolt, Hex Flange, 1/4-20×3/8″ SS |
| 12 | 1 | 2106.01 | Booster Tank, Welded |
Control Panel

| ITEM NO. | NO. REQ’D | P/N | DESCRIPTION |
| 1 | 1 | 2107.15 | Switch, Rocker DPST 250V Neon |
| 2 | 1 | 2106.51 | Label, Facia UC65e M3 |
| 3 | 2 | 2103.58 | Gasket, Steam |
| 4 | 2 | 2107.17 | Standoff, LED Display Board |
| 5 | 4 | 2104.91 | Screw, 6-18×1/4″ Panhead Phil SS |
| 6 | 1 | 2106.52 | Panel, Facia UC65e M3 |
| 7 | 2 | 2104.68 | Nut, 10-32 |
| 8 | 2 | 2107.2 | Screw, #8 x 3/8″ |
| 9 | 1 | 2107.21 | Kit, Control Board |
| 10 | 1 | 911.1 | Screw, 8-32×3/8 Truss HD |
| 11 | 1 | 2103.57 | Prime Switch |
| 12 | 1 | 2103.51 | Contact, Switch Momentary (N.O.) |
| 13 | 1 | 2103.52 | Housing, Push Button Switch |
| 14 | 1 | 2103.53 | Push Button, Green |
| 15 | 1 | 3485 | Switch Guard |
| 16 | 4 | 4086 | #10 Washer |
| 17 | 2 | 3801 | 10-32 Lock Nut |
| — | 1 | 2107.22 | Harness, Switch – NOT SHOWN |
| — | 1 | 2107.23 | Harness, Sensor – NOT SHOWN |
| — | 1 | 2107.24 | Harness, Main – NOT SHOWN |
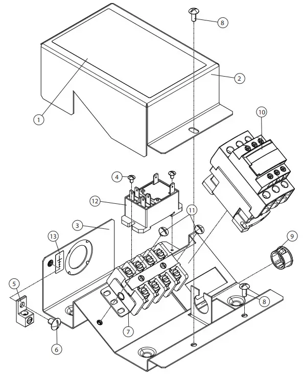
Power Wiring Box

| ITEM NO. | NO. REQ’D | P/N | DESCRIPTION |
| 1 | 1 | 2106.02 | Label, Connection Box |
| 2 | 1 | 2106.03 | Cover, Box Wiring |
| 3 | 1 | 2106.04 | Box, Wiring |
| 4 | 2 | 421.51 | Screw, 6-32 X 1/4″ |
| 5 | 1 | 13426.5 | Lug, Ground |
| 6 | 1 | 905.82 | Screw, 1/4-20 X 3/8″ |
| 7 | 1 | 2106.05 | Block, Terminal 4-Pole |
| 8 | 2 | 940.5 | Screw, 10-32 X 3/8″ Truss Head |
| 9 | 1 | 2106.15 | Bushing, Strain Relief, Small |
| 10 | 1 | 2103.48 | Contactor, 3-Pole, 25/40A, 120VAC Coil |
| 11 | 2 | 940 | Screw, 10-32 X 1/4″ |
| 12 | 1 | 2106.06 | Relay, DPDT, 30A, 120VAC Coil |
| 13 | 1 | 6202.46 | Label, Ground |
Main Wiring Harness (Not Shown) PN00000.00 MD PN0513838
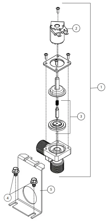
Fill Solenoid Valve – Effective October 2022

| ITEM NO. | NO. REQ’D | P/N | DESCRIPTION |
| 1 | 1 | 3603.1 | Water Valve 1/2″ 115V JE Complete |
| 2 | 1 | 738.1 | Solenoid Coil, 115VAC |
| 3 | 1 | 3603.2 | 1/2″ Water Solenoid Bonnet |
| 4 | 1 | 786 | JE Water Valve Plunger & Spring |
| 5 | 1 | 707 | 1/2″ Water Solenoid Valve Repair Kit |
| 6 | 1 | 40013 | Fitting, Barb Hose |
| 7 | 1 | 2106.11 | Bracket, Valve, UC65e |
| 8 | 2 | 2103.16 | Bolt, Hex Flange 1/4-20×3/8″ |
| 9 | 1 | 3604.5 | Fitting, Flow Disc |
| 10 | 1 | 3604.1 | Washer, Flow Disc |
Fill Valve

| ITEM NO. | NO. REQ’D | P/N | DESCRIPTION |
| 1 | 1 | 2106.53 | Water Valve 115V, Incl Items 2 & 3 |
| 2 | 1 | 2106.54 | Coil, 115VAC/60/1, 7W |
| 3 | 1 | 2106.55 | Solenoid Repair Kit |
| 4 | 2 | 906.52 | Bolt, Hex Flange, 1/4-20X3/8″ SS |
| 5 | 1 | 2106.56 | Bracket, Fill Valve |
Wash and Rinse Spray Assemblies

| ITEM NO. | NO. REQ’D | P/N | DESCRIPTION |
| 1 | 4 | 426 | Washer, 5/16″ SS |
| 2 | 4 | 912 | Nut, 1/4-20 Nylon Lock |
| 3 | 1 | 2103.77 | Hub, Upper Wash Arm |
| 4 | 1 | 2103.78 | Washer, Packing |
| 5 | 1 | 2103.79 | Screw, Retaining |
| 6 | 1 | 2103.83 | O-Ring, 2-1/8″ OD X 1-3/4″ ID X 3/16″ |
| 7 | 2 | 2103.82 | Bearing Assembly |
| 8 | 2 | 2103.98 | Spacer, Nut |
| 9 | 1 | 2103.83 | O-Ring, 2-1/8″ OD X 1-3/4″ ID X 3/16″ |
| 10 | 1 | 2103.84 | Hub, Lower Wash Arm |
| 11 | 1 | 2103.85 | Manifold, Lower FWR |
| 12 | 2 | 2103.86 | Wash Arm Assm, (Incl Item #7) |
| 14 | 4 | 2103.88 | Washer, Nylite |
| 15 | 4 | 2103.89 | Bolt, 1/4-20 X 1″ |
| 16 | 1 | 2103.9 | Shaft, Lower |
| 17 | 1 | 2103.91 | O-Ring |
| 18 | 2 | 2103.92 | Hub, Rinse Arm Molded |
| 19 | 4 | 2103.93 | Screw, Truss Head 8-32 X 1/4″ |
| 20 | 2 | 2103.94 | Arm, Right-Hand Rinse (7 Jets) |
| 21 | 2 | 2103.95 | Arm, Left-Handed Rinse (8 Jets) |
| 22 | 4 | 2103.96 | Cap, Rinse Arm, 5/16-24 |
| 23 | 4 | 2103.97 | Spindle, Rinse Arm |
| — | – | 2103.99 | Rinse Arm Assm (Incl Items 8, 18-23) |
Hoses and Drain Pump

| ITEM NO. | NO. REQ’D | P/N | DESCRIPTION |
| 1 | 2 | 50109 | Clamp, Hose |
| 2 | 1 | 2103.81 | Hose, Upper Wash Arm |
| 3 | 8 | 2103.21 | Clamp, Hose Gear-type SS |
| 4 | A/R | 3107.5 | Hose, Rubber 1/2″ ID X 0.84″ OD |
| 5 | 1 | 2106.57 | Fitting, Molded Rinse |
| 6 | 1 | 2103.71 | 1/2″ Vacuum Breaker |
| — | — | 2103.72 | Vacuum Breaker Repair Kit |
| 7 | 1 | 721 | Lock Nut, 1/2″ |
| 8 | 1 | 2103.69 | Bracket, Vacuum Breaker |
| 9 | 2 | 2103.04 | Washer, Split 1/4″ SS |
| 10 | 2 | 923.5 | Nut, Hex 1/4-20 SS |
| 11 | 1 | N/A | Hose, Fill |
| 13 | 2 | 2106.58 | Barb, Hose 1/2″ X 3/8″ MPT |
| 14 | 2 | 50109 | Clamp, Hose |
| 15 | 1 | 2104.13 | Hose, Discharge |
| 16 | A/R | 2107.71 | Hose, 5/8″ ID X 1″ OD |
| 17 | 2 | 3101 | Clamp, Hose |
| 18 | 1 | 2103.18 | Hose, Booster Fill |
| 19 | 1 | 2106.59 | Tee, 3/4″ Poly |
| 20 | 1 | 2106.6 | Elbow, 1/2MPTx3/8MPT Reduce 90DE |
| 21 | 1 | 2106.61 | Valve, Check 3/8 |
| 22 | 1 | 2106.62 | Hose Barb, 1/2 x 3/8 MPT |
| 23 | 1 | 2106.63 | Coupler, 3/4″MPT x 3/4″ Hose Barb |
| 24 | 1 | 2104.11 | Hose, Suction Wash Pump |
| 25 | 1 | 2104.05 | Hose, Drain Pump Suction |
| 26 | 2 | 2104.1 | Clamp, Hose |
| 27 | 1 | 2104.34 | Elbow, Pump Suction |
| 28 | 2 | 3101 | Clamp, Hose Gear-Type |
| 29 | 1 | 2104.35 | Gasket, Pump Suction |
| 30 | 1 | 2104.36 | Flange, Pump Suction |
| 31 | 1 | 2104.07 | Pump, Drain |
| 32 | 2 | 2107.74 | Screw, #8 x 1/2″ Self-Taping |
| 33 | 2 | 2103.16 | Bolt, Hex Flange 1/4-20 x 3/8″ SS |
| 34 | 1 | 2104.06 | Bracket, Drain Pump |
| 35 | 1 | 3101 | Clamp, Hose |
| 36 | 1 | 2106.19 | Hose, Drain Molded |
| 37&38 | — | N/A | Nut & O-Ring |
| 39&40 | — | N/A | Ball & Silicon Washer |
| 41 | — | N/A | Body, Anti-Siphon |
| — | 1 | 2106.5 | Anti-Siphon Assembly Complete |
Panels and Door

| ITEM NO. | NO. REQ’D | P/N | DESCRIPTION |
| 1 | 1 | 2104.69 | Wrapper, Outer Panel |
| 2 | 1 | 2104.17 | Gasket, Door 1/8″ x 7/8″ x 22-5/8″ |
| 3 | 1 | 2106.64 | Panel, Front |
| 4 | 1 | 2104.73 | Door Welded Assm |
| 5 | 1 | 2104.88 | Seal, Door Hinge RH |
| 6 | 2 | 2104.77 | Spring, Door |
| 7 | 2 | 2104.76 | Arm, Door Spring |
| 8 | 1 | 2106.65 | Screw, 8-32 x 3/16″ Phil SS |
| 9 | 1 | 2104.78 | Activator, Door Switch |
| 10 | 1 | 2104.87 | Seal, Door Hinge LH |
| 11 | 1 | 2104.63 | Gauge, Pressure 0-60PSI |
| 12 | 1 | 940.5 | Screw, 10-32×3/8″ Truss Head Phil SS |
| 13 | 1 | 425.54 | Tubing, 1/4″ Natural |
| 14 | 1 | 2106.66 | Adaptor, 1/4″x1/8″NPT Female Plastic |
| 15 | 1 | 2104.67 | Foot, Adjusting |
| 16 | 1 | 2106.13 | Panel, Rear |
Upper Tank

| ITEM NO. | NO. REQ’D | P/N | DESCRIPTION |
| 1 | 1 | 2106.67 | Screen, Scrap |
| 2 | 1 | See Pg10 | Seal, Door Hinge RH & LH |
| 3 | 1 | 2106.68 | Plate, Nut 4-40 |
| 4 | 1 | 2106.69 | Bracket, Switch Door |
| 5 | 1 | 43019 | Switch, Door 15A |
| 6 | 2 | 13826 | Screw, 4-40×1/2″ Pan Head Phil SS |
| 7 | 2 | 965 | Nut, Grip 6-32 W/ Nylon Insert SS |
| 8 | 1 | 2106.7 | Plug, 1/2″ |
| 9 | 1 | 2106.71 | Gasket, Fiber |
| 10 | 1 | 2106.72 | Nut |
| 11 | 1 | 2107.1 | Thermister |
| 12 | 1 | 2106.73 | Adapter, Thermister |
| 13 | 1 | 2104.18 | Element, Tank 2kW 240VAC |
| 14 | 1 | 2106.74 | O-Ring |
| 15 | 1 | 2106.75 | Nut, 1/2″ NP |
| 16 | 1 | 2104.28 | Thermostat, Fixed Snap, 212°F |
Tank Rear

| ITEM NO. | NO. REQ’D | P/N | DESCRIPTION |
| 1 | 1 | 3801 | Nut, 10-32 SS |
| 2 | 1 | N/A | Clip |
| 3 | 1 | 2106.76 | Bracket, Sensor |
| 4 | 1 | 2106.77 | Sensor, Level |
| 5 | 1 | 2104.54 | Clamp, Hose |
| 6 | 2 | 2104.56 | Hose, Air |
| 7 | 2 | N/A | Clamp, Double Conduit |
| 8 | 1 | N/A | Clamp, 3/4″ Plated Strap |
| 9 | 1 | 2107.48 | Nut, Grip, 1/4-20 W/ Nylon Insert SS |
| 10 | 1 | 2104.53 | Trap, Air |
| 11 | 1 | 2104.55 | Gasket, Air Trap |
| 12 | 1 | 2104.57 | O-Ring |
| 13 | 1 | 2104.59 | Cover, Air Trap |
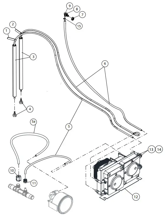
Chemical Pumps

| ITEM NO. | NO. REQ’D | P/N | DESCRIPTION |
| 1 | 1 | 43078.08 | Label, Rinse Additive |
| 2 | 1 | 43078.05 | Label, Detergent |
| 3 | 2 | 2104.48 | Tube Stiffener, 1/2″ x 11-7/8″ |
| 4 | 1 | 2104.47 | Strainer |
| 5 | A/R | 2106.78 | Hose, 4MM ID x 6MM (1/4″) OD PVC |
| 5a | A/R | 425.24 | Chemical Tubing, White |
| 6 | A/R | 2104.37 | Hose, 1/4″ID x 3/8″OD PVC |
| 7 | 1 | 2106.79 | Nut |
| 8 | 1 | 2104.39 | Gasket |
| 9 | 1 | 2106.8 | Kit, Detergent Fitting |
| 10 | 1 | 2106.81 | Nut, Compression Rinse |
| 11 | 1 | 2106.82 | Nut, Chemical Tube |
| 12 | 1 | 2107.14 | Bracket, Chemical Pump |
| 13 | 1 | 415 | Rinse Chemical Pump Assembly |
| 14 | 1 | 415 | Detergent Chemical Pump Assembly |
| 15 | 1 | 931 | Nylon Zip Tie, 4″ |
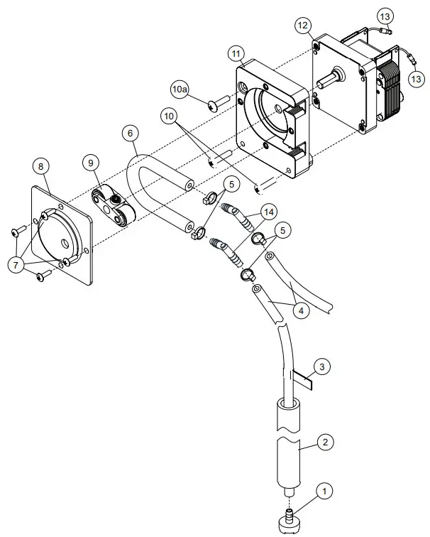
Detergent Pump

| ITEM NO. | NO. REQ’D | P/N | DESCRIPTION |
| 1 | 2 | 02104.47 | Strainer |
| 2 | 2 | 02104.48 | Tube Stiffener, 1/2″ID x 11-7/8″ |
| 3 | 1 | 43078. | Label, Detergent |
| 4 | A/R | 02104.37 | Hose, 1/4″ID x 3/8″OD |
| 5 | 4 | 00931.00 | 4.5″ Nylon Cable Tie |
| 6 | 1 | 02257.00 | Squeeze Tube, Norprene 8″ |
| 7 | 1 | 00911.00 | Screw, 8-32×1/2″ Panhead |
| 8 | 1 | 00418.00 | Peristaltic Pump Cover |
| 9 | 1 | 00419.00 | Peristaltic Pump Rotor |
| 10 | 1 | 00919.00 | Screw, 10-32 x 1-1/2″ Panhead |
| 10a | 2 | 00918.10 | Screw, 10-32 x 1-1/2″ Flathead |
| 11 | 1 | 00417.10 | Peristaltic Pump Block (Black) |
| 12 | 1 | 00416.00 | Peristaltic Pump Motor 110V/60Hz |
| 13 | 1 | 00448.00 | Barrel Connector, Male |
| 14 | 2 | 02104.52 | 1/4″ Hose Barb |
| 15 | 1 | 00415.20 | Peri Pump Assm (Inc! items 6-13) |
Rinse Pump

| ITEM NO. | NO. REQ’D | P/N | DESCRIPTION |
| 1 | 2 | 02104.47 | Strainer |
| 2 | 2 | 02104.48 | Tube Stiffener, 1/2″ID x 11-7/8″ |
| 3 | 1 | 43078. | Label, Rinse Additive |
| 4 | A/R | 02104.37 | Hose, 1/4″ID x 3/8″OD |
| 5 | 4 | 00931.00 | 4.5″ Nylon Cable Tie |
| 6 | 1 | 02104.58 | Squeeze Tube, Norprene 1/8″ |
| 7 | 1 | 00911.00 | Screw, 8-32×1/2″ Panhead |
| 8 | 1 | 00418.00 | Peristaltic Pump Cover |
| 9 | 1 | 00419.00 | Peristaltic Pump Rotor |
| 10 | 1 | 00919.00 | Screw, 10-32 x 1-1/2″ Panhead |
| 10a | 2 | 00918.10 | Screw, 10-32 x 1-1/2″ Flathead |
| 11 | 1 | 00417.10 | Peristaltic Pump Block (Black) |
| 12 | 1 | 00416.00 | Peristaltic Pump Motor 110V/60Hz |
| 13 | 1 | 00448.00 | Barrel Connector, Male |
| 14 | 2 | 02106.12 | 1/8″ Hose Barb |
| 15 | 1 | 00415.20 | Peri Pump Assm (Inc! items 6-13) |
Dish Racks, PRV

| ITEM NO. | NO. REQ’D | P/N | DESCRIPTION |
| 1 | 1 | 12960. | Dish Rack, Flat |
| 2 | 1 | 12960. | Dish Rack, Peg |
| 3 | 1 | 13602.20 | 1/2″ Pressure Regulator, OPTIONAL |
Optional Chemical Alarm

| ITEM NO. | NO. REQ’D | P/N | DESCRIPTION |
| 1 | 3 | 00400.00 | Conduit, 3/8″ Sealtite |
| 2 | 1 | 00401.00 | S.T. 3/8″ Straight Connector |
| 3 | 1 | 00402.00 | S.T. 90 Degree 3/8″ Connector |
| 4 | 1 | 00406.00 | Control Box Light, .5″ Diameter, Red |
| 5 | 1 | 00435.00 | Squeeze Tube, 8″ |
| 6 | 1 | 00521.00 | Wire, 18 Gauge, Orange, 6 ft. |
| 7 | 1 | 00531.00 | Wire, 18 Gauge, White, 6 ft. |
| 8 | 5 | 00931.00 | Wire Tie, Small |
| 9 | 1 | 12510.00 | Sanitizer Alarm Box Assembly |
| 10 | 1 | 12511.00 | Sanitizer Low Level Vacuum Switch |
| 11 | 1 | 12512.00 | Sanitizer Alarm Buzzer, 120 Volts |
| 12 | 4 | 40126.10 | #10 x 3/4″ Sheet metal Screw |
| 13 | 4 | 40127.00 | Wall Anchors |
| 14 | 1 | 00426.00 | Y Hose Connector, 3/16″ |
CMA DISHM ACHINES
12700 KNOTT AVENUE
GARDEN GROVE, CALIFORNIA 92841
800- 854- 6417
F A X 7 1 4 – 8 9 5 – 2141
www.cmadishmachines.com
Buy Parts
MODEL UC65e M3 PARTS MANUAL Rev. 1.00

















