nVent Raychem ArcticStep System

APPROVALS CE, DNV-GL & ATEX
The nVent RAYCHEM ArcticStep is designed, tested and approved according to latest DNVGL Standards: DNVGL-OS-A201, and DNVGL-RU-SHIP Pt.6 Ch.6 for use in Winterized Basic, Cold and Polar conditions.
Installations in potentially explosive area:
nVent RAYCHEM QTVR heating cables are approved for use in hazardous area by PTB and Baseefa Ltd (ATEX, IECEx)
The nVent RAYCHEM ArcticStep is certified for use in Hazardous area Zone 1 and Zone 2 (Gas and Dust)
BTV System Approval information
SGS20ATEX0048X
- II 2 GD: Ex 60079-30-1 eb IIC T6 Gb
- IECEx BAS 20.0011X: Ex 60079-30-1 tb IIIC T80°C Db
QTVR System Approval information
SGS20ATEX0050X
- II 2GD: Ex e II T4 Ex 60079-30-1 eb IIC T4 Gb
- IECEx BAS 20.0013X: Ex e II T4 Ex tD A21 IP66 T130°C
Specific Conditions of Use for QTVR and BTV Heating Systems
| The following limiting temperature for the end seals shall not be exceeded: |
| +110°C for the S-20 and E-20 (BTV Max 85°C) |
| The end seals, splices and power connections have the following associated ambient temperature ranges: |
| −60°C to +56°C for the E-20 and S-20 |
| −55°C to +56°C for the T-100, JBM-100, JBS-100, JBU-100 and E-100 |
| −40°C to +40°C for the JBM-100-L, JBS-100-L, JBU-100-L and E-100-L |
| −55°C to +110°C for the C25-21 and C25-100 |
| −60°C to +180°C for the C25-100-Metal and C3/4-100-Metal |
| • The assembly of glands, splices and end terminations shall be carried out in accordance with the manufacturer’s instructions. • The heating element supply circuit must include an electrical protection device in conformity with Clause 4.4 of EN 60079-30-1. • The minimum installation temperature is −60°C. The minimum bending radii at specific temperatures for the Type QTVR units are shown in the table in the equipment description of the hazardous area certificates. • The supply to the heating unit must be terminated in a suitably certified terminal enclosure. • The minimum installation temperature for E-20 and S-20, end seal and splice is −20°C. • The installer is to carry out a dielectric strength test on Ex equipment in which the C25-21, C25-100 and C25-100-Metal and C3/4-100-Metal connection kit is fitted. No dielectric breakdown shall occur. (Alternatively an insulation resistance test may be undertaken in accordance with EN 60079-30-2). |
GENERAL INFORMATION
Use of the manual
This manual covers storage, handling, testing, and the step-by-step procedure for installation of a nVent RAYCHEM ArcticStep system on the external surface of vessel decks for the prevention of ice build-up. The instructions must be followed to ensure the ArcticStep panels are installed correctly and in line with nVent design requirements.
Explanation of icons
- Important instructions are marked Important
- Warnings are marked WARNING!
Prior to commencing installation, the installing technician must be thoroughly familiar with the contents of this manual and must ensure that a complete set of tools and test equipment required to install and test the ArcticStep panels are on hand. Refer to the project turnover package/system drawings provided by nVent (if applicable) for the list of materials being supplied. The turnover package/system drawings will include design specifics on the system and a complete Bill of Materials for all parts provided by nVent. The turnover package/system drawings are the controlling documents and must be referenced during installation.
Important: The performance of the nVent RAYCHEM ArcticStep system is based on the use of nVent specified parts and procedures. Do not substitute fixtures, tooling, or components. Follow all installation procedures completely.
Safety guidelines
The safety and reliability of any ArcticStep system depends on the quality of the products selected, and on proper design, installation, and maintenance. Incorrect design, handling, installation, or maintenance of any of the system components can cause damage to the ArcticStep system, and may result in system failure, electric shock, or fire. The guidelines and instructions contained in this guide are important. Follow them carefully to minimise these risks and to ensure that the ArcticStep system performs reliably.
Typical system
Figure 1 shows a typical ArcticStep installation route. It consists of the ArcticStep panels, toe clamps, cable channels and junction boxes.
Fixing examples
The ArcticStep panel fixes to the deck using specially designed stainless steel toe clamps, which are held in place using stainless steel threaded mechanical fixings that are installed into pre-drilled holes in the deck surface.
Component parts
ArcticStep panels examples


ArcticStep panels are available in two sizes, a supplementary 90° corner section and custom sizes. The figures above shows examples of the 1 metre x 1 metre, 2 metre x 1 metre, and the 1 metre x 1 metre corner panel.
Important: As different power variants of each panel type are available, it is important to check each panel part number prior to installation to ensure that the correct panel is installed in the correct location.
Cable channels (Figure 7) are used to route the ArcticStep panel connection cable between the ArcticStep panels and the system junction boxes (Figure 8).
The cable channels are held in place on a solid deck surface using the toe clamp (Figure 3). The Toe Clamps are fixed in place using M10 stainless steel mechanical fixings (Figure 2).
STORAGE AND HANDLING
The storage and handling measures below will minimise the possibility of damage to the ArcticStep panels and personal injury.
Storage
To protect the ArcticStep equipment from physical damage and the environment, store indoors and protect from moisture, construction equipment, falling objects, chemical spills, moving vehicles, and other hazards. The floor must be flat and the ArcticStep panels must also be stored in a horizontal position.
Receipt inspection
The responsible person must complete the receipt inspection record in appendix A or any project specific documentation, when the ArcticStep equipment is received.
Storage measures
- Store the equipment indoors in a clean, dry location, preferably in the shipping crate until required at the work location
- If indoor storage is not available, cover at all times with a waterproof cover to protect against precipitation and water spray
- Do not stack ArcticStep panels more than 2 units high
- Do not store ArcticStep panels upright on their edges
- Storage temperature is −40°C to +90°C

Handling
- Wear appropriate personal protective equipment (PPE) when handling the ArcticStep panels
- Only handle multiple panels utilising lifting equipment designed for that purpose
- Do not drop panels from any height, particularly from trucks or other transporting equipment
- Lift or handle panels in such a manner that the lifting / handling equipment does not make direct contact with the panel or its protective covering
- Ensure that the connection cable ends are protected against crushing and damage
- During all transport, storage, and handling, ArcticStep panels should remain in their packing cases/crates and in a horizontal position until required

Manual handling
Due to the size and weight of the ArcticStep panels, it is not advisable to carry any unit unaided.
| Low / Medium power | High power | |
| 1 m x 1 m panel | 19.7 kg | 21.0 kg |
| 2 m x 1 m panel | 37.9 kg | 40.7 kg |
| 1 m x 1 m corner panel | 19.4 kg | 20.5 kg |
Table 1: Estimated weights of ArcticStep panels
- Any manual handling and lifting activities should be well planned and evaluated (refer to task risk assessment) before attempting the manoeuvre
- Ensure that the work area and travelling route is clear and free from obstructions
- Wear appropriate PPE, with extra attention to hand, finger and foot crush protection
- Safe guidelines for any lifting operations are shown in figure 11 and figure 12 below:



PRE-INSTALLATION
This section deals with several factors for consideration prior to carrying out the installation. It is highly recommended that the ArcticStep panel installation is pre-planned and the route survey carried out each time before commencing installation works. It is important to ensure that the proper tools and equipment are on hand and that personnel are properly trained and qualified for the specific task they are performing.
All applicable rules and regulations, local and national laws, and regulatory standards must be followed throughout.
All personnel involved in the installation operations should attend safety tool box talks and/or installation coordination meetings prior to commencement of the installation. During installation, regular checks are required on the proposed route to check for changes and alignment.
Preparedness
Being fully aware and prepared for the installation work is essential to ensure correct installation of the ArcticStep panels. Following the steps below will contribute towards an effective installation.
High-risk work areas and safety barriers
Prior to commencing work, assess the area where installation will be executed. Double check with the vessel controller if the work area is listed as a hazardous zone or as a confined space. When work is executed by others in the same area, always communicate and coordinate with vessel controller to re-assess additional risks.
Ensure the necessary work permits are in place ensure that the proposed route and associated work areas have barriers or are taped off to prevent uncontrolled access to the work area. This should include any doorway, hatch or gangway that could allow uncontrolled access to the work area. Ensure that appropriate safety signs are located to inform other of the dangers in the work area.
If required, liaise with the vessel controller to implement a Permit To Work (PTW) system to control access and egress from the controlled work area.
Site survey information
Prior to the design and installation of the ArcticStep system, a site survey should have been carried out. This survey should include information on the planned route, obstructions and expected locations of system junction boxes.
Refer to any site survey documentation for initial project information and guidance.
Verify route
Prior to commencing the installation, carry out an inspection walkthrough of the installation location to confirm the planned route against any deck plans and the system design information. Check the route for any changes or obstructions that could cause potential problems with the installation.
Installation planning
Important: Please note that due to workspace constraints, the start point of the installation may not be at the beginning of the walkway.
The installation route may include obstructions. Where these obstruction cannot be removed, additional engineering or on site modifications may need to be considered to allow for correct installation. Modifications should only be performed to the site itself or to cable channels. Do not modify panels on site. Where necessary, custom panels should be identified during the site survey and ordered from nVent.
Considering the planned route, identify a suitable location as a datum/start point to commence the installation. Before making the final datum point decision, carry out initial measurements to ensure that the ArcticStep system installation will cover the total planned route without either excess or shortfall.
As the standard installation path can only accommodate angles of 90°, additional consideration needs to be given to any changes of direction of the planned installation when selecting the datum point.
Routing
Prior to commencing the installation, confirm the location of the power connection junction boxes so that the ArcticStep panels can be correctly oriented prior to final positioning.
ArcticStep panels are supplied with a 10 metres long 3-core 1.5 mm2 power cable.
Important: Please note that this cable is factory fitted and cannot be changed. Use suitable local junction boxes to extend power cable length.
Tools and equipment
Ensure that all tools and test equipment required to carry out the installation works are available to hand and are safely and securely stored when not being used.
All test equipment and specialist installation equipment should be within calibration and have valid safety certification as required.
WARNING! Electrical equipment used during the testing and commissioning of the ArcticStep system can cause electric shock.
Observe the voltage rating of the test instrument in use and regard it with appropriate caution. Large electrical equipment and cables usually have sufficient capacitance to store up a dangerous amount of energy from the applied test current. Make sure this energy is discharged after the test and before touching the test leads.
NEVER carry out insulation resistance (IR / megger) test measurements whilst located in flammable or explosive atmospheres as slight sparking can occur:
- When attaching the test leads to equipment in which the capacitance has not been completely discharged
- During a test, arcing through or over faulty insulation
- Following a test when capacitance is discharged
INSTALLATION
Safety
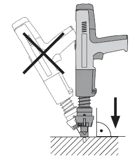
WARNING! The installation method for the toe clamp fixings utilises a powder-actuated tool for driving threaded studs into steel decking.
Only suitably trained and competent personnel should operate the powder-actuated tool.
Pre-job safety
Prior to commencing any job and after breaks, hold a safety toolbox talk with all involved in the project and those working near to your operations. Additional consideration should be given to those working above and below your work location when using the tool.
Wherever possible, access to the working area should be limited only to those trained personnel working directly on the installation of the ArcticStep system.
Operation of the powder-actuated tool requires the use of explosive cartridges. These cartridges and the powder-actuated tool must be stored and handled in accordance with manufacturer’s instructions.
Precautions
• Powder-actuated tool uses explosive cartridges for its operation:
• Only the correct type and rating cartridges should be used as per the powder-actuated tool manufacturers’ guidance
• Do not operate the tool in an explosive or flammable atmosphere, unless the tool has approval for such use
• Ensure that the appropriate hot work permit is in place to use the powder-actuated tool and store the cartridges on the work location. Check with the local requirements and regulations to understand the storage and operation of powder-actuated tools
Powder-actuated tool safety
General tool use
- Only operate the tool in well-ventilated working areas
- Manipulation or modification of the tool is not permissible
- Do not operate the tool in an explosive or flammable atmosphere, unless the tool has approval for such use
- Use only original fasteners, cartridges, accessories and spare parts for the make and model of the powder-actuated tool in use
- Observe the information printed in the operating instructions concerning operation, care and maintenance
- Never point the tool at yourself or any bystander
- Never press the muzzle of the tool against your hand or other part of your body
- Do not drive nails into excessively hard or brittle materials such as glass, marble, plastic, bronze, brass, copper, natural rock, insulation material, hollow brick, glazed tile, thin-gauge sheet metal (< 4 mm), grey cast iron, spheroidal cast iron and gas concrete
Before using the tool
- The operator and other persons in the immediate vicinity must always wear approved eye protection, a hard hat and suitable ear protection
- Ensure that the workplace is well lit
- Removed any objects that could cause injury from the working area
- The tool is for hand-held use only
- Avoid unfavourable body positions. Work from a secure stance and stay in balance at all times
- Keep other persons outside the working area when operating the tool
- Before using the tool, make sure that no one is standing behind or below the point where fasteners are to be driven
- Keep the grip dry, clean and free from oil and grease
Using the tool
Follow the powder-actuated tool manufacturer’s specific operating instructions in addition to the points below:
- Only as operate the tool as directed and in good condition
- Never attempt to pry a cartridge from the magazine strip or the tool
- Keep the arms flexed when the tool is fired (do not straighten the arms)
- Never leave loaded tools unattended
- Always unload the tool before beginning cleaning, servicing or changing parts and before storage
- Unused cartridges and tools not presently in use must be stored in a place where they are protected against the effects of humidity or excessive heat. Transport the tools in a locked toolbox to prevent use by unauthorised persons
- When finished using the tool or before long break periods, unload the cartridges from the tool and store the tool in a safe, dry secure location
Datum setting / Route marking
To assist in the installation and route marking, it is beneficial to mark out an entire section using chalk lines
or laser line marking equipment. The availability of such equipment depends on the location of operation and availability of the same, although both offer similar results.
Since the ArcticStep panels are of a fixed width, it is possible to mark out an entire section; and once confirmed, pre-drill and install all required toe clamp fixings (figure 2) along the working route.
- Determine the centre line for the ArcticStep panel route at the beginning and end of the working section; taking into consideration points previously mentioned in sections 3.5 and 3.6
- Accurately mark centre line along working length using desired method.
- Calculate left side boundary for installation of toe clamp mechanical fixings: (½ panel width + 23 mm) at the beginning and end of the working section
- Accurately mark left side boundary line along working length using desired method
- Calculate right side boundary for installation of toe clamp mechanical fixings: (½ panel width + 23 mm) at the beginning and end of the working section
- Accurately mark right side boundary line along working length using desired method
- Determine datum position (section 3.5) for first ArcticStep panel and place on deck
Laying initial step
- Verify final position against datum, obstructions and route plan
- For 1 metre long ArcticStep panels, measure 250mm from leading and trailing edges along the left and right hand boundary lines and mark as mechanical fixing installation points
- For 2 metre long ArcticStep panels, in addition to the above, measure mid-point between leading and trailing edges along the left and right hand boundary lines and mark as mechanical fixing installation points
- Remove the ArcticStep panel from deck and store safely
- Continue marking along boundary lines at calculated distances along planned route
The toe clamps are designed so that Hilti studs can be installed with the panels in place. There is intended to be sufficient space to place the pre-drill and the installation gun next to the panel to install the stud, and place a toe clamp over the stud. This technique has not been verified, but may be worth mentioning as an alternative for straight section panels. Corner panels do require installing a stud under the panel before final placement of the panel. 

Installation method
The direct fastening technology mechanical fixings (figure 2) which hold the toe clamps (figure 3) in place are especially hardened studs that are driven into steel using a powder-actuated tool.
Prior to installing the studs into the deck steel, an insertion hole is required in the deck at the previously identified locations. These insertion holes are drilled using special stepped-shank drill bits that not only create the 4 mm insertion hole to the correct depth, but also a 7 mm polished face to allow the seal membrane to deploy correctly.
The blunt-tipped fastener with a shank diameter of 4.5 mm is driven in the pre-drilled 4.0 mm diameter insertion hole that leads to displacement of the base material.
Part of the base steel punches down into the pre-drilled hole, generating high temperatures and causing friction welding.
Insertion holes
As mentioned in the previous section, the insertion holes are drilled using stepped shank drills, examples of which are shown in figure 18 below: 
To install direct fastening technology mechanical fixings:
- Identify the first pre-measured installation location.
- As a drill has the tendency to “wander”, first mark the location with a centre punch to form a large enough dimple to “guide” the tip of the drill.
- Pre-drill insertion hole until shoulder creates a shiny ring.

- The drill hole and the area around drilled hole must be clean and free from liquids and debris.

Fixing method
Most adaptable direct fastening technology fixings available require the use of specialist tools to correctly install and complete the fixing. As with the use of any hand tools, all appropriate PPE must be worn during their operation. However, these specialist tools often use explosive cartridges and great care MUST be taken during their storage, handling and use. Only trained and competent personnel should operate the tools.
Powder cartridge actuated tools
The following is only to be used a guide as to the correct operation of powder cartridge actuated tools.
To install direct fastening technology mechanical fixings, the specific operating instructions for the tools in use should always be followed.
Driving threaded studs
| 1 | Push the threaded stud into the tool threaded end first, as far as it will go, until the tool retains it. | |||
![]() | ||||
2![]() | Position the threaded stud in the pre-drilled hole and then press the tool against the working surface at right angles. | |||
3![]() | Pull the trigger to drive the stud.
Do not drive studs into damaged or previously used holes. | |||
4![]() | WARNING! Never attempt to re-drive the same threaded stud by firing the tool a second time. | |||
Cable routing
Prior to fixing ArcticStep panels to the deck, consideration is required for the power cable routing.
The ArcticStep panel side channels are designed to also function as cable containment to allow for the power cables from adjacent panels to be routed to a convenient exit point and connection to system junction boxes.
Care should be taken when placing the panels so as not to cause damage to any power cables that may be placed inside the side channels.
Panel fixing
Reinstall initial ArcticStep panel as in section 4.6 taking care not to damage installed mechanical fixings or connected cables.
- Present the ArcticStep panel within the previously marked boundary lines and adjust positions so that the panel aligns to the installed mechanical fixings, taking note of the distances below:

- Place toe clamps onto installed mechanical fixings and fit anti-vibration washer and fixing nut:

- Use torque wrench to tighten nut onto clamp to ≤ 8 Nm (5.9 ft-Ib):

- Repeat above steps for all mechanical fixings for each ArcticStep panel until all are secured into place
Cable channels
As previously mentioned in section 4.12, power cables can pass through the ArcticStep panel side channels. The below shows an illustration of this: 
Where ArcticStep panel power cables are required to transverse to an adjacent junction box, additional cable channels are installed between the edge of the ArcticStep panel and the junction box. These cable channels provide additional mechanical protection and containment to the power cables. The cable channels are installed in a similar manner to the ArcticStep panel mechanical fixings.
Installing cable channels
Cable channels are supplied in a fixed length and can be to be cut to length to suit the installation requirements. The cable channels do not have any fixing holes to allow for flexibility in their installation and holes are to be drilled as required.
The cable channels includes a small groove (drill guide) to assist in drilling the fixing holes to prevent the drill bit from “wandering”. as the mechanical fixings are M10, drill ∅ 11 mm clearance holes in the cable channels to allow the mechanical fixings to pass through. 
To fix cable channels in place:
- Measure and cut cable channel to desired length
- Mark and drill clearance holes in cable channel as required at suitable locations along the drill guide whilst considering potential obstructions and holes in the mounting deck.

- Place the cable channel on the deck along the desired cable route
- Mark deck through drilled clearance holes in cable channel
- Remove cable channel and drill insertion holes at marked locations as shown in section 4.8
- Install direct fastening technology mechanical fixings as shown in sections 4.8 thru 4.11
- Refit cable channel to deck including power cables taking care not to nip or trap power cables at pinch points

- Use torque wrench tighten nut onto clamp to ≤ 8 Nm (5.9 ft-Ib)
Repeat above steps for all mechanical fixings for each cable channel until all are secured into place
Junction Boxes

The ArcticStep system junction boxes are usually used to make the final connections between the ArcticStep panels and the power and control system; although existing suitable junction boxes can also be used.
Insulation resistance (megger) testing
Insulation resistance (IR) testing is conducted using a megger style instrument and tests the integrity of the ArcticStep panel heater.
Insulation resistance testing is recommended at three stages during the installation process:
- Before installing the ArcticStep panels
- Prior to terminating the ArcticStep panel connecting cable into the junction box
- Prior to initial start-up (commissioning)
- WARNING! Shock hazard – The ArcticStep panel heater can store a charge. Take care to fully discharge the heater prior to disconnecting the megger.
Turning off the power and setting the voltage selector switch to zero discharges most megger. Some megger have a separate discharge mode. - WARNING! Fire hazard in hazardous locations megger tests can produce sparks. Be sure there are no combustible gases or vapours in the area and obtain a hot work permit (if required) before performing this test. Refer to site procedures for requirements regarding electrical tests in hazardous locations.
The insulation resistance should be checked using a 2500 Vdc megger. The positive (+) lead of the megger is connected to the live and neutral conductor of the cold lead cable simultaneously. The negative (-) lead of the megger is connected to the earth conductor of the cold lead cable.
The minimum reading should be at least 50 MΩ.
Record the result of the test on the installation record sheet on page 22.
If the reading is lower, consult section 5 troubleshooting.
TROUBLESHOOTING
System issues
Where the ArcticStep system does not appear to be operating correctly, refer to the troubleshooting points in the tables below:
| Symptom | Probable causes | Corrective actions |
| Low or inconsistent insulation resistance | Nicks or cuts in the heating cable | Check power cable for cuts Check underside of ArcticStep panel for signs of damage |
| Short between the braid and heating cable core or the braid and earth / ground | Replace ArcticStep panel | |
| Arcing due to damaged heating cable insulation | Replace ArcticStep panel | |
| Moisture present in the components | Replace ArcticStep panel | |
| Test leads touching the junction box, earth/ground | Clear the test leads from junction box and restart | |
| Reference tests | Insulation resistance test, visual inspection | |
| Symptom | Probable causes | Corrective actions |
| Circuit breaker trips | Circuit breaker is undersized | Recheck the design for startup current loads. Replace the circuit breaker if defective or improperly sized. Check underside of ArcticStep panel for signs of damage |
| Start-up at too low a temperature | Recheck the design for startup temperature and current loads. Do not exceed the maximum number of installed panels per circuit breaker. Check to see if existing power wire sizing is compatible with circuit breaker. | |
| Connections and/or splices are shorting out | Check underside of ArcticStep panel for signs of damage | |
| Physical damage to heating cable is causing a direct short | Replace ArcticStep panel | |
| Nick or cut exists in power cable or moisture in connections | Replace ArcticStep panel | |
| Residual current protective device (RCD) is undersized (5 mA used instead of 30 mA) or incorrectly wired | Replace RCD unit with one for 30mA trip level | |
| Reference tests | Insulation resistance test, visual inspection | |
| Symptom | Probable causes | Corrective actions |
| Low panel temperature | Improper voltage applied | Confirm the system design and operating voltage and modify as required |
| Reference tests | Power check, visual inspection | |
| Symptom | Probable Ccauses | Corrective actions |
| Low or no power output | Low or no input voltage applied | Repair the electrical supply lines and equipment |
| Improper component connection causing a high-resistance connection | Check for loose wiring connections and rewire if necessary | |
| Reference tests | Power check, visual inspection | |
Corrective actions
Except for those issues included in the troubleshooting tables above, there are no user serviceable parts on the ArcticStep panels. Where a defect or issue cannot be resolved by using the guide above, the affected component must be replaced.
Appendices
A. Goods receipt inspection forms
| Installation information – goods receipt inspection | |||||||
| Vessel Name: | Install Location: | Install Period: | Start | End | |||
| Project ref: | |||||||
|
Serial number | ArcticStep inspection results | ||||||
| Exterior packaging | Surface finish | Panel underside | Power cable | Notes | |||
Installation records
The following pages record the serial number and insulation testing results of installed panels used on the ArcticStep system installation.
Installed ArcticStep panel serial numbers
Complete this sheet and retain for future reference.
Installed ArcticStep panel serial numbers
| Installation information – as installed | ||||||||
| Vessel Name: | Install location: | Install period: | Start | End | ||||
| Project ref: | ||||||||
| Serial number | Item description | Insulation resistance test result | Notes | |
| Before installation | After installation | |||
If additional record sheets are required, copy and/or print additional blank sheets before recording information.
North America
Tel +1.800.545.6258
Fax +1.800.527.5703
[email protected]
Europe, Middle East, Africa
Tel +32.16.213.511
Fax +32.16.213.604
[email protected]
Asia Pacific
Tel +86.21.2412.1688
Fax +86.21.5426.3167
[email protected]

















Repeat above steps for all mechanical fixings for each cable channel until all are secured into place

















