nVent RAYCHEM Heating System RHS Tank Heater Instruction Manual
DESCRIPTION
nVent RAYCHEM Heating System (RHS) tank heaters are designed for applications ranging from freeze protection to process maintenance of tanks. The RHS-H heaters have a defined application parameter for use only on unlined metal tanks with fluid maintain temperatures not to exceed 200°F. The RHS-L heaters have a broader application range for use on polypropylene, fiber-reinforced plastic (FRP), or for both lined and unlined metal tanks with fluid maintain temperatures not to exceed 120°F. RHS heaters must be used in conjunction with a primary control thermostat. RHS heaters have an integrated thermostat which must be used only for over-temperature protection in the event of failure of the primary thermostat. These instructions describe the procedure for installation of RHS tank heaters. Storage and handling instructions are also provided. Carefully follow all directions. RHS heaters come with a factory-supplied, liquid-tight conduit and fitting to transition heater cold-lead wires into the conduit. The cold lead wires are 14 AWG copper conductors with Teflon insulation. For technical assistance, contact nVent at (800) 545-6258.
ADDITIONAL MATERIALS REQUIRED
- nVent RAYCHEM RHS Installation Kit (P/N 844869)
- nVent RAYCHEM thermostat or equivalent
- nVent RAYCHEM BCK-35 clamp kit (P/N C77215) or equivalent
- Thomas and Betts 5232 conduit fitting and 5302 sealing ring or agency approved equivalent
WARNING
The RHS heater must be installed correctly to ensure proper operation and to prevent shock or fire. Read these important warnings and carefully follow all the installation instructions.
- To minimize the danger of fire if the heater is damaged or improperly installed, and to comply with nVent requirements, agency certifications, and national electrical codes, ground-fault equipment protection must be used on each heater branch circuit.
- Damaged heaters and connections must be replaced. Do not attempt to repair or energize if damaged.
Approvals and performance are based on the use of specified parts only. Do not use substitute parts or vinyl electrical tape. - Leave these installation instructions with the user for future reference.
CAUTION
Uncured adhesive can irritate eyes. Read warnings on tube. Consult MSDS VEN0004 for additional information.
RHS storage
- Keep each heater in its box until you are ready to install it.
- Store the box in a cool, dry environment.
Handling
IMPORTANT: This heater is an electrical device. Handle it with the same care you would use with any electrical device and carefully follow these instructions.
- In the field, keep the heater in its box until you are ready to install it on the tank.
Tank preparation
- Inspect the tank surface. The installation area must be free of
- Sharp protrusions (weld splatter, rough seams, etc.)
- Rust and corrosion
- Grease, oil, moisture
- Obstructions, such as instrument lines, electrical wiring or conduit, tank support, or reinforcements.
- File, sand, or sandblast the tank surface as required to provide a smooth, rust-free paintable mounting area large enough for the heater you are using plus 3 inches beyond the heater outline. For polypropylene or fiber-reinforced plastic (FRP) tanks, use 60-grit sandpaper to roughen the tank surface, going a minimum of 3 inches beyond the heater outline.
- The tank surface must be free of grease, oil, and moisture.
- The tank surface and the RHS heater must be clean and dry until adhesive has fully cured
Preparation
- Perform an insulation resistance megohmmeter (Megger) test on the heater immediately after removing the heater from the shipping carton. Instructions on how to perform the Megger test are in the “Testing and Maintenance” section.
- Using an ohmmeter, measure the heater resistance using the white and black cold leads. If the resistance is greater than 450 ohms, call your nVent representative.
- Install the tank heater below the typical minimum fluid level. If this level is unknown, install heater on the lower 1⁄3 of the tank. This will ensure proper heat to the liquid.
- Do not attach the flexible conduit to the heater at this time, as the weight will make the installation to the tank more difficult
- Before proceeding with the installation, make sure that you have sufficient RHS Installation Kits (P/N844869). Note: RHSH-500 and RHS-L-150 heaters will each require approximately one adhesive tube; RHS-H-1000 and RHS-L-300 heaters will each require approximately one and one half tubes; RHS-H1400 and RHS L-420 heaters will each require two tubes.
- Hold the RHS heater against the tank and, using a marking pen, outline the heater perimeter.
- The tank surface must be prepared as stated under “Tank preparation” on the previous page and be free of grease, oil, and moisture. The tank surface temperature should be between 0°F (–18°C) and 150°F (65°C) for proper installation.
Heater preparation - Place the heater on a flat surface with the metal ground plate facing up. Using the aluminum tape included with the mounting kit, place two strips along both vertical ends. Half the tape should overlap the heater’s edge and the ends of tape should extend 3 inches beyond the heater.

- Place two more strips of aluminum tape horizontally across the heater, one inch in from the heater’s edge.

- Turn the heater over so that the red silicone rubber surface is facing up. Wipe the silicone surface with a soft cloth to remove any dirt or debris.
- Unscrew the cap from the adhesive tube. Cut off the end of the adhesive tube at the first thread. Cut one inch off the cap and screw it back on the tube. Note: The adhesive working time is approximately 10 minutes. Application and spreading of the adhesive must be done quickly, without interruptions. Do not attempt to install the heater if the adhesive is tack free to the touch. Partially cured, tack free adhesive will inhibit adhesion and thermal transfer to the tank, which can lead to heater damage. Note health warnings on adhesive tube.

- Apply the adhesive only on the red silicone rubber portion of the heater. The adhesive bead should be approximately 1/4 in in diameter and spaced approximately 1/2 in apart placed in a serpentine pattern across the width of the heater.

- Using the straight edge of the trowel, distribute the adhesive evenly on the red silicone rubber portion of the heater. Fill in voids or gaps with additional adhesive. Once smoothed, the adhesive thickness should be no more than 1/16 in thick.

Heater installation on tank
IMPORTANT: The tank heater must be installed with good contact to the tank wall. Inadequate contact, excessive adhesive, or voids in the adhesive may result in lower tank heater efficiency.
- Holding the heater by the terminal box and the opposite end, place the heater on the prepared tank surface. While still holding the terminal box, use the wedge to smooth the aluminum tape to the tank surface. Remove all ripples from the tape to ensure it will hold securely.

- . Using the wedge, starting from the center of the heater and working out to the perimeter, ensure you spread the adhesive evenly and remove any trapped air.
- Place three more vertical strips of aluminum tape on the heater. The first strip should be located next to the terminal box. The second strip should be placed 6 inches in from the opposite end. The third strip should be placed at the heater centerline. Use the wedge to smooth the aluminum tape.

- The adhesive must be allowed 24 hours to fully cure before you install the flexible conduit and thermal insulation. After 24 hours, the two exposed horizontal edges must be sealed with aluminum tape. This will prevent contaminants from getting under the heater. The tape should extend approximately 1.5 inches beyond the edges of the heater.

Flexible conduit installation
- After the adhesive has been allowed to cure for 24 hours and the heater horizontal edges sealed with aluminum tape, you may attach the flexible conduit. A 4-foot length of flexible conduit is provided with the heater.
- Measure the distance between the heater terminal box and power junction box. Use standard industry practice to cut conduit to appropriate length.
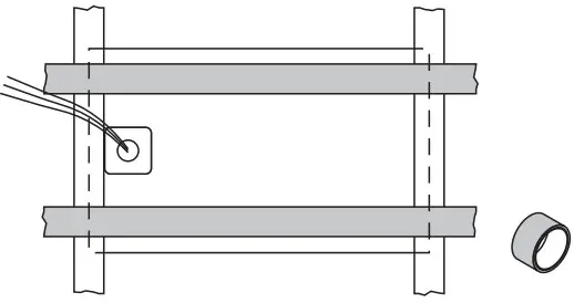
- Connect the conduit to the power junction box first. Use a Thomas and Betts 5232 conduit fitting and 5302 sealing ring (or agency approved equivalent) to keep the enclosure watertight and dust tight.
- Connect the conduit to the heater terminal box. Make sure the blue nylon bushing is seated on the heater terminal box fitting. Place one wrench on the hexagonal nut located on the heater terminal box. This nut must not rotate during installation. Hand tighten the cap nut and then use a second wrench to completely tighten. The fitting manufacturer recommends 25 foot pounds of torque to be applied.
- Fully insulate tank. Place identification labels on insulation, showing the location of the heater beneath.
Thermostat installation and connection
- Install and connect the primary thermostat(s) as shown in the thermostat installation instructions. The wiring diagrams provided on the next page are for reference only.
- Install the primary thermostat bulb midway between two RHS heaters or heater and heat sink at the same level as the heaters. The bulb should be placed horizontally around the tank using a nVent RAYCHEM BCK-35 (P/NC77215) clamp kit or equivalent.
- Connect the primary thermostat(s) and heater cold leads as shown in the thermostat installation instructions. The heater ground is the cold lead wire with green insulation.
- Use the GFEPD circuit breaker specified on the design or installation drawing.
Ground-Fault protection
Section 427.22 of the NEC and nVent require 30-mA ground-fault protection on all electrical heating equipment. All RHS heater circuits are required to be protected with a 30-mA ground-fault protection device (GFPD). This device will minimize the risk of fire or shorting by shutting off the power to the circuit whenever a significant ground-fault current is detected. Suitable circuit breakers with ground-fault protection can be purchased through nVent.
TYPICAL WIRING DIAGRAMS
Connecting a single RHS heater
Phase-phase or phase-neutral, no contactor
Connecting RHS heaters in parallel
- 4-wire, 3-phase with contactor

- 3-wire, phase-phase with contactor

- Phase-neutral, no contactor

- IMPORTANT: Ground fault protection devices, although required are not normally displayed in typical single or parallel wiring diagrams similar to those shown above.
TESTING AND MAINTENANCE
Insulation resistance (Megger) test
The megohmmeter (Megger) test verifies that the heater has not been damaged during installation or operation. Perform this test with both power leads disconnected from the distribution system. Also disconnect the thermostat. We recommend making the Megger connections at the junction or splice box where the RHS cold leads are connected to power. When performing this test during normal maintenance, disconnect the cold leads before testing the heater
nVent recommends performing the Megger test at 2500 Vdc; 500 Vdc is the minimum (acceptable) test voltage.
- Connect the positive lead of the Megger to both power leads of the heater. Connect the negative lead to the ground (green) wire of the heater.
- Set the voltage at 2500 Vdc (500 Vdc minimum) and turn the Megger on.
- Apply voltage for one minute. Minimum insulation-resistance value should be greater than 20 megohms.
- Turn the Megger off and discharge the heater to the ground, if not automatically done by the Megger. Go to Step 5 if the heater is installed on a metal surface. If the heater is on plastic, the Megger test is complete at this point.
- Move the negative lead of the Megger from the heater ground wire to the metal tank surface.
- Repeat Steps 2, 3, and 4 to test the integrity of the insulating layer attached to the tank surface
Note: If the Megger value is less than 20 megohms in either Step 3 or Step 6, find and remedy the cause. Some things to look for include the following:
- Were the Megger leads connected correctly?
- Was the thermostat bypassed?
- Are connections in the junction box correctly made?
- Is there water in the junction box?
- Is there damage to the RHS or its power cord?
(Caution: Do not attempt to repair a damaged heater. It must be replaced.)
Performance test
This test checks that the system—including thermostat, contactor, and connections—is working properly
- When the heaters and controls are installed and connected to power, and the tank or vessel is thermally insulated, fill the tank with fluid to a level above the heater locations.
- Measure the temperature of the tank fluid.
- Turn the circuit breaker on.
- Set the primary thermostat at a temperature about 20°F higher than the fluid temperature measured in Step 2. This action energizes the heaters.
- Allow the heater(s) to be powered for about five minutes, then measure the voltage and current. Note these values in the maintenance log as a reference for future maintenance checks.
- Lower primary thermostat set point to ensure that the heater shuts off.
- Set primary thermostat to desired set point.
Maintenance
Perform the Megger test on each RHS heater at least once a year. Where multiple heaters are connected in parallel, disconnect and individually test each heater.
A performance test should also be done once a year. Check control thermostats at that time. Things to look for include the following:
- Control switching at the proper temperature.
- Signs of corrosion inside the thermostat housing.
- Mechanical damage or corrosion to the capillary or temperature sensor.
- Corrosion of the microswitch inside the housing.
North America
Tel +1.800.545.6258
Fax +1.800.527.5703
[email protected]
Europe, Middle East, Africa
Tel +32.16.213.511
Fax +32.16.213.604
[email protected]
Asia Pacific
Tel +86.21.2412.1688
Fax +86.21.5426.3167
[email protected]
Latin America
Tel +1.713.868.4800
Fax +1.713.868.2333
[email protected]































