nVent RAYCHEM ETS-05 Electronic Thermostat

Product Information
ETS-05 Electronic Thermostat Ti
The ETS-05 electronic thermostat Ti is a temperature control device that is designed to regulate heat tracing and heating cables. It comes with an enclosure that has cable entries, temperature sensor terminals, power and heat tracing terminal blocks, an alarm relay, and temperature setting dials. The device has different versions with varying setpoint range, voltage range, and approval status.
The device has two types of terminals, namely the thermostat terminals and the sensor/failure mode select terminals. The maximum switch current is 32 A resistive, and the voltage rating is Um = 253 Vac for all versions except for the extended voltage range version, which has Um = 277 Vac. The device requires an external sensor, which needs to be purchased separately.
Product Usage Instructions
ETS-05 Electronic Thermostat Ti
- Before installing the ETS-05 electronic thermostat Ti, ensure that the pipe and sensor are thermally insulated and clad to the design specification. After installation of the thermostat, seal the cladding with a sealant.
- To attach the sensor to the surface, fix it firmly in two places using adequate fixing tape. Ensure that the sensor is fixed parallel to the pipe and route the extension cable to avoid damage during use. Fix the extension cable to the pipe with adequate tape where appropriate.
- The ETS-05 electronic thermostat Ti comes with temperature setting dials that can be adjusted according to the desired setpoint range. The device has an alarm relay that activates when a fault is detected. The failure mode select terminals have a link that can be removed or connected to turn the output on or off.
- When testing the device, ensure that it is isolated elsewhere for a minimum of 1 minute before opening. Retain the product instruction manual for future use, such as setting, testing, maintenance, etc.
TOOLS REQUIRED
THERMOSTAT TERMINAL
- A Thermostat enclosure
- B Cable entries (2 x M25, 1 x M20 + 1 x M16)
- C Temperature sensor terminals
- D Power and Heat Tracing Terminal blocks (max. 6 mm2)
- E Alarm Relay
- F Temperature setting dials
WIRING
- A Power Terminals
- B Sensor Terminals
- C Alarm Relay
- D Heating cable
- E Link 3-4 removed = output OFF
- F Link 3-4 connected= output ON
ETS-05 (EAC)
ATEX Baseefa13ATEX0137 II 2(1)G Ex eb ia mb [ia Ga] IIC T5 Gb −40°C ≤ Ta ≤ +60°C II 2D Ex tb IIIC T100°C Db
IECEx BAS 13.0071
Ex eb ia mb [ia Ga] IIC T5 Gb (−40°C ≤ Ta ≤ +60°C)
Ex tb IIIC T100°C Db (−40°C ≤ Ta ≤ +60°C)
All ETS-05 version marked with (EAC) have the
following EAC Ex certification*:
ЕАЭС RU C-BE.AЖ58.B.02648/22
ООО Центр «ПрофЭкс»
1Ex e ia mb [ia Ga] IIC T5 Gb
Ex tb IIIC T100°C Db IP66 –60°C ≤ Ta ≤ 60°C
The ETS-05 is available in the following versions: ETS-05-AB-CD-E
Letters ABCDE described in table below
| Type Description ETS-05 | ||
| “A”: | Setpoint Range | Temperature Measurement Range |
| A: Ambient Sensing L: Line sensing, Low Temp H: Line Sensing, High Temp. | 0˚C to 49˚C 0˚C to 199˚C 0˚C to 499˚C | −65˚C to 260˚C −65˚C to 260˚C −65˚C to 585˚C |
| “B” | Voltage Range | |
| 1: 110 Vac 1R: 110 Vac 2: 230 Vac 2R: 277 Vac | 99-121 Vac 99-132 Vac 195-230 Vac +10% 195-277 Vac + 3% | |
| “C” | ||
| E: ATEX / IECEx approved (IEC countries) J: ATEX / IECEx approved (for Japan) | ||
| “D” | ||
| P: Earth plate | ||
| “E” | ||
| A: Alarm Relay | NO and NC contacts | 275 Vac, 3A resistive load max |
Type Description ETS-05
Examples:
- ETS-05-L2-EP: ETS-05 thermostat, setpoint range 0-199˚C, 195-230 Vac, ATEX/IECEx approved, Earth Plate
- ETS-05-H2R-EP-A: ETS-05 thermostat, setpoint range 0-499˚C, 195-277 Vac, ATEX/IECEx, Earth Plate, Alarm Relay
IMPORTANT: The ETS-05 for EAC countries does not include a sensor. The sensor needs to be purchased seperately
Power terminals
- Terminals 2 and 3 are joined electrically
- Terminals 5, 6 and 7 are joined electrically
Note: Do not remove Earth connecting wire
Sensor/Failure mode select terminals
- Terminals 1 to 3 allow for the connection of a three wire sensor.
- Terminals 3 to 4 allow the user to select the default heating status on sensor error:
- Without a link fitted the heating will turn OFF if a sensor error is detected (default)
- With a link fitted the heating will turn ON if a sensor error is detected
Alarm relay
- Healthy situation: 1-3 is closed, 2-3 is open
- Alarm situation: 1-3 is open, 2-3 is closed
Voltage and current rating
Maximum switch current 32 A resistive
- Um = 253 Vac for all versions except Extended Voltage Range
- Um = 277 Vac for all other versions
Note: Only Ex eb and Ex tb equipment certified cable glands or stopping plugs which employ a sealing washer or gasket may be used.
INSTALLATION INSTRUCTIONS THERMOSTAT
Instructions on the use of the equipment and safety measures
- Do not connect/disconnect equipment unless power has been switched off or the area is known to be non-hazardous.
- Follow all applicable wiring codes and regulations.
- Peripheral equipment must be suitable for the location in which it is used.
- Only technically qualified service personnel are permitted to install or service the equipment. Only to be installed in hazardous area by trained electrical installer with basic knowledge about explosion safety.
- Do not disassemble the system – no user-serviceable parts inside.
- Do not operate the equipment if it has been damaged
Enclosure installation ETS-05 line-sensing thermostat
Alternative mounting arrangements are shown above (4 mounting holes, M6 clearance at 106 x 82 mm). For optimized temperature control install the unit remote from sensor bulb. Locate enclosure at appropriate place to avoid exposure to mechanical and thermal damage (do not mount on pipe for high temperatures).
WARNING: When working in damp or wet conditions protect the thermostat contents from water ingress, by closing lid when not working on the assembly.
Enclosure installation ETS-05-A2-E (ambient sensing thermostat)
For optimized temperature control locate the thermostat:
- As indicated in the system design documentation
- So that the sensor is exposed to the coldest conditions
- So that the sensor is not exposed to direct sunlight where possible
- So that the sensor is exposed to the strongest wind
- To ensure that no snow can build up around the sensor
- To avoid exposure to mechanical and thermal damage
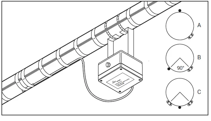
Location of the sensor ETS-05
- As indicated in the system design documentation
- Away from valves, flanges, supports, pumps, or other heat sinks
- At the top of the pipe for thermally sensitive pipe contents (A)
- On lower quadrant of pipe 90° for single heating cable (B)
- On lower quadrant of pipe centrally between the heating cables if they are two or more (C)
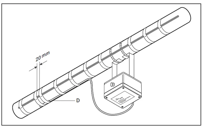
Attachment of the sensor ETS-05
WARNING: Do not install sensor at ambient temperatures below –20°C. Do not bend sensor (last 50 mm), keep it straight under all circumstances. Minimum bending radius for High Temperature Mineral Insulated Sensor extension cable is 20 mm.
- Fix sensor firmly on surface with adequate fixing tape in two places (D)
- Fix sensor parallel to pipe (D)
- Route extension cable to avoid damage in use. Fix to pipe with adequate tape where appropriate
Complete installation ETS-05
Ensure that the pipe and sensor are thermally insulated and clad to the design specification after installation of the thermostat. Seal cladding with sealant (A). When thermostat installation is complete, test as described in the Testing & Commissioning Section. Retain this instruction for future use, e.g. setting, testing, maintenance etc.
Temperature setting dials
If necessary, loosen the lid screws and remove lid. Adjust digital switches to switching temperature (˚C). The switches present the setpoint temperature in three digits (100, 10, 1). Locate lid and tighten lid screws.
WARNING: Ensure the thermostat is isolated elsewhere for a minimum of 1 minute before opening.
High-Temperature version 0˚C – 499˚C
Low-Temperature version 0˚C – 199˚C
Ambient version 0˚C – 49˚C
Testing, commissioning, and maintenance
Test heating cable when thermostat installation is complete as directed in nVent Installation and Maintenance manual. Maintain thermostat during normal plant maintenance.
CHECK:
- Mounting is firm
- The exposed extension cable is not damaged
- Gland sealing washer is in place
- The gland seal (grommet) is in place
- The gland body and nut(s) are tightened firmly
- The thermostat operation is correct
- Thermostat setting suites application
- The lid is closed firmly
- Earth wire connecting Earth stud to terminal block Earth is present and secure
- The cable type is correct (Insulation >255V and temperature rating to suit application)
- Note: Cable gland heat-rise could reach 30K
- Not more than one conductor may be connected to power terminal block without the use of a single insulated bootlace ferrule
nVent.com/RAYCHEM
©2022 nVent. All nVent marks and logos are owned or licensed by nVent Services GmbH or its affiliates. All other trademarks are the property of their respective owners. nVent reserves the right to change specifications without notice.
RAYCHEM-IM-EU2012-ETS05EAC-ML-2205
Suomi
Puh. 0800 11 67 99
[email protected]
Sverige
Tel. +46 31 335 58 00
[email protected]
Türkiye
Tel. +90 560 977 6467
Fax +32 16 21 36 04
[email protected]
United Kingdom
Tel. 0800 969 013
Fax 0800 968 624
[email protected]
France
Tél. 0800 906045
Fax 0800 906003
[email protected]
Hrvatska
Tel. +385 1 605 01 88
Fax +385 1 605 01 88
[email protected]
Italia
Tel. +39 02 577 61 51
Fax +39 02 577 61 55 28
[email protected]
Lietuva/Latvija/Eesti
Tel. +370 5 2136633
Fax +370 5 2330084
[email protected]
Magyarország
Tel. +36 1 253 7617
Fax +36 1 253 7618
[email protected]
Nederland
Tel. 0800 0224978
Fax 0800 0224993
[email protected]
Norge
Tel. +47 66 81 79 90
[email protected]
Österreich
Tel. 0800 29 74 10
Fax 0800 29 74 09
[email protected]
Polska
Tel. +48 22 331 29 50
Fax +48 22 331 29 51
[email protected]
Republic of Kazakhstan
Tel. +7 712232 09 68
Fax +7 7122 32 55 54
[email protected]
Россия
Тел. +7 495 926 18 85
Факс +97 495 926 18 86
[email protected]
Serbia and Montenegro
Tel. +381 230 401 770
Fax +381 230 401 770
[email protected]
Schweiz / Suisse
Tel. +41 (41) 766 30 80
Fax +41 (41) 766 30 81
[email protected]

























