
Emerson 1F86-0244 thermostat

Installation and Operating Instructions
Save these instructions for future use!
FAILURE TO READ AND FOLLOW ALL INSTRUCTIONS CAREFULLY BEFORE INSTALLING OR OPERATING THIS CONTROL COULD CAUSE PERSONAL INJURY AND/OR PROPERTY DAMAGE.
APPLICATIONS
For use with the following Class II systems:
- Single Stage systems
- Single-stage heat pump systems with no Aux heat
DO NOT USE WITH
- Systems exceeding 30 VAC and 1.5 amps
- 3-wire zoned hydronic heating systems
1F86-0244 Thermostat

SPECIFICATIONS
Electrical Rating:
- Battery Power………………………………………….. mV to 30 VAC, 50/60 Hz or DC
- Input-Hardwire…………………………………………. 20 to 30 VAC
- Terminal Load………………………………………………… 1.0 A per terminal, 1.5A maximum all terminals combined
- Setpoint Range………………………………………………. 45° to 90°F (7° to 32°C)
- Differential (Single Stage)………………………………… Heat 0.6°F; Cool 1.2°F (adjustable)
- Differential (Heat Pump)………………………………….. Heat 1.2°F; Cool 1.2°F (adjustable)
- Operating Ambient………………………………………….. 32° to +105°F (0° to +41°C)
- Operating Humidity…………………………………………. 90% non-condensing max.
- Shipping Temperature Range…………………………… -40° to +150°F (-40° to +65°C)
- Dimensions Thermostat…………………………………… 3-3/4” H x 4-3/4” W x 1-1/2” D
PRECAUTIONS
This thermostat is intended for use with a low-voltage NEC Class II system. Do not use this thermostat with a line voltage system. If in doubt about whether your wiring is millivolt, line, or low voltage, have it inspected by a qualified heating and air conditioning contractor or electrician. Do not exceed the specification ratings. All wiring must conform to local and national electrical codes and ordinances. This control is a precision instrument and should be handled carefully. Rough handling or distorting components could cause the control to malfunction
CAUTION
To prevent electrical shock and/or equipment damage, disconnect electric power to the system at main fuse or circuit breaker box until installation is complete.
WARNING
Do not use on circuits exceeding specified voltage. Higher voltage will damage control and could cause shock or fire hazard. Do not short out terminals on gas valve or primary control to test. Short or incorrect wiring will damage the thermostat and could cause personal injury and/or property damage. Thermostat installation and all components of the system shall conform to Class II (current limited) circuits per the NEC code. Failure to do so could cause a fire hazard.
INSTALLATION
REMOVE OLD THERMOSTAT
- Shut off electricity at the main fuse box until installation is complete. Ensure that the electrical power is disconnected.
- Remove the front cover of the old thermostat. With wires still attached, remove the wall plate from the wall. If the old thermostat has a wall mounting plate, remove the thermostat and the wall mounting plate as an assembly.
- Identify each wire attached to the old thermostat using the labels enclosed with the new thermostat.
- Disconnect the wires from old thermostat one at a time. DO NOT LET WIRES FALL BACK INTO THE WALL.
- Install new thermostat using the following procedures.
ATTENTION!
This product does not contain mercury. However, this product may replace a unit that contains mercury. Do not open mercury cells. If a cell becomes damaged, do not touch any spilled mercury. Wearing nonabsorbent gloves, take up the spilled mercury and place it into a container that can be sealed. If a cell becomes damaged, the unit should be discarded. Mercury must not be discarded in household trash. When the unit this product is replacing is to be discarded, place in a suitable container. Refer to www.white-rodgers.com for location to send the product containing mercury.
ATTACH THERMOSTAT BASE TO WALL
- Remove the packing material from the thermostat. Gently pull the cover straight off the base. Forcing or prying on the thermostat will cause damage to the unit.
- Place the base over hole in the wall and mark mounting hole locations on the wall using base as a template (see Fig.1).
- Move base out of the way. Drill mounting holes.
- Push wires through the opening in the thermostat base.
- Fasten the base loosely to wall using two mounting screws. Place a level against the bottom of base, adjust until level, and then tighten the screws. (Leveling is for appearance only and will not affect thermostat operation.) If you are using existing mounting holes, or if holes drilled are too large and do not allow you to tighten base snugly, use plastic screw anchors to secure sub base.
- Connect wires to terminals on base using the appropriate wiring schematic (see figs. 2 through 4).
- Push excess wire into wall and plug the hole with a fire-resistant material (such as fiberglass insulation) to prevent drafts from affecting thermostat operation.
O/B TERMINAL SWITCH SELECTION
The O/B switch on this thermostat is factory set to the “O” position. This will accommodate the majority of heat pump applications, which require the changeover relay to be energized in COOL. If the thermostat you are replacing or the heat pump being installed with this thermostat requires a “B” terminal, to energize the changeover relay in HEAT, the O/B switch must be moved to the “B” position.
GAS / ELEC SWITCH
If your system is a heat pump, the GAS/ELEC Switch must be set to ELEC (see Fig. 1) If your system is a single stage, the switch must be set to GAS. The switch setting must agree with the system configuration selected in the configuration menu.
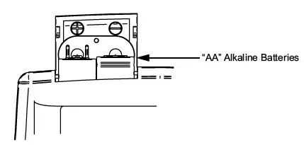
BATTERY LOCATION

Two “AA” alkaline batteries are installed in your thermostat with a battery tag to prevent power drainage. Prior to use, open the battery door and remove the battery tag. To open, pull the battery door as shown by the arrow and lift open. The two “AA” batteries will operate all functions or maintain time and continuously display the temperature during a loss of AC power. To replace batteries, pull the battery door shown by the arrow and lift open. Using the polarity indicated inside the battery door, insert the batteries. To close the battery door, swing the door down while pulling in the direction of arrow. Once fully down, snap the door back into position. Thermostat can be powered by system AC power or Battery. If
displayed, thermostat is system powered with optional battery back-up. When battery power remaining is approximately half, the will be displayed. When “Change ”
is displayed, install fresh “AA” alkaline batteries immediately. For best results, use new premium brand alkaline batteries such as Duracell or Energizer. We recommend replacing batteries every 2 years. If the home is going to be unoccupied for an extended period (over 3 months)
and is displayed, the batteries should be replaced before leaving. When less than two months of battery life remain, the setpoint temperature will offset by 10 degrees (10 degrees cooler in Heat mode / 10 degrees warmer in Cool mode). If offset occurs, the normal setpoint can be manually reset with
or
. Another offset will occur within two days if the batteries are not replaced. To replace the batteries, set system to OFF.
WIRING DIAGRAMS

Figure 2. Typical wiring diagram for single transformer single stage systems

Figure 3. Typical wiring diagram for two transformer single stage systems with NO safety circuits

Figure 4. Typical wiring diagram for two transformer single stage systems with safety circuits in BOTH systems
THERMOSTAT QUICK REFERENCE
Before you begin using your thermostat, you should be familiar with its features and with the display and the location and operation of the thermostat buttons and switches (see fig. 5). Your thermostat consists of two parts: the thermostat cover and the base. To remove the cover, pull it straight out from the base. To replace the cover, line up the cover with the base and press until the cover snaps onto the base.
The Thermostat Buttons and Switches
- Raises temperature setting.
- Lowers temperature setting.
- SYSTEM switch (COOL, OFF, HEAT).
- FAN switch (ON, AUTO).
The Display - Indicates setpoint temperature. This is blank when the system switch is in the OFF position. Setpoint temperature is displayed (flashing) if the thermostat is in lockout mode to prevent the compressor from cycling too quickly.
- “Save” indicates the Cool Savings feature is enabled in the configuration menu. “Save” (flashing) indicates the Cool Savings feature is active.
- The flame icon is displayed when the SYSTEM switch is in the HEAT position. The flame icon is displayed flashing when thermostat is calling for heat. Snowflake icon ( ) is displayed (non-flashing) when the SYSTEM switch is in the COOL position. A snowflake icon and is displayed (flashing) if the thermostat is calling for cool.
- Displays current temperature.
- “Service” indicates a diagnostic fault in the heating/cooling system. It does not indicate a fault in the thermostat.
- “Change Filter” is displayed when the system has run for the programmed filter time period as a reminder to change or clean your air filter.
- “
” indicates power level of batteries. “Change
” indicates batteries should be replaced.
Figure 5. Thermostat display, buttons, and switches
The configuration menu allows you to set certain thermostat operating characteristics to your system or personal requirements. To enter the menu: Set your thermostat to OFF and press the and buttons simultaneously. The display will show the first item in the configuration menu. Press and to change to the next menu item. To exit the menu, set the system switch to Cool or Heat. If no keys are pressed within fifteen minutes, the thermostat will revert to normal operation.
Configuration Menu


- System Configuration – Selects SS (Single Stage) or HP (Heat Pump) operating mode. The default configuration is SS. For Heat Pump operation choose HP.
- Select CS (Cool Savingsâ) – With Cool Savingsâ„¢ enabled, the thermostat will make small adjustments to the Setpoint temperature during periods of high demand to reduce cooling system running time and save energy. When the cooling system has been running for more than 20 minutes, humidity in the home will be lower and a higher setpoint temperature will feel comfortable. After 20 minutes of run time, the thermostat will start increasing the setpoint temperature in steps of less than one degree as the system continues to run. These adjustments will eventually cause the system to satisfy the thermostat and turn the system off to reduce energy consumption. When the Cool Savings feature is active and making adjustments, the display will show Save. The amount of adjustments to the setpoint temperature is dependent on the Cool Savings value that is set, 1 being the least adjustment and 6 being the most adjustment. With this feature set to OFF, no change will occur when the cooling system is continuously running during periods of high demand. Periods of high demand will normally occur during the late afternoon and early evening on the hottest days of the summer.
- Select Cycle Rate Selection – The factory default setting for Single Stage Heat is Medium Cycle (ME). For Single Stage Cool the default setting is fast (FA). To change the cycle rate, press the
and
buttons. The cycle rate differentials for different settings are:- MODE Fast Medium Slow
- (FA) (ME) (SL)
- SS Heat 0.6°F 0.8°F 1.2°F
- SS Cool 1.2°F – 1.7°F
- Select Compressor Lockout CL OFF or ON – Selecting CL On will cause the thermostat to wait 5 minutes between cooling cycles. This is intended to help protect the compressor from short cycling. Some newer compressors already have a time delay built in and do not require this feature. Your compressor manufacturer can tell you if the lockout feature is already present in their system. When the thermostat compressor time delay occurs, it will flash the setpoint for up to five minutes.
- Select Backlight Display – The display backlight improves display contrast in low lighting conditions. When the terminal is connected, selecting backlight CdL On will keep the light on continuously. Select backlight OFF will turn the light on momentarily when any key is pressed. When the terminal is not connected, regardless of the backlight selection, the light will be on momentarily when any key is pressed.
- Select Temperature Display Adjustment 4 LO to 4 HI -Allows you to adjust the room temperature display up to 4°higher or lower. Your thermostat was accurately calibrated at the factory but you have the option to change the display temperature to match your previous thermostat. The current or adjusted room temperature will be displayed on the display.
- Select F° or C° Readout – Change the display readout to Celsius or Fahrenheit as required.
- Select Filter Replacement Reminder and Set Run Time Select the Change Filter reminder On or OFF. If selected On, press
and
to select the time period from 25 to 1975 hours in 25 hour increments. In a typical application, 200 hours (default) of run time is approximately 30 days. After the selected time of blower operation, the thermostat will display Change Filter as a reminder to change or clean your air filter. When Change Filter is displayed, press the
and
button to clear the display and restart the time to the next filter change. A selection of OFF will cancel this feature.
OPERATION
CHECK THERMOSTAT OPERATION
If at any time during testing your system does not operate properly, contact a qualified service person. Turn on the power to the system.
Fan Operation
If your system does not have a G terminal connection, skip to Heating System.
- Move the fan switch to the ON position. The blower should begin to operate.
- Move the fan switch to the AUTO position. The blower should stop immediately.
Heating System
- Move the SYSTEM switch to the HEAT position. If the auxiliary heating system has a standing pilot, be sure to light it.
- Press
to adjust the thermostat setting to 1° above room temperature. The heating system should begin to operate. - Press
to adjust the temperature setting below room temperature. The heating system should stop operating.
Cooling System
CAUTION
To prevent compressor and/or property damage, if the outdoor temperature is below 50oF, DO NOT operate the cooling system.
- Move the SYSTEM switch to the COOL position.
- Press
to adjust the thermostat setting below room temperature. The blower should come on immediately on high speed, followed by cold air circulation. However, if the setpoint temperature is flashing, the compressor lockout feature is operating (see Configuration menu, item 5). - Press
to adjust the temperature setting above room temperature. The cooling system should stop operating.
CAUTION
Do not allow the compressor to run unless the compressor oil heaters have been operational for 6 hours and the system has not been operational for at least 5 minutes.
TROUBLESHOOTING
| Symptom | Possible Cause | Corrective Action |
| No Heat/No Cool/No Fan common problems) | 1. Blown fuse or tripped circuit breaker. 2. Furnace power switch to OFF. 3. Furnace blower compartment door or panel loose or not properly installed. | Replace fuse or reset breaker. Turn switch to ON. Replace door panel in proper position to engage safety interlock or door switch. |
| No Heat | 1. System Switch not set to Heat.
2. Loos connection to thermostat or system 3. Heating System requires service or thermostat requires replacement. | Set System Switch to Heat and raise setpoint above room temperature. Verify thermostat and system wires are securely at- tached. Diagnostic: Set System Switch to Heat and raise the set- point above room temperature. Within a five minutes the thermostat should make a soft slick sound. This sound usually indicates the thermostat is operating properly. If the thermostat does not click, try the reset operation listed above. If the thermostat does not click after being reset contact your heating and cooling service person or place of purchase for a replacement. If the thermostat clicks, contact the furnace manufacturer or a service per- son to verify the heating system is operating correctly. |
| No Cool | 1. System Switch not set to Cool.
2. Loose connection to thermostat or system. 3. Cooling System requires service or thermostat requires replacement | Set System Switch to Cool and lower setpoint below room temperature. Verify thermostat and system wires are securely at- tached. Same procedures as diagnostic for No Heat condition except set the thermostat to Cool and lower the setpoint below the room temperature. There may be up to a five minute delay before the thermostat clicks in Cooling if the compressor lock-out option is selected in the configura- tion menu (Item 5). |
| Heat, Cool or Fan Runs Constantly | 1. Possible short in wiring. 2. Possible short in thermostat. 3. Possible short in Heat/Cool/Fan system. 4. Fan Switch set to Fan On. | Check each wire connection to verify they are not shorted or touching together. No bare wire should stick out from under terminal screws. Try resetting the thermostat as de- scribed below. If the condition persists, the manufacturer of your system or service person can instruct you on how to test the Heat/Cool/ system for correct operation. If the system operates correctly, replace the thermostat. |
| Furnace Cycles Too Fast or Too Slow Cooling Cycles Too Fast or Too Slow (narrow or wide temperature swing) | 1. The location of the thermostat and/or the size of the Heating or Cooling System may be influencing the cycle rate. | Item 3 (CR Heat) or 4 (CR Cool) in the Configuration Menu is the adjustment that controls the cycle rate. If an acceptable cycle rate is not achieved using the FA (Fast) or SL (Slow) adjustment contact a local service person for additional suggestions. |
| Thermostat Setting and Thermometer Disagree | 1. Thermostat thermometer setting requires adjustment. | The thermometer can be adjusted +/- degrees as listed in item 7 of the Configuration Menu. No other adjustment is possible. |
| Blank Display and/or Keypad Not Responding | 1. Voltage Spike or Static Discharge. | If a voltage spike or static discharge occurs use the Reset Operation listed above. |
Reset Operation
If a voltage spike or static discharge blanks out the display or causes erratic thermostat operation, you may need to reset the thermostat. To reset, the System Switch must be in Cool or Heat. Simultaneously press
and
buttons for approximately 10 seconds until the display goes blank. If the thermostat has power, has been reset and still does not function correctly contact your heating/cooling service person or place of purchase.
Homeowner Help Line: 1-800-284-2925
White-Rodgers is a division of Emerson Electric Co. The Emerson logo is a trademark and service mark of Emerson Electric Co. www.white-rodgers.com


















