Electric Heaters
Instruction Manual
INTRODUCTION
- Before installing the electric heater, read these instructions carefully. Failure to follow these instructions could damage the product or cause a hazardous condition.
- Check the ratings on the heater label to assure the product is suitable for your application.
WARNING
To avoid electric shock and equipment damage, disconnect any power supplies to the enclosure before installing the electric heater. Do not energize any circuits before all internal and external electrical and mechanical clearances are checked to assure that all assembled equipment functions safely and properly.
GENERAL SAFETY INFORMATION
- Protect the lead wires from coming in contact with sharp objects, hot surfaces, and/or chemicals.
- If continuous operation of the heater is essential to the safe functioning of any other equipment, adequate warning devices must be installed to assure safe operation at all times.
CAUTION
Do not use these electric heaters in dusty, dirty, corrosive, or hazardous locations.
Reduce the thermostat from factory setting to a recommended setting not to exceed 75 F for most applications.
CAUTION: SURFACE MAY BE HOT.
Adequate protection must be taken to protect people from potential burns and to protect other components from this heat. Always allow the heater to cool before touching it.
Thermal sensitive devices or materials may need to be located further from the heater than the minimum recommended distance.
Heaters must not be installed on wood or other combustible surfaces.
NOTE: INSTALLATION IS TO BE MADE ONLY IN A TOTALLY ENCLOSED METAL ENCLOSURE.
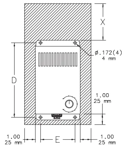
LOCATION AND MOUNTING
- Hoffman electric heaters should be centered as low as possible in the enclosure for optimum heat distribution.
- It is recommended that the heater be installed on a noncombustible metal panel for optimum performance. It may, however, be mounted on any metal surface.
WARNING: Heaters must not be installed on wood or other combustible surfaces. - The heater should be mounted in a vertical position with the terminal block at the bottom and the air outlet openings at the top as shown.
- The recommended clearances shown by the shadowed area indicates the space that should be kept free of components for safe operation of the heater.
WARNING: Heat sensitive components must not be placed above the heater discharge area. - Four 10−32 UNF, self−tapping screws are included for installation.
| Vertical Surface Mounting | Optional Horizontal Surface Mounting |
![]() | ![]() |
| Watts | X | D | E | |
| DAH1001A, DAH1002A | 100 | 4 | 5.00 (127 mm) | 3.25 (83 mm) |
| DAH2001A, DAH2002A | 200 | 6 | ||
| DAH4001B, DAH4002B | 400 | 6 | 7.00 (178 mm) | 3.50 (89 mm) |
| DAH8001B, DAH8002B | 800 | 8 | ||
| DAH13001C, DAH13002C | 1300 | 8 |
Temperature Rise vs. Distance Above Heater

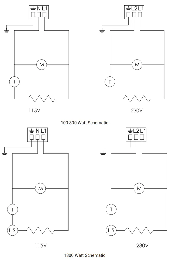
WIRING
Reference Wiring Illustration on page 6
- All wiring must comply with applicable local codes and ordinances.
- Connect the heater lead wires to the proper A.C. power source.
Power source for 800 and 1300 watt heaters should be continuous. - The heater must be properly grounded.
NOTE: Exposed wires should not come in contact with the heater housing.
SETTING THE THERMOSTAT
- The heater is controlled by an adjustable thermostat. Set the thermostat to the desired temperature. It is recommended not to exceed 75 F for most applications.
MAINTENANCE
- Always disconnect power supply before inspecting or working on the heater.
- Generally the unit requires no maintenance since the fan bearings are permanently lubricated and sealed.

Wiring Illustration

Notes
© 2019 Hoffman Enclosures Inc.
PH 763 422 2211 • nVent.com/HOFFMAN
87565511


















