DAKE 75H Hand-Operated Hydraulic Press

DAKE STANDARD LIMITED WARRANTY
Finished Machines
Dake warrants to the original purchaser the finished machine manufactured or distributed by it to be free from defects in material and workmanship under normal use and service within 1 year (12 months) from the delivery date to the end user.
Parts
Dake warrants to the original purchaser the component part manufactured or distributed by it to be free from defects in material and workmanship under normal use and service within 30 days from the delivery date to the end user.
The standard limited warranty includes the replacement of the defective component part at no cost to the end user.
Sale of Service (Repairs)
Dake warrants to the original purchaser the component part repaired by Dake Corporation at the manufacturing facility to be free from defects in material and workmanship under normal use and service within 90 days from the return date to the end user, as it pertains to the repair work completed. The standard limited warranty includes repair of the defective component part, at no cost to the end user.
Warranty Process
Subject to the conditions hereinafter set forth, the manufacturer will repair or replace any portion of the product that proves defective in materials or workmanship. The manufacturer retains the sole right and option, after inspection, to determine whether to repair or replace defective equipment, parts or components. The manufacturer will assume ownership of any defective parts replaced under this warranty.
All requested warranty claims must be communicated to the distributor or representative responsible for the sale. Once communication has been initiated, Dake Customer Service must be contacted for approval:
- Phone: (800) 937-3253
- Email: [email protected]
When contacting Dake, please have the following information readily available:
- Model #
- Serial #
- Sales Order #
Purchasers who notify Dake within the warranty period will be issued a Case number and/or a Return Material Authorization (RMA) number. If the item is to be returned per Dake’s request, the RMA number must be clearly written on the exterior packaging. Any item shipped to Dake without an RMA will not be processed.
The following conditions are not applicable to the standard limited warranty:
- Part installation or machine service was not completed by a certified professional, and is not in accordance with applicable local codes, ordinances and good trade practices.
- Defects or malfunctions resulting from improper installation or failure to operate or maintain the unit in accordance with the printed instructions provided.
- Defects or malfunctions resulting from abuse, accident, neglect or damage outside of prepaid freight terms.
- Normal maintenance service or preventative maintenance, and the parts used in connection with such service.
- Units and parts which have been altered or repaired, other than by the manufacturer or as specifically authorized by the manufacturer.
- Alterations made to the machine that were not previously approved by the manufacturer, or that are used for purposes other than the original design of the machine.
RETURN & REFUND POLICY
Thank you for purchasing from Dake! If you are not entirely satisfied with your purchase, we are here to help.
Returns
All Dake manufactured / distributed machines, parts and couplings include a 30-day return option. These policies are valid from the date of final shipment to the end user.
To be eligible for a return, the item must be unused and in the same condition as received.
All requested warranty claims must be communicated to the distributor or representative responsible for the sale. Once communication has been initiated, Dake Customer Service must be contacted for approval:
- Phone: (800) 937-3253
- Email: [email protected]
Once the return request has been approved by Customer Service, a representative will supply a Return Material Authorization (RMA) number. The returned item must have the provided RMA number clearly marked on the outside packaging. Any item received without an RMA number clearly visible on the packaging will not be processed.
An RMA number can only be provided by the Dake Customer Service team and must be obtained prior to the return shipment.
Refunds
Once the item has been received and inspected for damages, a representative will notify the requestor referencing the provided RMA number.
If the return is approved, a refund will be issued to the original method of payment, less a 20% restocking fee. The restocking fee may be waived if an order is placed at the time of return with like-value merchandise.
Transportation costs are the responsibility of the end user and will not be credited upon return approval.
Any item that is returned after the initial 30 days or has excessive/obvious use will not be considered for a full refund.
SAFEGUARDING THE POINT OF OPERATION
ANSI B11.2 – Hydraulic Power Presses –
Safety Requirements for Construction, Care, and Use
It is important that Dake press users have a clear understanding of their responsibility involving the care and use of their Dake hydraulic press, including point-of-operation safe guards. Dake strongly recommends that Dake press users obtain a copy of the current American National Standard Institute (ANSI) B11.2 standard, for a more complete understanding of their responsibilities.
ANSI B11.2 states the following, relative to point of operation safeguarding:
“Normally, only the employer (press user) can determine the requirements of the press productions system components, including the dies and methods for feeding. Therefore, the employer is ultimately responsible to designate and provide the point-of-operation safeguarding system.”
The standard also discusses additional responsibilities of the employer. Some of the key responsibilities are:
- The employer is responsible for the safety, use, and care of the hydraulic power press production system.
- The employer is responsible to consider the sources of hazards for all tasks to be implemented on the hydraulic power press production system.
- The employer is required to eliminate or control identified hazards in the scope of their work activity.
- The employer is responsible for the training of personnel, caring for, inspecting, maintaining, and operating hydraulic press production systems to ensure their competence.
- The employer is responsible to provide and ensure that point-of-operation safeguarding is used, checked, maintained, and where applicable, adjusted on every production operation performed on a press production system.
A complete and current copy of the ANSI B.11.2 standard can be obtained by contacting the following:
American National Standards Institute
1430 Broadway
New York, NY 10018
AMT – The Association For Manufacturing Technology 7901 Westpark Drive
McLean, VA 22102
SPECIFICATIONS
| Number | 907003 | Ram travel | 4-1/2” |
| Capacity | 75 tons | Screw travel | 7” |
| Width between uprights | 44” | Horizontal work head travel | 29-5/8” |
| Width between table channels | 8-1/4” | Height | 87” |
| Min ram to table | 6” | Weight | 1,245 lbs |
| Max ram to table | 36” | Base | 55” x 36” |
In the space provided record the serial number and model number of the machine. This information is only found on the black and gold Dake tag shown below. If contacting Dake this information must be provided to assist in identifying the specific machine.

| Serial No. | |
| Model No. | |
| Install Date: |
SAFETY
When you see this symbol on your press be alert to the potential for personal injury.
Employer is responsible to perform a hazard/PPE assessment before work activity.
Follow recommended precautions and safe operating practices.
Additional Warnings:
- Carefully read all safety messages in these instructions and on your press safety signs.
- Keep safety labels in good condition. Replace missing or damaged safety labels.
- Employer is responsible to perform a hazard/PPE assessment before work activity.
- Do not alter this press from its original design.
- Do not make repairs or adjustments to any hydraulic system unless you are competent or working under competent supervision.
- Only use Dake original parts.
- This machine is intended to be operated by one person. This person should be conscious of the press ram movement not only for themselves but also for persons in the immediate area of the machine.
- Tag out procedures must be followed by authorized employees as per OSHA.
- Hydraulic – Relieve all hydraulic pressure before servicing the press. Turn the red release handle to relieve the pressure
- Spring Pressure – Clamp ring on bottom of piston must be in place before removing cylinder.
- Hoist and table channel – always place table pins under the table channels then install the remaining pins. Always release pressure on the cable before using press.
Label Placement View







SET UP
For shipping convenience, the gauge, pump handle, hoist crank, screw nose and base angles were removed from the press. Assemble these parts to the press in the following order:
- Bolt the base angles to the uprights using the four bolts and nuts furnished. Shoulder the base angles against the stops on the uprights.
- The press should be set on a level floor with the base angles touching the floor at all points, using shims where necessary. Then secure the base angles to the floor using four, 1/2” bolts included.
- Install the pressure gauge using the hydraulic sealant to ensure a sealed fit.
- Insert the pump handle into the handle socket and fasten in place by means of the set screw on top of the handle socket.
- CAUTION! Place the hoist crank on the lift drum shaft. Remove the table pins and turn the crank to get the table to a desired height. Check to make sure the hoist cable is tracking correctly. Run the table channels from top to bottom. The cable should be on each of the two upper pulleys and should track back and forth on the cable drum.
- Place the table pins under the table before releasing the hoist crank when positioning the table channels for cable tracking, servicing, or set up for desired work operating. Be sure all table pins are fully inserted in place before applying pressure. Always remove or release pressure on the cable before pressure is applied by turning the hand crank counterclockwise until slack forms in the cables. FAILURE TO DO SO WILL CAUSE DAMAGE TO THE HOIST.
- If a tracking problem exists, contact the Dake factory for instructions.
- Fasten nosepiece to the end of the screw using the thumbscrew included.
FILLING PRESS WITH OIL
Recommended to replace hydraulic oil every 6 months of machine use.
IMPORTANT! ONLY FILL WITH NEW, CLEAN, LIGHT HYDRAULIC OIL. UNDER NO CIRCUMSTANCES USE DIRTY OIL.
- Use Mobil DTE 24 or equivalent.
- Filter the oil to remove any possible dirt.
- Put the piston in to its maximum upper position.
- Fill the reservoir with 4 quarts of oil.
- Remove the screw plug from the gauge extension on the top of the work head.
- Close the release valve handwheel and pump oil into the work head until oil is visible in the standpipe.
- This will remove all air from the chamber above the piston.
If oil leaks by the piston, the reservoir should be drained and refilled with the piston in the maximum upper position.
OPERATION
CONTROLS
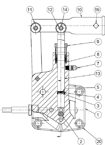
Hand Crank: (item 62 & 63) on the side of the press is to assist in lowering and raising the table of the press once the table pins are removed. Do not forget to replace the pins once you have the table at the desired height.
Head Positioning Handwheel: can be loosened to allow the head to move along the upper frame track and can be positioned at any length on the top frame. After in position, tightening the handwheel completely will keep the head in place.
Handle: (item 55) is the pressure supply source and is manually operated with up and down motion. IMPORTANT! Always pump the piston down ½” before the nose piece comes in contact with the work. Damage to the piston may occur if not pumped before meeting the work.
Release Valve Handwheel: releases the pressure to let the ram return to its raised position. Always keep the valve firmly closed when operating the press until you want to release the pressure.
Screw Handwheel (item 25) raises or lowers the ram screw in and out of the piston assembly. Always keep the portion of the screw extending out of the piston as short as possible. Instead of overextending the screw it is recommended to raise the table rather than running the screw out of its limit of travel. NEVER EXCEED THE RECOMMENDED STROKE OF 4 1/2 INCHES FOR THIS PRESS. EXCEEDING THE STROKE WILL CAUSE DAMAGE TO THE INNER PACKINGS.
MAINTENANCE
Recommended to replace hydraulic oil every 6 months of machine use. See “FILLING PRESS WITH OIL” section for instructions.
LUBRICATION
- Keep all working parts of the press well-oiled for easier operation.
- Keep a light film of oil over the entire surface of the ram to prevent rust.
TROUBLESHOOTING
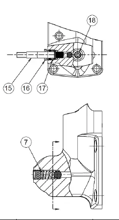
PUMP PACKING LEAKAGE
If oil leaks past the pump packing, tighten the pump packing nut (item 9) until the pump handle moves with resistance, then slack off just enough to cause the handle to stay in position by itself. After long periods of operation, it may be necessary to install new pump packings.
PRESS NOT HOLDING PRESSURE
This condition is nearly always caused by dirt under the pressure ball valve (item 2). See hand pump assembly drawing.
Steps to fix pressure:
- Remove the reservoir drain plug and drain all oil out of the reservoir.
- Remove parts: pipe plug (item 18), check valve spring (item 6) and ball valve (item 2) then clean out the port hole and valve seat thoroughly.
- Using a small piece of brass rod as a drift, tap on the brass rod lightly to seat the ball valve in place.
- Replace the spring and plug with extreme care to prevent dirt from entering.
- Replace the drain plug and refill the reservoir with clean filtered oil.
See “FILLING PRESS WITH OIL” section in manual for instructions.
OTHER TROUBLESHOOTING
| SYMPTOM | CAUSE | SOLUTION |
| Oil leaking from piston oil seal. |
|
|
| Press will not hold pressure. |
|
|
| Press will not build rated tonnage. |
|
|
| Oil leaking from pump plunger. |
|
|
| Oil leaking from release valve rod. |
|
|
| Pump handle drifts up. |
|
|
| Ram will not return. |
|
|
| *If oil leaks from around ram but there is no pressure loss than the reservoir has been overfilled | ||
EXPLODED VIEWS & PARTS LISTS
HAND PUMP ASSEMBLY


| Item No. | Part Name | Part No. | Qty | Item No. | Part Name | Part No. | Qty |
| 1 | Pump Body | 546 | 1 | 12 | Retaining Ring (3/8”) | 43972 | 6 |
| 2 | Ball Valve (Ø1/2”) | 586 | 3 | 13 | Pump Plunger | 554 | 1 |
| 3 | Hex Cap Screw (1/4”-20 x 1/2″ Nylock) | 28297 | 1 | 14 | Handle Socket Pin | 594 | 3 |
| 15 | Valve Rod | 1129 | 1 | ||||
| 4 | Washer (#12 Flat) | 43629 | 1 | 16 | Valve Rod Packing Nut | 576 | 1 |
| 5 | Pump Plunger Leather | 599 | 1 | 17 | Valve Rod Packing | 987 | 8 |
| 6 | Check Valve Spring | 579 | 1 | 18 | Pipe Plug (3/8”) | 588 | 1 |
| 7 | Tube Fitting | 71413 | 1 | 19 | Set Screw (3/8”-16 x 5/8”) | 43589 | 1 |
| 8 | Pump Packing | 573 | 7 | 20 | Pump Gasket | 591 | 1 |
| 9 | Pump Packing Nut | 551A | 1 | Hand Pump Complete Assembly | 700887-S | – | |
| 10 | Handle Socket | 550 | 1 | Repair Kit- Cylinder & Hand Pump Assembly (Items: 5, 8, 17,20, 26B, 27, 34, 38) | 701292 | – | |
| 11 | Handle Socket Link | 555 | 1 | ||||
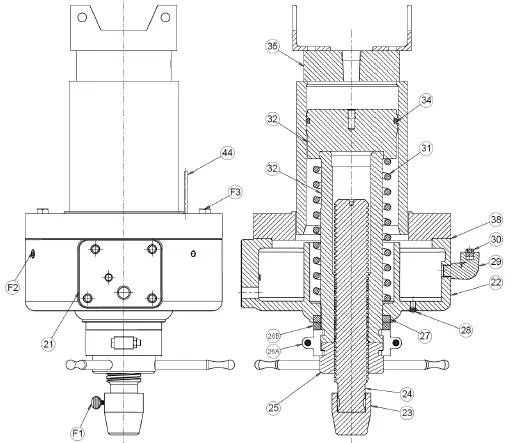
WORKHEAD ASSEMBLY

| Item No. | Part Name | Part No. | Qty | Item No. | Part Name | Part No. | Qty | |
| 21 | Pump Gasket | 591 | 1 | 34 | Piston Leather (Serial No. < 192522) | 706 | 1 | |
| 22 | Reservoir | 695 | 1 | |||||
| 23 | Screw Nose – Flat | 572 | 1 | Packing Ring (Serial No. > 192523) | 17942 | 1 | ||
| Screw Nose – V-ram | 344 | 1 | ||||||
| 24 | Screw | 559 | 1 | 35 | Cylinder | 693 | 1 | |
| 25 | Handwheel | 716520 | 1 | 36 | Handwheel | 716521 | 1 | |
| 26A | Clamp Ring Assembly | 718 | 1 | 37 | Yoke | 732 | 1 | |
| 26B | Piston Bumper | 738 | 1 | 38 | Cylinder Gasket | 1478 | 1 | |
| 27 | Oil Seal | 1477 | 1 | 44 | Air Vent Tube (1/4” x 3”) | 632 | 1 | |
| 28 | Pipe Plug (1/8” NPTF) | 589 | 1 | F1 | Thumb Screw | 43618 | 1 | |
| 29 | Elbow Pipe Plug | 590 | 1 | F2 | Pipe Plug (1/4” NPTF) | 1567 | 1 | |
| 30 | Pipe Plug (1/2” NPTF) | 596 | 1 | F3 | Hex Cap Screw (1/2”-13 x 2-1/4”) | 43352 | 4 | |
| 31 | Ram Spring | 705 | 1 | |||||
| 32 | Piston Assembly (Serial No. < 192522) | 701802 | 1 | Complete Workhead Assembly | 907008-S | – | ||
| Repair Kit – Cylinder & Hand Pump Assembly (Items: 5, 8, 17, 20, 26B, 27, 34, 38) | 701292 | – | ||||||
| 33 | Piston Assembly (Serial No. > 192523) | 716223 | 1 | |||||
GENERAL ASSEMBLY

| Item No. | Part Name | Part No. | Qty | Item No. | Part Name | Part No. | Qty | |
| 36 | Screw Adjusting Wheel | 716521 | 1 |
56 | Pulley | 727 | 2 | |
| 37 | Yoke | 732 | 1 | Pulley Bolt | 43361 | 2 | ||
| 39 | Gauge | 71267 | 1 | Pulley Nut | 43916 | 2 | ||
| Bushing | 81384 | 1 | Pulley Lock Washer | 43647 | 2 | |||
| 40 | Gauge Extension | 731 | 1 | 57 | Vent Tube | 67761 | 1 | |
| 41 | Roller | 592 | 4 | 58 | 1/8” NPT Fitting | 71413 | 2 | |
| 42 | Roller Shaft | 733 | 2 | 59 | Cable | 45953 | 17’ | |
| Retaining Ring | 43975 | 4 | 60 | Cable Clamps | 991 | 4 | ||
| 43 | Dake Name Plate | 81002 | 1 |
61 | Table Spacer | 86488 | 4 | |
| 45 | Handwheel | 10631 | 1 | Hex Head Bolt (5/8”-11 x 10-1/2”) | 79983 | 4 | ||
| 46 | V-Block | 336 | 2 | |||||
| 47 | Table Plate | 702 | 2 | Hex Nut (5/8”-11) | 43917 | 4 | ||
| 48 | Table Pins | 569 | 6 | Lock Washer (5/8”) | 43648 | 4 | ||
| 48A | Safety Pins | 302816 | 6 | 70 | Hex Nut (3/8”-16) | 43912 | 1 | |
| 49 | Table Channel | 706945 | 2 | F4 | Flat Washer (1/4”) | 43631 | 1 | |
| 50 | Frame | 706943 | 1 | F5 | Screw (1/4”-20 x 1/2”) | 43301 | 1 | |
| 51 | Base Angle | 566 | 2 | F6 | Hex Cap Screw (1/2”-13 x 1-1/4”) | 43348 | 4 | |
| 52 | 3/8” NPT 37° Fitting | 1251 | 2 | |||||
| 53 | Fitting Nut | 46614 | 2 | F7 | Socket Cap Screw (1/2”-13 x 2-1/2”) | 24561 | 1 | |
| Fitting Sleeve | 51454 | 2 | ||||||
| 54 | Tube Assembly (Includes 53 & 54) | 700121 | 1 | F8 | Socket Cap Screw (1/2”-13 x 1-1/4”) | 43470 | 3 | |
| 55 | Handle | 218 | 1 | F9 | Flat Washer (1/2”) | 43634 | 4 | |
| F10 | Lag Screw (1/2” x 2-1/2”) | 72355 | 4 | |||||
| F11 | Label – Made in USA | 76936 | 1 | |||||
TABLE HOIST ASSEMBLY

| Item No. | Part Name | Part No. | Qty | Item No. | Part Name | Part No. | Qty |
| 56 | Hex Nut (3/8”-16) (Not Shown) | 43912 | 2 | 69 | Hex Cap Screw (3/8”-16 x 2-3/4”) | 43335 | 2 |
| 62 | Hand Crank Assembly | 701653 | 1 | 71 | Drum Shaft | 724 | 1 |
| 63 | 72 | Drum Key | 737 | 1 | |||
| 64 | Worm Shaft | 384 | 1 | 73 | Worm Gear | 736 | 1 |
| 65 | Retaining Ring | 27437 | 2 | 74 | Cable Drum | 723 | 1 |
| 66 | Worm Key | 47364 | 1 | 75 | Retaining Ring | 43992 | 1 |
| 67 | Worm | 385 | 1 | Complete Table Hoist Assembly | 700112-S | – | |
| 68 | Hoist Frame | 725 | 1 | ||||
Please contact factory for current prices.
ORDERING INFORMATION
Parts are available for direct purchase from Dake or through a distributor. When placing a parts order, you will need to provide the part number, name of part, and model number. All parts shipped F.O.B. Factory in Grand Haven, MI.
Dake Corporation
1809 Industrial Park Dr
Grand Haven, MI 49417
www.dakecorp.com




















