wiltec 51727 6t Industrial Hydraulic Workshop Bench Press 
Read and follow the operating instructions and safety information before using for the first time.
Technical changes reserved!
Due to further developments, illustrations, functioning steps, and technical data can differ insignificantly.
Updating the documentation
If you have suggestions for improvement or have found any irregularities, please contact us.
The information contained in this document may alter at any time without previous notice. It is prohibited to copy or spread any parts of this document in any way without prior written allowance. All rights reserved.
The WilTec Wildanger Technik GmbH cannot be held accountable for any possible mistakes in this operating manual, nor in the diagrams and figures shown.
Even though, the WilTec Wildanger Technik GmbH has undergone biggest possible efforts to ensure that the operating manual is complete, faultless, and up to date, mistakes cannot be entirely avoided. If you should find a mistake or wish to make a suggestion for improvement, we look forward to hearing from you.
Send an e-mail to:
[email protected]
or use our contact form:
https://www.wiltec.de/contacts/
The most recent version of this manual in various languages can be found in our online shop via:
https://www.wiltec.de/docsearch
Our postal address is:
WilTec Wildanger Technik GmbH
Königsbenden 12
52249 Eschweiler
Germany
Do you wish to pick goods up? Our pick-up address is:
WilTec Wildanger Technik GmbH
Königsbenden 28
52249 Eschweiler
Germany
To shorten the waiting time and allow for a rapid on-site transaction, we ask you to call us previously or place your order via the webshop.
E-mail: [email protected]
Tel: +49 2403 55592–0
Fax: +49 2403 55592–15
To return orders for exchange, repair, or other purposes, please use the following address. Attention! To allow for smooth execution of your complaint or return, it is important to contact our customer service team before returning the goods.
Returns Department
WilTec Wildanger Technik GmbH
Königsbenden 28
52249 Eschweiler
E-mail: [email protected]
Tel: +49 2403 55592–0
Fax: +49 2403 55592–15
Introduction
Thank you for purchasing this quality product. To minimize the risk of injury we urge that our clients take some basic safety precautions when using this device. Please read the operation instruc-tions carefully and make sure you have understood its content.
Keep these operation instructions safe.
Safety instructions/warnings 
The owner and/or user must have read and understood the operating instructions of the device before using it. Installed personnel should be cautious, competent, trained and qualified in the safe handling of the working equipment used when working with the shop press. Warnings should be read and understood.
- Be familiar with the application control, application process, and warnings.
- Ensure that all connectors are secure.
- Make sure you know the contents of the instructions for use.
- This device is not intended to be used by persons (or even children) with reduced physical, sensory, or mental abilities or persons who do not have the appropriate experience or knowledge, unless they are observed by a person responsible for their safety or have previously been instructed to use the equipment by such person.
- Children must be supervised to ensure that they do not play with the appliance.
- Stay concentrated and do not allow any distractions during the process.
- Do not use welding equipment near the support.
- Always pay attention to the optimal lighting of the workplace.
- Be sure to wear solid footwear.
- Use a hairnet for long hair.
- Wear tight clothing.
- Take off jewelry (rings, earrings, watches, etc.).
- Be careful not to wear loose straps or belts.
- Long working in a standing position can lead to dizziness. Make regular breaks and drink enough.
- Never open the screw connections under pressure/load.
- Set the press to the lowest position when refilling hydraulic oil. Only use high-quality hydraulic oil, NEVER use other fluids such as alcohol, glycerine, detergent, engine oil, water, contami-nated oil, or other inappropriate fluids.
- The hydraulic cylinder is under pressure and must not be opened by force.
Control/inspection
- Prior to commissioning the shop press, visual inspection must be carried out to detect leaks, damage, loose, or missing and worn parts. Check the oil level regularly. Set the press to the lowest position when refilling hydraulic oil. Remove the cap; the oil level must reach exactly to the opening. If necessary, refill with high-quality hydraulic oil. Perform a complete oil change every year.
- Regularly apply the lubricating liquid to all mobile parts. Regularly check the piston for rust, cracks, and corrosion. Clean these spots with an oily cloth.
- If it should be necessary to scrap the press, the oil should be purged and disposed of properly, the rest of the press should be recycled.
Operation
- Place the workpiece on the bed frame.
- Locate and close the release valve by turning it clockwise until it is tight.
- Pump the handle until the ram nears the workpiece.
- Align the ram and the workpiece to ensure a centred loading.
- Apply the load to the workpiece by pumping the handle. Do not overload the workpiece.
- Remove the load from the work piece by turning the release valve counter-clockwise. Stabilize the work piece so it does not fall while the pressure is released.
- Remove the work piece until the ram is fully retracted.
Warning
- Read and understand the entire instruction manual before operation.
- This press is designed and intended for use by properly trained and experienced personnel only. If you are not familiar with the proper and safe operation of a hydraulic press, do not use it until proper training and knowledge has been obtained.
- Do not operate this press beyond its rated capacity.
- This press is designed for pressing, bending, and straightening purposes only. DO NOT compress springs or other objects that could be ejected from the press.
- DO NOT compress objects that could shatter.
- Check the press for loose or damaged parts before each operation. Replace damaged parts and tighten all loose bolts before operating.
- Some parts being pressed may tend to pop out of the press or explode under pressure. Protect yourself accordingly. Keep hands away from the pressure head and out of support rod holes. Always centre the work piece on the table plates and centre the pressure head on the work piece to prevent injury by ejection of the work piece.
- Always wear safety glasses and safety equipment.
Maintenance
- Before each use inspect press for damage. Do not use it bent, broken, cracked, leaking, or otherwise damaged in any way.
- Periodically lightly oil all moving parts including pump piston and hydraulic ram.
- Check hydraulic connections and hoses before each use. Do not use if cut, damaged, leaking, or connections and/or hoses or connection damaged otherwise are noted.
Features
- For straightening, bending, and crossing
- Multi-position bed for work height adjustment
Technical specifications
| Item number | 51727 | 51257 | 51728 | 51973 |
| Capacity (t) | 6 | 12 | 20 | 30 |
| Work range (㎜) | 20–245 | 425 | ||
| Lifting height of cylinder (㎜) | 130 | 136 | 175 | |
| Max. working height (㎜) | 320 | |||
| Min. lifting height (㎜) | 50 |
| Max. lifting height (㎜) | 680 | 780 | ||
| Dimensions (㎝) | 94×34×15 | 133×51×56 | 150×61×60 | 150 (H) |
| Weight (㎏) | 24 | 40 | 68 | 134.5 |
Troubleshooting instructions
| Symptom | Possible cause | Solution |
| Piston cannot move | Mechanical parts corrupt | Add lubricating oil or grease. |
| Piston cannot retract by itself or retracts slowly | 1. Reservoir overfilled | 1. Drain jack oil to proper level. |
| 2. Improper connections | 2. Clean and lubricate moving parts. | |
| Piston does not fully lift | Jack oil level low | Add jack oil. |
Part lists
6-tons shop press 
| № | Name |
| 1 | Traverse |
| 2 | Fixing plate |
| 3 | Foot |
| 4 | Nut |
| 5 | Steel plate |
| 6 | Lifter |
| 7 | Lever |
12-tons shop press 
| № | Name | Qty. | № | Name | Qty. |
| 1 | Cross beam | 1 | 10 | Leg | 2 |
| 2 | Pole | 2 | 11 | Bolt | 8 |
| 3 | Jack plate | 1 | 12 | Washer | 8 |
| 4 | Steel plate | 2 | 13 | Nut | 8 |
| 5 | Adjust beam | 1 | 14 | Spring | 2 |
| 6 | Cross brace | 4 | 15 | Jack | 1 |
| 7 | Bolt | 12 | 17 | Pin | 2 |
| 9 | Nut | 12 | 18 | Fixing plate | 1 |
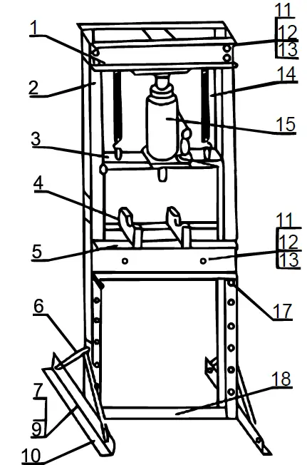
20- and 30-tons shop press 
| Nr. | Name | Qty. | Nr. | Name | Qty. | Nr. | Name | Qty. |
| 1 | Post | 2 | 9 | Pin | 2 | 17 | Flat washer 12 | 4 |
| 2 | Head support | 1 | 10 | Spring | 2 | 18 | Bolt M12×30 | 4 |
| 3 | Leg | 2 | 11 | Bottle jack | 1 | 19 | Nut M12 | 4 |
| 4 | Press platform | 2 | 12 | Screw M8×16 | 2 | 20 | Bolt M10×20 | 8 |
| 5 | Middle piece | 1 | 13 | Flat washer 16 | 10 | 21 | Nut M10 | 8 |
| 6 | Mandrel and plate | 1 | 14 | Bolt M16×30 | 8 | 22 | Flat washer 10 | 8 |
| 7 | Connect tube | 1 | 15 | Nut M16 | 10 | 23 | Brace bar | 4 |
| 8 | Pad plate | 2 | 16 | Bolt M16×150 | 2 |
Important notice: The reprint or reproduction, even of excerpts, and any commercial use, even in part, of this instruction manual require the written permission of WilTec Wildanger Technik GmbH.
© by WilTec Wildanger Technik GmbH http://www.WilTec.de
http://www.aoyue.eu
http://www.teichtip.de





















