WILTEC 62718 20 Ton Shop Press User Manual
Read and follow the operating instructions and safety information before using for the first time.
Technical changes reserved!
Due to further developments, illustrations, functioning steps, and technical data can differ insignificantly.
Updating the documentation
If you have suggestions for improvement or have found any irregularities, please contact us.
The information contained in this document may alter at any time without previous notice. It is prohibited to copy or spread any parts of this document in any way without prior written allowance. All rights reserved.
The WilTec Wildanger Technik GmbH cannot be held accountable for any possible mistakes in this operating manual, nor in the diagrams and figures shown. Even though, the WilTec Wildanger Technik GmbH has undergone biggest possible efforts to ensure that the operating manual is complete, faultless, and up to date, mistakes cannot be entirely avoided.
If you should find a mistake or wish to make a suggestion for improvement, we look forward to hearing from you.
Send an e-mail to:
[email protected]
or use our contact form:
https://www.wiltec.de/contacts/
The most recent version of this manual in various languages can be found in our online shop via:
https://www.wiltec.de/docsearch
Our postal address is:
WilTec Wildanger Technik GmbH
Königsbenden 12
52249 Eschweiler
Germany
To return orders for exchange, repair, or other purposes, please use the following address. Attention! To allow for a smooth execution of your complaint or return, it is important to contact our customer service team before returning the goods.
Returns Department
WilTec Wildanger Technik GmbH
Königsbenden 28
52249 Eschweiler
E-mail: [email protected]
Tel: +49 2403 55592–0
Fax: +49 2403 55592–15
Introduction
Thank you for purchasing this quality product. To minimise the risk of injury we urge that our clients take some basic safety precautions when using this device. Please read the operation instructions carefully and make sure you have understood its content. Keep these operation instructions safe.
Safety instructions

![]()
Before this workshop press can be used, the owner as well as all other users of this device must have read and understood this operation manual and the information, warnings, and instructions contained therein. Personnel operating the press should always have the necessary qualifications, abide by the instructions of this operation manual, and always stay attentive and cautious.
- Before the workshop press is used, familiarise yourself with the device, its operation manual, its controls, and the process of its application.
- Ensure that all connectors have been connected correctly and securely.
- This device can only be used by children or individuals with reduced physical, sensory, or mental capabilities, or lack of experience and/or knowledge if they have received instructions concerning the use of the appliance from and are being supervised by a person familiar with the product and responsible for their safety.
- Check the device for loose, missing, bent, damaged, or worn-out parts before every use. Loose parts must be tightened while missing, bent, damaged, or worn-out items must be replaced before the device can be safely used again.
- Children must be always supervised to ensure that they do not play with it.
- Always stay attentive when using the device and keep bystanders away from the work area to avoid distractions.
- Do not use this device beyond its rated capacity.
- Do not use welding equipment near the workshop press.
- Always ensure that your work area is dry, clean, and well-lit. Wet, cluttered, or insufficiently lit work areas increase the risk of accidents.
- When working with this device, always wear appropriate safety equipment consisting of safety gloves, safety glasses as well as non-skid safety shoes.
- Do not wear loose clothing or accessories that may get caught up in moving parts. Tie long hair up or cover it with a snood-type cap to avoid severe injuries.
- Always stay vigilant while using this device and do not use it if you are tired or under the influence of alcohol, drugs, or medicine. Further ensure to take breaks on a regular basis to minimise exhaustion.
- Do not clean, maintain, repair the device, or tamper with the screw connections while the device is under pressure/load.
- Set the press to the lowest position when refilling hydraulic oil. Only use high quality hydraulic oil and under no circumstances brake fluid, alcohol, glycerine, detergent, engine oil, water, contaminated oil, or other inappropriate fluids.
- Do not attempt to open the hydraulic cylinder as it is under constant pressure. Forcefully opening it might lead to severe injuries and property damage.
- This workshop press was designed for pressing, bending, and straightening purposes. It must not be used for compression as compressed objects can shatter, explode, or be ejected from the press and cause severe injuries as well as property damage.
- Always centre work pieces on the bolster plates to prevent it from falling off or being squeezed out once pressure is applied. Make further sure to keep your hands away from the pressure piece.
Maintenance and control
- Perform a visual inspection before every use. Check the device and its hydraulic connections for leaks as well as loose, missing, damaged, or worn-out parts.
- Check the oil level regularly. First set the press to its lowest position before removing the oil cap. The oil level must exactly reach the opening; if this should not be the case, then refill the device by using high-quality hydraulic oil. Once again tightly close the oil cap, ensuring that the oil does not leak. The hydraulic oil should be completely replaced once a year.
- Periodically lubricate all moving parts. Regularly check the hydraulic piston for corrosion and dirt. Clean corroded or dirty spots with an oily cloth.
- If the disposal of the workshop press should become necessary, the oil should be completely drained and disposed of properly before the workshop press can be recycled.
Operation
- Carefully place the work piece on the bolster plates located on the press platform.
- Turn the release valve clockwise until it cannot be moved any more to close it.
- Pump the handle until the ram moves towards the work piece.
- Align the work piece to the pressure head to ensure that the two connect evenly and in a centred way.
- Apply force to the work piece by further pumping the handle. Be careful not to apply too much pressure.
- Make sure the work piece has been stabilised and will not fall off before releasing the valve by turning it counter-clockwise to remove the pressure from the work piece.
- Allow the pressure piece to retract completely before removing the work piece.
Troubleshooting
| Issue | Possible cause | Possible solution |
| The pressure piece does not move. | Mechanical parts clogged | Apply lubricating oil or grease. |
| The pressure piece cannot be retracted or retracts slowly | Overfilling of the oil tank | Drain jack oil to proper a level. |
| Obstruction of moving parts | Clean and lubricate moving parts. | |
| Will not lift to full extension | Oil level too low | Fill oil into the oil tank. |
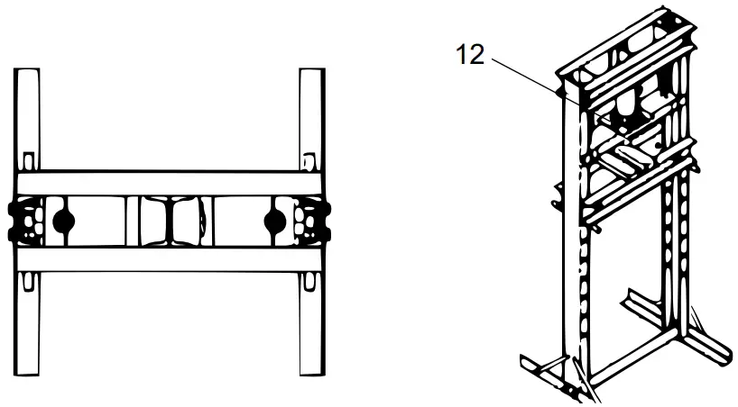
Exploded view and parts list


| No | Name | Qty. | No | Name | Qty. | No | Name | Qty. |
| 1 | Post | 2 | 9 | Pin | 2 | 17 | Washer 12 | 4 |
| 2 | Head support | 1 | 10 | Spring | 2 | 18 | Bolt M12x3o | 4 |
| 3 | Leg | 2 | 11 | 20-ton bottle jack | 1 | 19 | Nut M12 | 4 |
| 4 | Press platform | 2 | 12 | Screw M8x16 | 2 | 20 | Bolt M10x20 | 8 |
| 5 | Jack plate | 1 | 13 | Washer 16 | 10 | 21 | Nut Mio | 8 |
| 6 | Pressure piece | 1 | 14 | Bolt M16x30 | 8 | 22 | Washer 10 | 8 |
| 7 | Cross-brace | 1 | 15 | Nut Mi6 | 10 | 23 | Support bar | 4 |
| 8 | Bolster plate | 2 | 16 | Bolt M16x15o | 2 |
Important Notice:
The reprint or reproduction, even of excerpts, and any commercial use, even in part of this operation manual require the written permission of WilTec Wildanger Technik GmbH.
https://www.XPOtool.com
The Tool Experts




















