ATD-7457
50 Ton Shop Press with Guard
Owner’s Manual
Features:
- Fully welded double speed pump.
- A self-locking hand winch allows easy positioning of the bed.
- Multi-position bed allows work height adjustment –(6) adjustments of 5.5″ each.
- Includes protective work guard for added safety.
- Press cylinder with dual return springs.
- Large oil-filled gauge with stainless steel frame -scale for US and metric tons.
- Includes (2) anti-slip V blocks.
- Meets or exceeds ASME/PASE 2019 standards.
Specifications:
- Stroke: 7 .5″
- Working Range: 6.6″-34.2°
- Grid Guard:
- Dimensions: 28-3/4″ L x 30-1/2″ W
- NW: 8.8 lbs
- Shop Press with Grid Guard
- GW: 756.8 lbs
Important Information
1.1 Safety Information
1.1.1 Hazard Symbols Used in the Manuals
This manual includes the hazard symbols defined below when the operations or maintenance job involves a potential danger.
These symbols describe the level of danger involved in performing a job on the tool and the precautions to take to avoid the hazard.
1.1.2 Safety Requirements
Important
Make sure to read, understand, and strictly follow all safety-related instructions before the operation or maintenance of this equipment.
Intended Users
This manual is to be made available to all persons who are required to install, configure, or service equipment described herein,
or any other associated operation.
Application Area
The machinery described is intended for machinery production and assembling spare parts. It is used to press, size, assemble, rivet small parts in-process and not for other use.
Personnel
Installation, operation, and maintenance of the equipment should be carried out by qualified personnel. A qualified person is someone who is technically competent and familiar with all safety information and established safety practices with the installation process, operation and maintenance of this equipment; and with all the hazards involved.
1.1.3 Safety Instruction
![]()
- Before using press the pressure in the system must be released. At the same time, DO NOT stand facing the air motor. The operator should on the opposite side. Remember DO NOT strike, press or transfer until it is discharged.
- When it is necessary to exchange die after running, operators should wear gloves or use tools to operate to avoid being hurt.
NOTE: Immediately stop operating the equipment if not working properly. Contact certified technical support engineers for repair. The equipment must not be operated without approval from the certified technical support engineer.
This shop press includes a guard which brings a higher level of security. Always remember to the guard for additional safety.
Specification
2.1 Application Area
The shop press is used to press, remove, assemble, and rivet small parts in the process and is not for any other use.
2.2 Specifications
| Rated Capacity | 50 Tons |
| Working Range | 6.6″ to 34.2″ |
| Stroke | 7.5″ |
| Bed Width | 32.5″ |
| Required Pressure | 110 to 120 PSI |
Prepare before Assemble
3.1 Transport
![]()
This press is generally too heavy to be moved by hand. Therefore, use the correct transport and lifting equipment please make sure to use the proper lifting equipment and follow the instructions as follows.
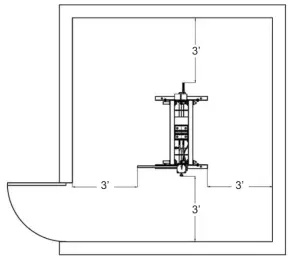
3.2 Working Area Conditions
Users should provide enough space for the equipment and the environment should be clean, and free of clutter.
![]()
A working area of 3 feet is to be kept free both in front of and behind the machine while it is in operation so that it is always

3.3 Unpacking & Check
![]()
When opening the packing, please make sure to use the proper tools, wear a protective cloth, gloves, safety helmet Make sure that the product and parts in the box are complete and identical with the part list. If not, please contact your distributor.
ASSEMBLY & INSTALLATION
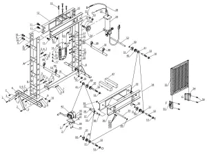
When this manual refers to a part number it refers to the included Parts List.
Use the exploded drawing in the Parts Breakdown as your guide to assembling the shop press. Lay all parts and assemblies out in front of you before beginning. A second person will make several steps easier to carry out.
- Begin assembly on a horizontal surface. The shop press will be raised upright during assembly. The following procedure is recommended:
- Attach the two upper crossbeams (#12) to the left and right post (#8) using bolts (#11) lock washers (#9) and nuts (#10). The upper cross beam on each set of posts will face outward.
- Attach a big roller #41 onto the top of the left and right posts. Install a small roller #31 onto the bottom of the left and right posts.
- Attach the ram assembly (#14) to the upper cross beam using bolts, washer, lock washer, and nut (#13 #15 #16 #17).
- Lift the shop press upright. Lift carefully as the ram assembly makes the shop press top-heavy.
- Attach the hand winch (#42) and its base plate to the left post using two bolts, washer, lock washer and nut (#2 #5 #6 #7).
- Slide the loop end of the long wire rope (#34) into the right shaft wheel’s groove.
- Bolt the right shaft wheel to the bed frame.
- Wrap the wire rope over the big roller (#41) at the top of the right post and guide it down and wrap around the outside of the small roller (#31) at the bottom right post. Guide the wire rope around the small roller on the bottom left post and up to the left shaft wheel. Slip the loop into the shaft wheel’s groove.
- Guide the wire rope from the hand winch over the big roller on the upper left post and down to the left shaft wheel. Slip the wire loop into the same groove as the other wire rope.
- Bolt the left shaft wheel to the bed frame.
- Attach the pump assembly (#29) to the right post using bolts (#20) and washers (#21) then connect the fitting of the hydraulic hose (#28) tight to the oil inlet fitting (B to B) at the ram assembly’s base (#14). Connect the hose (#P51) to both the oil fitting on the ram assembly and the fitting at the top of the pump assembly (#29).
- Install the pressure gauge (#24) by connecting one end of the gauge hose (#23) to the pressure gauge the other end to the fitting on the base of the ram assembly (#14 ).
- Assemble the 2 brackets (#54 and #55) to the working table according to the exploded view by using a screw, nut, lock washer, and flat washer. (#56 #57 #58 #59)
- Insert the Grid Guard (#53) into the slot of the brackets (#54 and #55).
- Test the unloaded press by operating both the air and hand pump to drive the ram to full height then lowering it.
OPERATION
BEFORE FIRST USE
- Before the first use, check for the proper hydraulic oil levels in the system. Then thoroughly test the hydraulic ram for proper operation prior to its actual use.
- Pour a teaspoon of good quality air tool lubricant into the air supply inlet of the lift control valve, connect to the air supply and operate for 3 seconds to evenly distribute the lubricant.
- Purge air from the hydraulic system. See Bleeding the Hydraulic System in the Maintenance section.
OPERATING THE SHOP PRESS
WARNING! Ensure that you read understand and apply the safety instructions and warnings before use.
- Place the heel blocks (#47) on the bed frame (#35) then insert a workpiece on the heel blocks.
- Lift or lower the bed frame (#35) with the hand winch (#42) until it is in position. Insert a bed frame pin (#18) into the left and right posts beneath the bed frame. Lower the bed frame so it rests on the pins.
- Adjust the height of the guard (#53) to make sure it covers the working area.
- Close the release valve (#P30) by turning it clockwise until it is firmly closed.
- Connect the air valve (#P44) to the shop air supply hose lock fitting. Turn on the air valve and let the pump work until the serrated saddle (#R17) nears the workpiece then turn off the air valve.
- When an air source is an unavailable pump the handle (#52) until the serrated saddle nears the workpiece.
- Align the workpiece and ram to ensure center load.
- Turn on the air valve (or pump the handle to apply load to the workpiece).
- When the work is done, turn off the air valve (or stop pumping the handle) slowly and carefully remove the load from the workpiece by turning the release valve (#P30) counterclockwise in small increments.
- Once the ram has fully retracted, lower the guard and remove the workpiece from the bed frame.
- Disconnect the air inlet fitting from the air source when finished for the day.
MAINTENANCE
- Maintain the shop press with care. A tool in good condition is easier to control and will have fewer problems
- Inspect the tool components periodically. Repair or replace damaged or worn components. Only use identical replacement parts when servicing.
- Follow instructions for lubricating and changing accessories.
- Only use accessories intended for use with this tool.
- Keep the tool handles clean, dry and free from oil/grease at all times.
WARNING!
WARNING! Only qualified service personnel should repair the tool. Improperly repaired tools may present a hazard to the user and/or others.
BLEEDING THE HYDRAULIC SYSTEM
Bleed excess air from the hydraulic system as follows:
- Open the release valve (#P30) by turning it counterclockwise.
- Remove the breather oil plug (#P14) and the Oil filler nut
- Fill the pump with hydraulic fluid until it is full.
- Pump the handle (#52) for several full strokes to eliminate any air in the system.
- Connect the air supply to the air valve (#P44). Work the pump several times to eliminate any air in the system.
- Check the oil level at the filler hole and if necessary, top off until the oil level meets the bottom of the filler hole.
- Restore the oil filler nut and breather oil plug. Close the release valve by turning clockwise.
- Test the ram several times for proper operation before putting it into use. Do not use the ram if it still does not appear to be working properly. Have a qualified service technician service or repair the hydraulic system.
CLEANING
Clean the outside of the press with a dry, clean and soft cloth.
LUBRICATION
Inspect and lubricate the tool when required. Only use light oil. Periodically lubricate the hoist wheel shaft assembly, the joints, and all moving parts. Do not allow oil onto the heel blocks or frame of the shop press.
AIR TOOL LUBRICATION
Only use air tool oil to lubricate the air system. Other lubricants may not be suitable and could damage the tool or cause a malfunction during use. Add a drop or two of air tool oil into the air valve before each use and after every hour of continuous use.
Without lubrication, the tool will not work properly and parts will wear prematurely.
Avoid adding too much air tool oil as this can cause premature power loss and eventual tool failure. The tool will need to be taken apart by a qualified technician and cleaned of excess oil.
In the event that it becomes necessary to store the tool for an extended period of time (overnight weekend etc.), it should receive a
generous amount of lubrication at that time. The tool should be run for approximately 30 seconds to ensure the oil has been evenly
distributed throughout the tool.
STORAGE
The shop press should be stored in a clean and dry environment.
NOTICE! NEVER use penetrating oil to lubricate the tool. Penetrating oil may act as a solvent that will break down the grease and cause the tool to seize up.
DISPOSAL
IMPORTANT! DO NOT pollute the environment by allowing uncontrolled discharge of waste oil. Do not drain hydraulic oil into the sewer system or dispose of in an uncontrolled location. Hydraulic fluid may take more than a year to break down in the environment and the ingredients may still be toxic. Contact your local municipality for proper disposal instructions or locations.
PARTS
Please refer to the following pages for parts. Please note that not all parts are necessarily replacement items, but are shown for placement.
REPLACEMENT PARTS
Not all components of this product are replacement items but are illustrated as a convenient reference for a position in the assembly sequence. When ordering parts, give the model number, part number, and description. Call your distributor for current pricing:


| ITEM# | ORDERING PART# | PART DESCRIPTION | QTY |
| P8 | PRT7457-SK | SEAL KIT | 1 |
| R5 | |||
| P11 | |||
| P31 | |||
| P7 | |||
| R15 | |||
| R11 | |||
| R6 | |||
| P9 | |||
| P48 | |||
| P27 | |||
| 22/P50 | |||
| P40 | |||
| P18 | |||
| P33 | |||
| P12 | |||
| R17 | PRT7457-R17 | SADDLE | 1 |
| R18 | PRT7457-R18 | SCREW | 1 |
| P3 | PRT7457-P3-P11 | PISTON | 1 |
| P5 | |||
| P6 | |||
| P7 | |||
| P8 | |||
| P9 | |||
| P10 | |||
| P11 | |||
| 14 | PRT7457-14 | RAM ASSEMBLY | 1 |
| P30 | PR17457-P30-P31 | RELEASE VALVE | 1 |
| P31 | PRT7457-24 | ||
| 24 | PRESSURE GUAGE | 1 | |
| P1 | |||
| P2 | PRT7457-P1-P13 | HANDLE LINKAGE | |
| P4 | |||
| P13 | 1 | ||
| 48 | PRT7457-48 | RETAINING RING | 1 |
| 31 | |||
| 33 | |||
| 34 | PRT7457-31-51 | STEEL CABLE | 1 |
| 40 | |||
| 51 | |||
| 21 | |||
| 33 | |||
| 41 | |||
| 42 | |||
| 43 | PRT7457-21-50 | HAND WINCH ASSEMBLY | 1 |
| 44 | |||
| 45 | |||
| 46 | |||
| 49 | |||
| 50 | |||
| P15 | PRT7457-P15 | AIR MOTOR | 1 |
| P43 | PRT7457-P43 | AIR HOSE | 1 |
| P44 | PRT7457-P44 | AIR VALVE | 1 |
| 29 | PRT7457-29 | PUMP ASSEMBLY | 1 |


WARRANTY
1 YEAR LIMITED WARRANTY
THIS WARRANTY AND CONFIRMED RECEIPT(S) SHOULD BE RETAINED BY THE CUSTOMER AT ALL TIMES
PURCHASED FROM:………….
DATE PURCHASED:…………
INVOICE/RECEIPT NUMBER:………..
Your ATD-7457 is warranted for a period of 12 months from the original purchase date.
For a period of one (1) year from your purchase date, ATD Tools, Inc. will repair or replace (at its option) without charge, your ATD product if it was purchased new and the product has failed due to a defect in material or workmanship which you experienced during normal use of the product. This limited warranty is your exclusive remedy.
To access the benefits of this warranty, contact your supplier, or point of sale directly. You may be advised to return the product under warranty, freight prepaid, to your supplier for warranty determination.
If this ATD product is altered, abused, misused, modified, or undergoes service by an unauthorized technician, your warranty will be void. We are not responsible for damage to ornamental designs you place on this ATD product and such ornamentation should not cover any warnings or instructions or they may void the warranty. This warranty does not cover scratches, superficial dents, and other abrasions to the paint finish that occur under normal use. It also does not cover normal wear items such as but not limited to brushes, batteries, drill bits, drill chucks, pads or blades.
Subject to the law in your state:
- Your sole and exclusive remedy is the repair or replacement of the defective product as described above.
- ATD is not liable for any incidental damages, including but not limited to, lost profits and unforeseeable consequences.
- The repair and replacement of this product under the express limited warranty described above is your exclusive remedy and is provided in lieu of all other warranties, express or implied. All other warranties, including implied warranties and warranties of merchantability or fitness for a particular purpose, are disclaimed and, if disclaimer is prohibited, these warranties are limited to one year from your date of purchase of this product.
Some states’ laws do not allow limited durations on certain implied warranties and some states’ laws do not allow limitations on incidental or consequential damages. You should consult the law in your state to determine how your rights may vary.
[Affix receipt or invoice here for safe keeping]
Features:
















