Clarke CSA10EP 10 Tonne Hydraulic Press

INTRODUCTION
Thank you for purchasing this CLARKE 10 Tonne Hydraulic Press. Before attempting to operate the machine, it is essential that you read this manual thoroughly and carefully follow all instructions given. In doing so you will ensure the safety of yourself and that of others around you, and you can also look forward to the press giving you long and satisfactory service.
PRODUCT SPECIFICATIONS
| Rated Load | 10 Tonnes |
| Throat Width | 400mm |
| Throat Depth (Ram to pressing plate) | |
| Platform at position 1 (highest) | 75 mm |
| Platform at position 2 | 200 mm |
| Platform at position 3 | 325 mm |
| Platform at position 4 | 450 mm |
| Platform at position 5 | 575 mm |
| Platform at position 6 | 700 mm |
| Ram Travel | 134 mm |
| No of strokes to full extension | 78 |
| Length of handle | 500 mm |
| Oil Capacity | 0.82 L |
| Dimensions (D x W x H) | 500 x 570 x 1305 mm |
| Weight | 47.5 kg |
SAFETY SYMBOLS
![]() | Read instruction manual before use | ![]() | Wear safety glasses |
![]() | Wear Safety Shoes |
The above safety symbols appear on the product.
SAFETY PRECAUTIONS
- Always read the operating instructions thoroughly before using this press.
- The components of this press are specially designed to withstand the rated capacity. Do not substitute bolts, pins, or any other components. Do not exceed the rated capacity of the press.
- During assembly or if the press is moved, always call for the help of an assistant, do not manhandle single-handedly.
- Ensure the press is bolted down onto a solid, flat surface.
- Ensure the press is located on level ground with adequate light.
- Before applying a load, ensure all press bed support pins are fully engaged.
- Before use, always ensure the workpiece is secure and stable.
- Always clean any spills of hydraulic oil immediately as this can be dangerous in a workshop environment.
- Do not allow any person who is inexperienced in the use of hydraulic presses, to use the press unless they are under direct supervision.
- Never tamper with the press. The safety valve is calibrated and sealed at the factory; do not attempt to change the setting.
- Use only the recommended hydraulic oil as shown on page 8.
- Always place the workpiece under the centre of the ram. Offset loads can damage the press and may cause the work piece to be ejected.
- Before use, check for signs of cracked welds, bent bed pins, loose or missing bolts, or any other structural damage. Do not operate if any of these are found. Have repairs made only by authorised service centre.
- Remove any load from press bed before attempting to adjust bed height.
- Press only on a work piece supported by the press bed.
- When using accessories such as pressing plates, be certain they are centered below the ram and are in full contact with the bed.
- Parts being pressed may splinter or be ejected from the press. Due to varied applications, it is your responsibility to always use adequate guards, wear eye protection and protective clothing when operating this press.
- Always use appropriate safety wear such as protective shoes and safety goggles.
- Keep hands and fingers away from parts that may shift and pinch.
- Do not use extension tubes on the operating handle. Excessive effort can cause damage and/or accidents.
ASSEMBLY
Ensure the press components suffered no damage during transit and that all components are present. Should any loss or damage become apparent, please contact your CLARKE dealer immediately.
Due to the weight of the components, we recommend that the press is
assembled by two people.

| ID | DESCRIPTION | QTY |
| 1 | Cross Beam | 1 |
| 2 | Bolt M12 | 8 |
| 3 | Washer 12 mm | 8 |
| 4 | Nut M12 | 8 |
| 5 | Side Support | 2 |
| 6 | Spring | 2 |
| 7 | Bottle Jack Unit | 1 |
| 8 | Moving Beam | 1 |
| 9 | Pressing Bed | 1 |
| 10 | Bed Supporting Pin | 2 |
| 11 | Bolt M8 | 12 |
| 12 | Washer 8 mm | 12 |
| 13 | Nut M8 | 12 |
| 14 | Foot | 2 |
| 15 | Foot Brace | 4 |
| 16 | Bottom Cross Member | 1 |
| 17 | Pressing Plate | 2 |
| 18 | Handle | 1 |
The press must be firmly secured to a firm and level floor using expansion bolts (not supplied). Holes are provided in the foot sections for this purpose. Do not locate your press where it will be open to the elements, as harsh weather conditions will damage the hydraulic parts.
- Attach the feet and the bottom cross member to the side supports, using the M8 nuts, bolts and washers.
- Add the foot braces to each side using the remaining M8 nuts, bolts and washers.

- Bolt the cross beam to the side supports, securing it with the M12 bolts, nuts and washers.
- Assemble loosely before tightening all fastenings.

- Assemble loosely before tightening all fastenings.
- With the help of an assistant, manoeuvre the frame to its intended location in the workshop.
- Take the two springs and hook them to their positions on the moving beam. Support the moving beam and attach the other end of the springs to the rods within the cross beam.

- Take the bottle jack unit, and by pressing down on the moving beam against the resistance of the springs, maneuver the jack so that the jack ram sits in the socket below the cross beam.
- The jack will remain self-centered during use.

- The jack will remain self-centered during use.
- Insert the bed support pins into the holes in the side support at a height of your choosing. Then lower the pressing bed onto the pins.

PREPARATION
- Before using the press, purge any air from the jack by opening the release valve (turning it anti-clockwise) and pumping the jack several full strokes to eliminate any air bubbles.
- Check all parts are secure and correctly aligned before using the press.

POSITIONING THE BED
Due to the weight of the bed, we recommend that you get assistance from another person when changing the bed height.
- Position the bed at the desired height, so that it will be as close as possible to the ram when the workpiece is mounted on it.
- Raise one side of the bed and insert a supporting pin into the next locating hole.
- Repeat at the other end to level the bed.
- Repeat until the bed is at the desired height, with the supporting pins fully ‘home’ and held in place by the retaining clips.
CAUTION: THE BED HEIGHT SHOULD ONLY BE RAISED OR LOWERED ONE HOLE AT A TIME, WORKING ALTERNATELY FROM ONE SIDE AND THEN THE OTHER, FAILURE TO WORK IN THIS WAY MAY CAUSE THE BED TO FALL AND CAUSE INJURY TO THE OPERATOR.
OPERATION
WARNING: FAILURE TO HEED THE WARNINGS ON PAGE 3 MAY RESULT IN DAMAGE TO THE EQUIPMENT OR COMPONENT FAILURE RESULTING IN PROPERTY DAMAGE, PERSONAL, OR EVEN FATAL INJURY.
NEVER USE EXTENSIONS TO THE RAM PUMPING HANDLE
- The press is now ready for use. Place the workpiece on the bed. It must be completely stable and supported by packing or shims where required. A pair of pressing plates are supplied, which lay flat on the bed. Place the workpiece on these to give it stability.
CAUTION: DO NOT POINT LOAD THESE ACCESSORIES AS THEY ARE NOT DESIGNED TO TAKE THE FULL FORCE OF THE RAM IN ONE SPOT. ENSURE THEY ARE ADEQUATELY SUPPORTED.
NOTE: Any packing pieces or shims used MUST be capable of withstanding the pressure that will be brought to bear, and MUST be of sufficient size with sufficient surface area, so as to avoid the possibility of slipping or springing out. Mating surfaces MUST be horizontal so that the force being exerted will NOT be at an angle.\
- Close the release valve by turning it clockwise until tightly closed.
- Pump the handle to bring the ram very lightly into contact with the workpiece.
- Position the workpiece so that the desired point of contact is directly beneath the centre of the ram.
- When satisfied that the workpiece is correctly aligned and is completely stable in that position, slowly pump the handle so that the ram begins to exert pressure on the workpiece.
- Continue to pump the handle and constantly monitor the process, ensuring the ram and work remain completely in line and there is no risk of slipping.
- When the task is complete, turn the release valve anticlockwise in small increments to release ram pressure and allow removal of the workpiece.
MAINTENANCE
- A visual inspection must be made before use of the press, checking for leaking hydraulic fluid and damaged, loose, or missing parts.
- Owners and/or users should be aware that repair of this equipment requires specialised knowledge and facilities. It is recommended that a thorough annual inspection of the press be made and that any defective parts be replaced with genuine Clarke parts.
- Any press which appears to be damaged in any way, is found to be badly worn or operates abnormally SHOULD BE REMOVED FROM SERVICE until the necessary repairs are made.
- If the press is not to be used for any length of time, store it with the ram piston withdrawn and the operating handle in the lowered position to protect the moving parts.
- Periodically check the press frame to make sure all bolts are tight and inspect for cracked welds, bent, loose or missing parts.
- Check the hydraulic jack for leaks. Replace or properly repair any damaged or leaking hydraulic components before using. In the event of leaking seals, oil can be topped up via the plug on the jack. Oil should be level with the bottom of the hole. If necessary top up with CLARKE hydraulic oil, Part No. 3050830. This task is carried out with the ram fully retracted.
- If any corrosion is apparent it should be removed completely and the paint restored.
DE-COMMISSIONING PRODUCT
Should the product become completely unserviceable and require disposal, draw off the oil into an approved container and dispose of the product and the oil according to local regulations.
GUARANTEE
This CLARKE product is guaranteed against faulty manufacture for a period of 12 months from the date of purchase. Please keep your receipt as proof of purchase.
This guarantee is invalid if the product is found to have been abused or tampered with in any way, or not used for the purpose for which it was intended.
Faulty goods should be returned to their place of purchase, no product can be returned to us without prior permission. This guarantee does not effect your statutory rights.
TROUBLESHOOTING
| Problem | Probable Cause | Remedy |
| Press will not work. | Dirt on valve seat/warn seals within jack. | Bleed jack unit or have unit overhauled with new seals. |
| Jack will not produce pressure Jack feels hesitant under load. | Air-lock in jack. | Open the release valve and remove the oil filler plug. Pump the handle a couple of full strokes and close the release valve. Replace the filler plug. |
| Jack will not deliver pressure. | Reservoir could be over- filled or have low oil level. | Check oil level by removing the filler plug and topping up to the correct level. |
| Seal could be worn out. | Have the seal replaced. | |
| Ram will not with- draw completely. | Air-lock in jack. | Release air by removing the filler plug. |
DECLARATION OF CONFORMITY – UKCA
DECLARATION OF CONFORMITY
This is an important document and should be retained.
We hereby declare that this product(s) complies with the following statuary requirement(s):
Supply of Machinery (Safety) Regulations 2008
The following standards have been applied to the product(s):
EN ISO 12100:2010, EN ISO 16092-3:2018, EN 60204-1:2018.
The technical documentation required to demonstrate that the product(s) meet(s) the requirement(s) of the aforementioned legislation has been compiled and is available for inspection by the relevant enforcement authorities.
The UKCA mark was first applied in: 2022
- Product Description: 10 Tonne Hydraulic Floor Press
- Model number(s): CSA10EP
- Serial/ batch Number: N/A
- Date of Issue: 18/10/2022
DECLARATION OF CONFORMITY – CE
DECLARATION OF CONFORMITY
This is an important document and should be retained.
We hereby declare that this product(s) complies with the following directive(s): 2006/42/EC Machinery Directive
The following standards have been applied to the product(s):
EN ISO 12100:2010, EN ISO 16092-3:2018, EN 60204-1:2018.
The technical documentation required to demonstrate that the product(s) meet(s) the requirement(s) of the aforementioned directive(s} has been compiled and is available for inspection by the relevant enforcement authorities.
The CE mark was first applied in: 2010
- Product Description: 1o Tonne Hydraulic Floor Press
- Model number{s): CSA10EP
- Serial/ batch Number: N/A
- Date of Issue: 18/10/2022
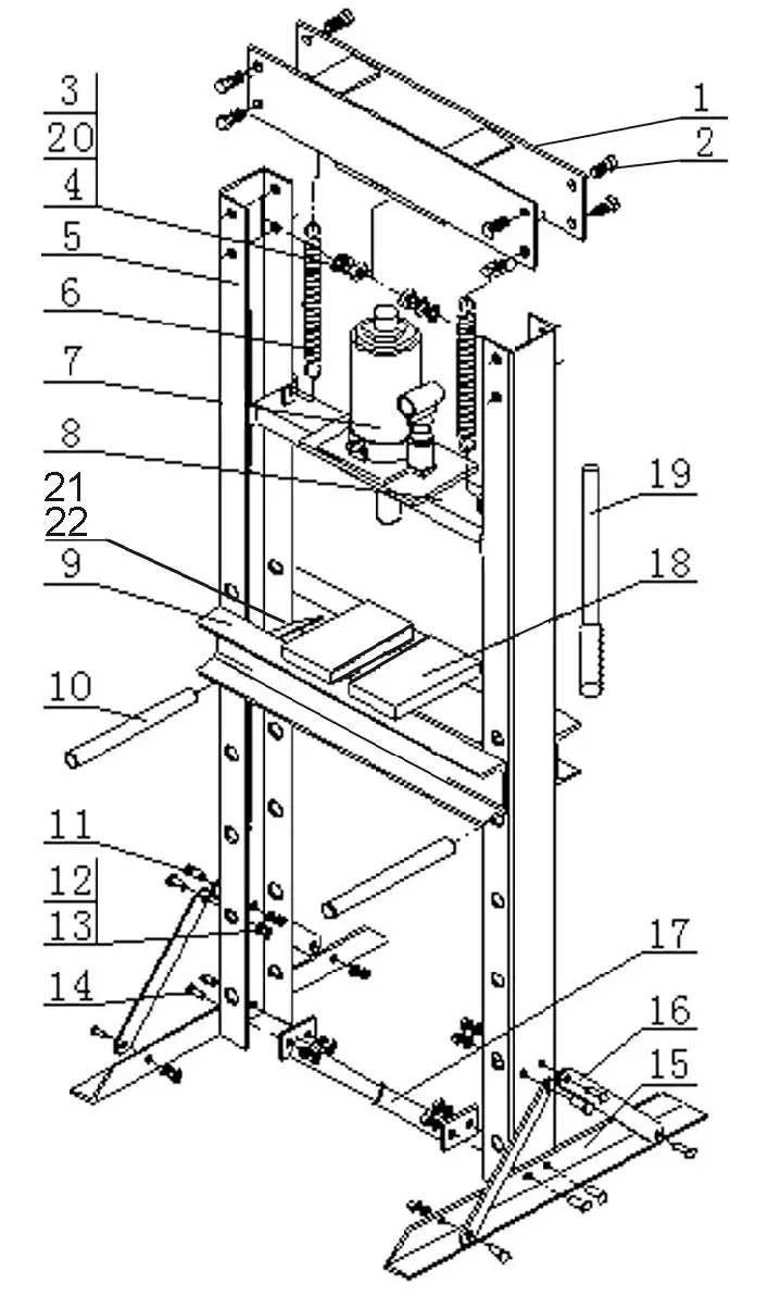
FRAME PARTS DIAGRAM

| NO | DESCRIPTION |
| 1 | Cross Beam |
| 2 | Bolt M12 x 30 |
| 3 | Washer 12 mm |
| 4 | Nut M12 |
| 5 | Column |
| 6 | Spring |
| 7 | Bottle Jack Unit |
| 8 | Moving Beam |
| 9 | Pressing Bed |
| 10 | Pin |
| 11 | Bolt M8 x 20 |
| 12 | Washer 8 mm |
| 13 | Nut M8 |
| 14 | Bolt M8 x 25 |
| 15 | Leg |
| 16 | Foot Brace |
| 17 | Bottom Fixing Plate |
| 18 | Pressing Plate |
| 19 | Handle |
| 20 | Spring Washer |
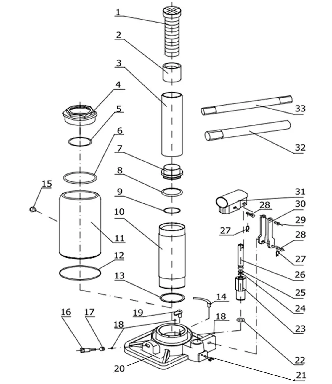
PUMP (JACK) PARTS DIAGRAM

| NO | DESCRIPTION |
| 1 | Adjustable Saddle |
| 2 | Saddle Socket |
| 3 | Piston Rod |
| 4 | Nut |
| 5 | O-ring |
| 6 | Seal |
| 7 | Piston |
| 8 | Bowl Washer |
| 9 | O-ring |
| 10 | Cylinder |
| 11 | Reservoir |
| 12 | Reservoir Seal |
| 13 | Base Plate Washer |
| 14 | Filter Screen |
| 15 | Oil Filler Plug |
| 16 | Release Valve |
| 17 | Release Valve Seal |
| 18 | Ball 6mm |
| 19 | Ball Stopper |
| 20 | Base |
| 21 | Bolt |
| 22 | Washer |
| 23 | Pump |
| 24 | O-ring |
| 25 | Back Ring |
| 26 | Plunger |
| 27 | R-Clip |
| 28 | Pin |
| 29 | Short Pin |
| 30 | Link Plate |
| 31 | Handle Socket |
| 32 | Handle Top |
| 33 | Handle Bottom |
A SELECTION FROM THE VAST RANGE OF

QUALITY PRODUCTS
- AIR COMPRESSORS
From DIY to industrial, Plus air tools, spray guns and accessories. - GENERATORS
Prime duty or emergency standby for business, home and leisure. - POWER WASHERS
Hot and cold, electric and engine driven – we have what you need - WELDERS
Mig, Arc, Tig and Spot.
From DIV to auto/industrial. - METALWORKING
Drills, grinders and saws for DIV and professional use. - WOODWORKING
Saws, sanders, lathes, mortisers and dust extraction. - HYDRAULICS
Cranes, body repair kits, transmission jacks for all types of workshop use. - WATER PUMPS
Submersible, electric and engine driven for DIV, agriculture and industry. - POWER TOOLS
Angle grinders, cordless drill sets, saws and sanders. - STARTERS/CHARGERS
All sizes for car and commercial use.

PARTS & SERVICE: 0208 988 7400
- Parts Enquiries [email protected] S
- ervicing & Technical Enquiries [email protected]
- SALES: UK 01992 565333 or Export 00 44 (0)1992 565335
- CarkEINTERNATIONAL Hemnall Street, Epping, Essex CM16 4LG www.clarkeinternational.com
Parts & Service: 020 8988 7400 I
E-mail: [email protected]
or
[email protected]





























