CSA20EP 20 Tonne Hydraulic Press
Instruction Manual

WARNING: Read these instructions before using the press
INTRODUCTION
Thank you for purchasing this CLARKE 20 Tonne Hydraulic Press. Before attempting to operate the press it is essential that you read this manual thoroughly and carefully follow all instructions given. In doing so you will ensure the safety of yourself and that of others around you, and you can also look forward to the press giving you long and satisfactory service.
PRODUCT SPECIFICATIONS
| Rated Load | 20 Tonnes |
| Throat Width | 670 mm |
| Throat Height (Ram to pressing plate) | 937 mm |
| Platform at position 1 Platform at position 2 Platform at position 3 Platform at position 4 | 457 mm 577 mm 697 mm 817 mm |
| Ram Travel | 150 mm |
| Ram travel per stroke | 0.8mm |
| Number of strokes to full extension | 188 |
| Length of handle | 500 mm |
| Oil Capacity/grade | 0.51 L (HLP IS032) |
| Dimensions (D x W x H) | 540 x 640 x 1500 mm |
| Weight | 85 kg |
SAFETY SYMBOLS
| Read the instruction manual before use | |
| Wear Safety Shoes | |
![]() | Wear safety glasses |
SAFETY PRECAUTIONS
Due to the weight of the press, the help of an assistant will be beneficial during assembly and installation.
ALWAYS operate the press with adequate light.
Before starting work, check for signs of cracked welds, loose or missing bolts, or any other structural damage. Do not operate if any of these conditions exist.
Have repairs made only by the authorized service center.
NEVER tamper with any components. The safety valve is calibrated and sealed at the factory; do not attempt to change the setting.
Use only the recommended hydraulic oil.
The components of this press are designed to withstand the rated capacity.
DO NOT substitute any other components or exceed the rated capacity of the press.
Before applying pressure, ALWAYS ensure the workpiece is firmly secure and stable.
ALWAYS clean up spills of hydraulic oil immediately as this can be dangerous in a workshop environment.
DO NOT allow any person who is unfamiliar with hydraulic presses to use the press unless they are under direct supervision.
DO NOT stand directly in front of the press when it is in use.
ALWAYS apply the load under the center of the ram. Offset loads can damage the ram and may cause the workpiece to be ejected.
ALWAYS ensure the workpiece is properly supported by the press bed.
When using accessories such as pressing plates, be certain they are centered below the ram and are in full contact with the bed.
Parts being pressed may shatter or be ejected from the press. In the case of varied applications, it is your responsibility to always use adequate guards, and wear eye protection and protective clothing when using this press.
Keep hands and fingers away from parts that may pinch or shift.
NEVER use extension tubes to increase the length of the pump handle.
Excessive effort can cause damage and/or accidents.
Failure to heed these warnings may result in damage to the equipment or serious personal injury.
UNPACKING
Ensure the press components suffered no damage during transit and that all components are present. Should any loss or damage become apparent, please contact your CLARKE dealer immediately.

| ID | DESCRIPTION | QTY |
| 1 | Foot | 2 |
| 2 | Bottom Cross Member | 1 |
| 3 | Side Support | 2 |
| 4 | Foot Brace | 4 |
| 5 | Pressing Bed | 2 |
| 6 | Cross Beam | 1 |
| 7 | Middle Bolster | 1 |
| 8 | Pressing Plate | 2 |
| 9 | Bottle Jack | 1 |
| 10 | Spring | 2 |
| 11 | Bottle Jack Handle | 1 |
| 12 | Bed Supporting Pins | 2 |
| 13 | Fixings pack, containing bolts, nuts, washers, and attachment hooks itemized on page 13. |
ASSEMBLY
The press must be firmly secured to a solid level floor such as concrete, using expansion bolts (not supplied). Holes are provided in the foot sections for this purpose. Do not locate your press where it will be open to the elements, as harsh weather conditions will damage the hydraulic parts.
Due to the weight of the components, we recommend that the press is assembled by two people.
- Attach the feet and the bottom cross member to the side supports, using the M12 nuts, bolts, and washers.
- Add the foot braces to each side using the remaining M10 nuts, bolts, and washers.

- Bolt the cross beam to the side supports, securing it with the M16 bolts, nuts, and washers.
• Assemble loosely before tightening all fastenings.
- With the help of an assistant, maneuver the frame to its intended location in the workshop.
- Fix the 2x hooks to the moving cross beam using the nuts supplied. Take the two springs and hook them to their positions on the moving beam. Support the moving beam and attach the other end of the springs to the cross beam.

- Take the bottle jack unit, and by pressing down on the moving cross beam against the resistance of the springs, maneuver the jack so that the jack ram sits in the socket below the cross beam.

- Using the small hex bolt and nut, secure the jack to the beam.
• The jack will remain self-centered during use.
Bolt the two halves of the pressing bed together using the long bolts with nuts and spacer tubes supplied. - Insert the bed support pins into the holes in the side support at a height of your choosing. Then lower the pressing bed onto the pins.

PREPARATION

POSITIONING THE BED
Due to the weight of the bed, we recommend that you get assistance from another person when changing the bed height.
- Raise one side of the bed and insert a supporting pin into the next locating hole.
- Repeat at the other end to level the bed.
CAUTION: IT IS SAFER AND EASIER IF THE BED HEIGHT IS ONLY RAISED OR LOWERED ONE HOLE AT A TIME, WORKING ALTERNATELY FROM ONE SIDE AND THEN THE OTHER UNLESS AN ASSISTANT IS AVAILABLE TO SUPPORT THE WEIGHT OF THE BED WHILE THE PINS ARE INSERTED. - Position the bed at the desired height, so that it will be as close as possible to the ram when the workpiece is mounted on it.
OPERATION
WARNING: FAILURE TO HEED THE WARNINGS ON PAGE 3 MAY RESULT IN DAMAGE TO THE EQUIPMENT OR COMPONENT FAILURE RESULTING IN PROPERTY DAMAGE, PERSONAL, OR EVEN INJURY. NEVER USE EXTENSIONS TO THE RAM PUMPING HANDLE
- The press is now ready for use. Place the workpiece on the bed. It must be completely stable and supported by packing or shims where required. A pair of pressing plates are supplied, which lay flat on the bed. Place the 0workpiece on these to give it stability.
CAUTION: DO NOT POINT LOAD THESE ACCESSORIES AS THEY ARE NOT DESIGNED TO TAKE THE FULL FORCE OF THE RAM IN ONE SPOT. ENSURE THEY ARE ADEQUATELY SUPPORTED.
NOTE: Any packing pieces or shims used MUST be capable of withstanding the pressure that will be brought to bear, and MUST be of sufficient size with sufficient surface area, so as to avoid the possibility of slipping or springing out. Mating surfaces MUST be horizontal so that the force being exerted will NOT be at an angle.
- Using the crimped end of the handle, close the release valve by turning it clockwise until tightly closed.
- Pump the handle to bring the ram very lightly into contact with the workpiece.
- Position the workpiece so that the desired point of contact is directly beneath the center of the ram.
- When satisfied that the workpiece is correctly aligned and is completely stable in that position, slowly pump the handle so that the ram begins to exert pressure on the workpiece.
- Continue to pump the handle and constantly monitor the process, ensuring the ram and work remain completely in line and there is no risk of slipping.
- When the task is complete, turn the release valve anticlockwise in small increments to release ram pressure and allow the removal of the workpiece.
MAINTENANCE
ROUTINELY
A visual inspection must be made before the use of the press, checking for leaking hydraulic fluid and damaged, loose, or missing parts.
Owners and/or users should be aware that the repair of this equipment requires specialized knowledge and facilities. It is recommended that a routine inspection of the press be made and any defective parts are replaced with genuine CLARKE parts.
If there appears to be damaged in any way, is found to be badly worn, or operates abnormally SHOULD BE REMOVED FROM SERVICE until the necessary repairs are made.
If the press is not to be used for any length of time, store it with the ram piston withdrawn to protect the moving parts.
PERIODICALLY
Periodically check the press frame to make sure all bolts are tight and inspect for cracked welds, bent, loose or missing parts. If corrosion is found it should be removed completely and the paint restored.
Check the hydraulic jack for leaks. Replace or properly repair any damaged or leaking hydraulic components before using. In the event of leaking seals, oil can be topped up via the plug on the jack. Oil should be level with the bottom of the hole. If necessary top up with CLARKE hydraulic oil, Part No. 3050830. This task is carried out with the ram fully retracted.
In the event of leakage, oil can be topped up by removing the filler plug on the reservoir and topping up level with the plug.
DISPOSAL OF UNWANTED MATERIALS
One of the most damaging sources of environmental pollution is oil products.
Never throw away used oil with domestic refuse or flush it down a sink or drain.
Collect any oil in a leak-proof container and take it to your local waste disposal site.
Should hydraulic components become completely unserviceable and require disposal, draw off the oil into an approved container and dispose of theproduct and the oil according to local regulations.
TROUBLESHOOTING
| Problem | Probable Cause | Remedy |
| The pump unit will not work | Dirt on valve seat/worn seals | Bleed pump or have a unit overhauled with new seals |
| The pump will not produce pressure The pump feels hesitant under load | Air-lock | Open the release valve and remove the oil filler plug. Pump the handle a couple of full strokes and close the release valve. Replace the filler plug. |
| The pump will not deliver pressure | The reservoir could be over-filled or have a low oil level. | Check the oil level by removing the filler plug & topping up if required. |
| The pump feels hesitant under load | The pump cup seal could be worn out. | Has the cup seal been replaced? |
| The pump will not lower completely | Air-lock | Release air by removing the filler plug. |
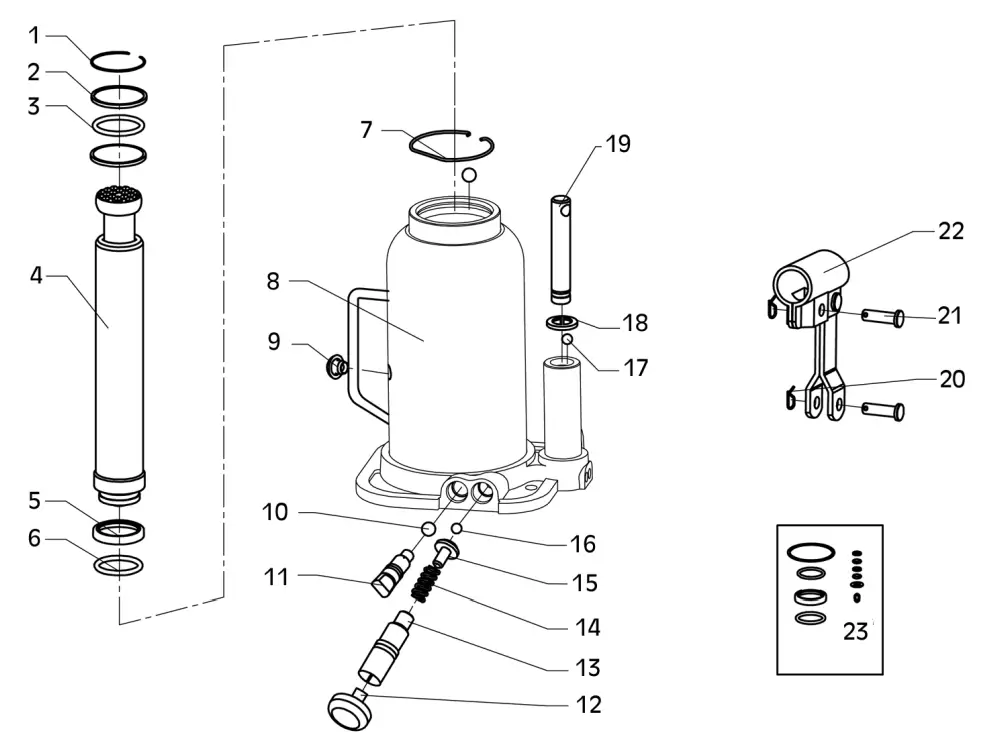
COMPONENT PARTS – BOTTLE JACK

| ID | DESCRIPTION |
| 1 | Circlip |
| 2 | Rectangular Ring |
| 3 | O-Ring |
| 4 | Piston Rod Assembly |
| 5 | Bowl Washer |
| 6 | O-Ring |
| 7 | Circlip |
| 8 | Main Base Unit |
| 9 | Oil Plug |
| 10 | Steel Ball Bearing, 6mm |
| 11 | Release Value Assembly |
| 12 | Plastic Plug |
| 13 | Adjusting Screw Assembly |
| 14 | Spring |
| 15 | Spring Holder |
| 16 | Steel Ball Bearing, 3mm |
| 17 | Steel Ball Bearing, 5mm |
| 18 | Bowl Washer |
| 19 | Pump Plunger Assembly |
| 20 | Cotter Pin |
| 21 | Pin |
| 22 | Handle Socket Assembly |
| 23 | Seal Kit |
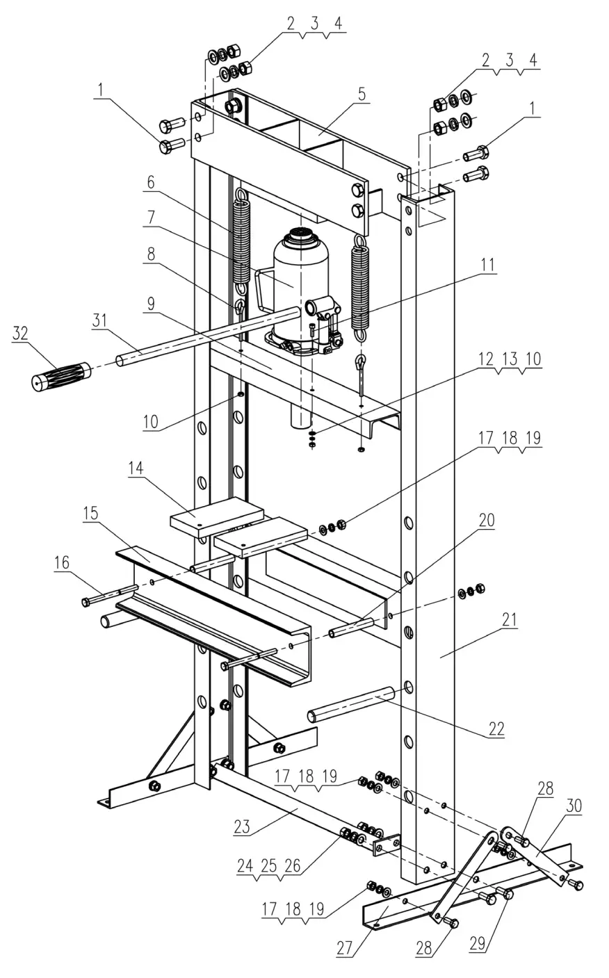
COMPONENT PARTS – FRAME

| ID | DESCRIPTION | QTY | ID | DESCRIPTION | QTY |
| 1 | Bolt, M16 x 40 | 8 | 17 | Washer, 10 | 2 |
| 2 | Washer, 16 | 8 | 18 | Spring Washer, 10 | 2 |
| 3 | Nut, M16 | 8 | 19 | Nut, M10 | 2 |
| 4 | Spring Washer, 16 | 8 | 20 | Spacer Tube | 2 |
| 5 | Top Cross Beam | 1 | 21 | Side Column | 2 |
| 6 | Spring | 2 | 22 | Bed Support Pins | 2 |
| 7 | Bottle Jack | 1 | 23 | Bottom Cross Member | 1 |
| 8 | Hook | 2 | 24 | Nut, M12 | 4 |
| 9 | Moving Cross Beam | 1 | 25 | Spring Washer, 12 | 4 |
| 10 | Nut, M6 | 1 | 26 | Washer, 12 | 4 |
| 11 | Socket Screw, M6 x 20 | 1 | 27 | Foot Rail | 2 |
| 12 | Washer, 6 | 1 | 28 | Bolt, M10 x 25 | 8 |
| 13 | Spring Washer, 6 | 1 | 29 | Bolt, M12 x 30 | 4 |
| 14 | Pressing Plates | 2 | 30 | Foot Brace | 4 |
| 15 | Pressing Bed | 2 | 31 | Handle | 1 |
| 16 | Bolt, M10 x 130 | 2 | 32 | Handle Sleeve | 1 |
GUARANTEE
This CLARKE product is guaranteed against faulty manufacture for a period of 12 months from the date of purchase. Please keep your receipt as proof of purchase.
This guarantee is invalid if the product is found to have been abused or tampered with in any way, or not used for the purpose for which it was intended.
Faulty goods should be returned to their place of purchase, no product can be returned to us without prior permission.
This guarantee does not affect your statutory rights.
DECLARATION OF CONFORMITY-UK
INTERNATIONAL
Heimdall Street, Epping, Essex CM16 4LG
DECLARATION OF CONFORMITY
This is an important document and should be retained.
We hereby declare that this product(s) complies with the following statuary requirement(s): “
Supply of Machinery (Safety) Regulations 2008
The following standards have been applied to the product(s):
EN 1494:2000+A1:2008, EN ISO 12100:2010
The technical documentation required to demonstrate that the product(s) meet(s) the requirement(s) of the aforementioned legislation has been compiled and is available for inspection by the relevant enforcement authorities.
The UKCA mark was first applied in: 2022
Product Description: 20 Tonne Economy Shop Press
Model number(s): CSA20EP
Serial /batch Number: N/A
Date of Issue: 19/07/2022
Signed:
DECLARATION OF CONFORMITY-EU
INTERNATIONAL
Fitzwilliam Hall, Fitzwilliam Place, Dublin 2
DECLARATION OF CONFORMITY
This is an important document and should be retained.
We hereby declare that this product(s) complies with the following directive(s):
2006/42/EC Machinery Directive
The following standards have been applied to the product(s):
EN 1494:2000+A1:2008, EN ISO 12100.2010
The technical documentation required to demonstrate that the product(s) meet(s) the requirement(s) of the aforementioned directive(s) has been compiled and is available for inspection by the relevant enforcement authorities.
The CE mark was first applied in: 2022
Product Description: 20 Tonne Economy Shop Press
Model number(s): CSA20EP
Serial/batch Number: N/A
Date of Issue: 19/07/2022
Signed: 

PARTS & SERVICE:
0208 988 7400
Parts Enquiries
Parts@clarkeinternational.com
Servicing & Technical Enquiries
[email protected]
SALES: UK 01992 565333 or Export 00 44 (0)1992 565335
INTERNATIONAL Hemnall Street, Epping, Essex CM16 4LG
www.clarkeinternational.com





Bolt the two halves of the pressing bed together using the long bolts with nuts and spacer tubes supplied.


















