Clarke CSA30FPB 30 Tonne Hydraulic Press

INTRODUCTION
Thank you for purchasing this CLARKE 30 Tonne Hydraulic Press. Before attempting to operate the machine, it is essential that you read this manual thoroughly and carefully follow all instructions given. In doing so you will ensure the safety of yourself and that of others around you, and you can also look forward to the press giving you long and satisfactory service.
GUARANTEE
This CLARKE product is guaranteed against faulty manufacture for a period of 12 months from the date of purchase. Please keep your receipt as proof of purchase. This guarantee is invalid if the product is found to have been abused or tampered with in any way, or not used for the purpose for which it was intended. Faulty goods should be returned to their place of purchase, no product can be returned to us without prior permission. This guarantee does not effect your statutory rights.
SAFETY SYMBOLS
- Hazard;-shattered workpiece
- Wear Safety Shoes
- Read the instruction manual before use
- Hazard:- crushed hands
- Wear safety glasses
- Wear protective gloves
The above safety symbols appear on the product.
SAFETY PRECAUTIONS
- Due to the weight of the press, lifting equipment and the help of an assistant will be required during installation. Secure the press to a firm level floor using suitable anchor bolts (not supplied).
- Before starting work, check for cracked welds, loose or missing bolts, a damaged screen (if fitted), or any structural damage. Do not operate if any of these conditions exist. Have repairs made only by your service center.
- Before work, always ensure that hydraulic hoses and couplings are completely sound.
- NEVER tamper with the press components or modify them. The safety valve is calibrated and sealed at the factory; do not attempt to change the setting.
- Use only the recommended hydraulic oil.
- The components of this press are designed to withstand the rated load. Do not substitute any other components or exceed the rated load of the press.
- Before applying pressure, ensure the workpiece is firmly secure and stable.
- ALWAYS clean up spills of hydraulic oil immediately as this can be dangerous in a workshop environment.
- DO NOT let any person who is unfamiliar with hydraulic presses use the press unless they are under direct supervision.
- Keep children and unauthorized personnel away from the work area.
- ALWAYS position the (optional) safety screen directly in front of the workpiece.
- ALWAYS apply the load under the center of the ram. Offset loads can damage the ram and may cause the workpiece to be ejected.
- ALWAYS ensure the workpiece is properly supported by the press bed.
- When using accessories such as pressing plates, be certain they are centered below the ram and are in full contact with the bed.
- Parts being pressed may shatter or be ejected from the press. Always use adequate guards, and wear eye protection and protective clothing when using this press.
- Keep hands and fingers away from parts that may pinch or shift.
- NEVER use extension tubes to increase the length of the pump handle. Excessive effort can cause damage and/or accidents.
- Wear approved impact safety goggles and heavy-duty work gloves.
- Failure to heed these warnings may result in damage to the equipment or serious personal injury.
UNPACKING & INVENTORY
Ensure the press and its components suffered no damage during transit and that all components are present. Should any loss or damage become apparent, please contact your CLARKE dealer immediately. The following items should be present in their packaging.
| A | Frame with pump assembly |
| B | Base Supports |
| C | Stay Bars |
| D | Oil reservoir |
| E | Pump assembly |
| F | Pump Handle |
| G | Foot Pedal |
| H | Ram cylinder |
| J | Pressure Gauge |
| K | Pressing Bed |
| L | Bed Support Pins |
| M | Retaining Butterfly Clips |
| N | Bed Blocks |
| P | Foot Pedal Connecting Bars |
| Fixing Kit (bolts, nuts, washers) | |
| 1.5L bottle of hydraulic oil |
ASSEMBLY
WARNING: DUE TO THE WEIGHT OF THE PRESS, LIFTING EQUIPMENT OR THE HELP OF AN ASSISTANT WILL BE REQUIRED DURING INSTALLATION.
TOOLS REQUIRED
- Wrench/socket set
- PTFE tape
- Hex key set
LOCATING THE PRESS
The press must be firmly secured to a firm and level floor using expansion bolts (not supplied). Holes are provided in the feet for this purpose. Do not locate your press where it will be open to the elements, as severe weather conditions will damage the hydraulic parts.
ASSEMBLY PROCEDURE
- With the help of an assistant, attach the base supports to the frame using the nuts, bolts, and washers.
- Add the stay bars to each side and bolt them into place.
- With the help of an assistant if required, lift the frame assembly upright and maneuver it to its intended location in the workshop.
- Install the ram by passing it through the top carriage and securing it with the retaining collar.
- Fit the carriage positioning handle to the front of the carriage using the hex bolts as shown.

- Remove the travel plug and install the pressure gauge.
- Fit the gauge through the frame and secure it with the nut supplied.
- We recommend sealing all threads with PTFE tape where hydraulic oil is to be contained. Take care not to let any oil escape while connecting the hoses.
- Connect the ram hose to the ram cylinder.

- 9. Bolt the foot pedal to the frame using the long bolt, spacer tube, nut and washers.

- Insert the bed support pins into the holes in the frame side supports at a height of your choosing. Secure them in position using the butterfly spring clips.
- Lift the pressing bed into position on the pins.
NOTE: Due to the weight of the bed, we recommend that you get assistance from another person. - Fill the oil reservoir with oil from the container supplied, up to the 1.5L mark.

PROTECTIVE SCREENS (OPTIONAL)
Protective screens (CPS30T part number 7615260) are available from your CLARKE dealer.
- If the protective screens have been purchased, bolt the mounting brackets supplied to the pressing bed as shown.
- Fit the protective screen to the pressing bed and ensure it can be set in one of the available positions using the latches on each side.

PREPARATION FOR USE
PURGING THE HYDRAULIC SYSTEM
- Insert the pump handle into the actuating lever.
- Open the release valve by turning anti-clockwise.
- Pump several full strokes to eliminate any air bubbles from the system. Use either the handle or the foot pedal.
- Close the release valve by turning clockwise.
POSITIONING THE RAM
- Slide the carriage along the cross-beam.
- Lock it in position with the four sprung locking bolts.
IMPORTANT: Always position the ram directly above the workpiece.
POSITIONING THE PRESSING BED
IMPORTANT: Due to the weight of the press bed, we recommend that you get assistance from another person when adjusting the bed height.
- Position the pressing bed so that it will be as close as possible to the ram when the workpiece is mounted on it.
- Raise one side of the bed and insert a bed supporting pin into the next locating hole.
- Repeat at the other end to level the bed.

- 4. Repeat until the bed is at the required height, with the bed supporting pins are secured using the spring butterfly clips.
CAUTION: THE BED HEIGHT SHOULD ONLY BE RAISED OR LOWERED ONE HOLE AT A TIME, WORKING ALTERNATELY FROM ONE SIDE AND THEN THE OTHER, FAILURE TO WORK IN THIS WAY MAY CAUSE THE BED TO FALL AND CAUSE INJURY TO THE OPERATOR.
POSITIONING THE PRESSING BLOCKS
The bed blocks can be placed on the bed with either the flat face or the V-supports facing upwards. They are prevented from slipping out of position by the retaining pins which drop down within the confines of the bedside members. Check all parts are secure and correctly aligned before using the press.
OPERATION
- Place the workpiece on the bed. It must be completely stable and supported by packing or shims where required. Pressing plates (bed blocks) are supplied, which are located on the bed. Place the workpiece on these to give it stability.
CAUTION: DO NOT POINT LOAD SUCH ACCESSORIES AS THEY ARE NOT DESIGNED TO TAKE THE FULL FORCE OF THE RAM IN ONE SPOT. ENSURE THEY ARE ADEQUATELY SUPPORTED.
NOTE: Any packing pieces or shims used MUST be capable of withstanding the pressure that will be brought to bear, and MUST be of sufficient size with sufficient surface area, so as to avoid the possibility of slipping or springing out. Mating surfaces MUST be horizontal so that the force being exerted will NOT be at an angle. - Close the release valve by turning clockwise until tightly closed.
- Select either SLOW SPEED or FAST SPEED using the knob on the side of the pump cover.
NOTE: Fast speed allows faster movement but greater effort will be required. - Pump the handle or foot pedal to bring the ram very lightly into contact with the workpiece.
- Maneuver the workpiece or loosen the locking bolts and slide the ram to one side so that the desired point of contact is directly beneath the center of the ram.
- Slowly pump the handle or foot pedal so that the ram begins to exert pressure on the workpiece.
- Continue to pump the handle and constantly monitor the process, ensuring the ram and work remain completely in line and there is no risk of slipping.
- KEEP HANDS AND FINGERS AWAY FROM PARTS THAT MAY PINCH OR SHIFT
- Observe the reading on the pressure gauge and take care not to exceed the rated working pressure of the press.
NOTE: The scale from 30 metric tonnes upward is highlighted in red, indicating pressure being applied above the rated maximum working pressure. - When the pressing task is complete, turn the release valve anticlockwise in small increments to release ram pressure and allow removal of the workpiece.
TROUBLESHOOTING
| Problem | Probable Cause | Remedy |
| The pump will not work. | Dirt on valve seat/worn seals. | Bleed pump unit or have unit overhauled with new seals by your dealer. |
| The pump will not produce pressure. The pump feels hesitant under load. | Air-lock. | Open the release valve and pump the handle a couple of full strokes. Close the release valve. |
| The pump feels hesitant under load. | The pump cup seal could be worn out. | Have the cup seal replaced by your dealer? |
| The pump will not lower completely. | Air-lock. | Release air by removing the filler plug. |
MAINTENANCE
ROUTINELY
A visual inspection must be made before each use of the press, checking for leaking hydraulic fluid and damaged, loose, or missing parts. Owners and/or users should be aware that the repair of this equipment requires specialized knowledge and facilities. It is recommended that a thorough annual inspection of the press is made and that any defective parts be replaced with genuine CLARKE parts. If the press appears to be damaged in any way, is found to be badly worn, or operates abnormally SHOULD BE REMOVED FROM SERVICE until the necessary repairs are made. If the press is not to be used for any length of time, store it with the ram piston withdrawn to protect the surface of the moving parts.
PERIODICALLY
Check the press to make sure all bolts are tight and inspect for cracked welds, bent, loose or missing parts. Clean any foreign material from the ram carrier. Keep the protective screen (if fitted) clean at all times. Check the hydraulic connections for leaks. Replace or properly repair any damaged or leaking hydraulic components before using. Note any loss of oil and if oil is seen to become foul, replace using CLARKE hydraulic oil, Part No. 3050830. If any rust is apparent on the structure it must be removed completely and the paint restored.
DISPOSAL OF UNWANTED MATERIALS
One of the most damaging sources of environmental pollution is oil products. Never throw away used oil with domestic refuse or flush it down a sink or drain. Collect any oil in a leak-proof container and take it to your local waste disposal site. Should hydraulic components become completely unserviceable and require disposal, draw off the oil into an approved container and dispose of the product and the oil according to local regulations.
TECHNICAL SPECIFICATIONS
| Capacity | 30 Tonne (30,000 kg) |
| Hose Operating Pressure | 68 Mpa |
| Ram Travel | 215 mm |
| Ram Shaft Diameter | 54 mm |
| Net Weight | 135 kg |
| Dimensions D x W x H | 760 x 560 (exc pump) x 1700 mm |
| Throat Width | 510 mm |
| No of bed positions | 10 |
| Throat Depth (Ram to pressing plate) | Platform at highest;- 0 mm Platform at middle;- 250 mm Platform at lowest;- 940 mm |
| Ram travel per stroke | 4.54 mm |
| No of strokes to full extension | 31 |
| Pressure Gauge type | Accuracy class 2.5 |
| Pressure Gauge range | 0-45 tonnes |
| Length of Handle | 930 mm |
| Pump oil capacity | 1.2 litres |
| Oil type | VG13 |
DECLARATION OF CONFORMITY

RAM PARTS DIAGRAM

| NO | DESCRIPTION |
| 1 | Spacing ring |
| 2 | Screw M6x6 |
| 3 | Y-ring |
| 4 | Back ring |
| 5 | O-ring |
| 6 | Nylon ring |
| 7 | Piston ring |
| 8 | O-ring |
| 9 | Ring |
| 10 | Piston |
| 11 | Screw |
| 12 | Sealing washer |
| NO | DESCRIPTION |
| 13 | Bolt M8x10 |
| 14 | Guide ring |
| 15 | Upper collar |
| 16 | Toe |
| 17 | Lower securing collar |
| 18 | Bolt |
| 19 | Coupling |
| 20 | Dust cap |
| 21 | Cylinder |
| 22 | Spring |
| 23 | Nut M8 |
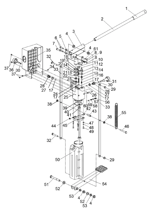
GENERAL ASSEMBLY PARTS DIAGRAM

GENERAL ASSEMBLY PARTS LIST
| NO | DESCRIPTION |
| 1 | Bolt M10 x 110mm |
| 2 | Spring |
| 3 | Roller shaft |
| 4 | Bearing |
| 5 | Circlip |
| 6 | Cylinder fixing plate |
| 7 | Cylinder moving handle |
| 8 | Spring washer 8mm |
| 9 | Bolt M8x10mm |
| 10 | Bolt M10 x 25mm |
| 11 | Washer 10mm |
| 12 | Spring washer 10mm |
| 13 | Nut M10 |
| 14 | Butterfly spring clip |
| 15 | Stay bar |
| 16 | Bolt M12 x 25mm |
| 17 | Base section |
| 18 | Frame |
| 19 | Washer 12mm |
| 20 | Spring washer 12mm |
| 21 | Nut M12 |
| 22 | Cylinder assembly |
| 23 | Protecting ring |
| 24 | Securing collar |
| NO | DESCRIPTION |
| 25 | Pressure gauge |
| 26 | Sealing ring |
| 27 | Gauge connector |
| 28 | Joining piece |
| 29 | Hydraulic hose |
| 30 | Gauge connecting nut |
| 31 | O-ring |
| 32 | T- connector |
| 33 | Straight connector |
| 34 | Pressing block |
| 35 | Bed frame |
| 36 | Bed frame pin |
| 37 | Hydraulic hose |
| 38 | Hose fixing sleeve |
| 39 | Rivet |
| 40 | Hose mounting plate |
| 41 | Handle |
| 42 | Washer 14 |
| 43 | Spring washer 14 |
| 44 | Nut M14 |
| 45 | Tie bar |
| 46 | Pump peddle |
| 47 | Pedal pad |
| 48 | Screw |
PUMP PARTS DIAGRAM

PUMP PARTS LIST
| NO | DESCRIPTION |
| 1 | Handle Sleeve |
| 2 | Handle |
| 3 | Handle Socket |
| 4 | Nut M14 |
| 5 | Connector |
| 6 | Connector pin |
| 7 | Handle socket pin |
| 8 | Torsion spring bolt A |
| 9 | Torsion spring bolt B |
| 10 | High pressure oil plug |
| 11 | O-ring 5 x 1.8 |
| 12 | Hose connector |
| 13 | High pressure washer |
| 14 | High pressure oil spring |
| 15 | Steel ball 13.5mm |
| 16 | Low pressure oil sucking spring |
| 17 | Steel ball 9.5mm |
| 18 | Pump core |
| 19 | Star O-ring |
| 20 | Pump core back ring |
| 21 | Pump core O-ring |
| 22 | Pump core sleeve |
| 23 | Pump core Y-ring |
| 24 | High pressure oil sucking spring |
| 25 | Base unit |
| 26 | Support rod |
| 27 | Oil return sleeve copper pad |
| 28 | Return valve stem sleeve |
| 29 | Lock nut M10 |
| 30 | O-ring 5.7 x 1.9 |
| 31 | Oil release stem part |
| NO | DESCRIPTION |
| 32 | Bolt M10 x 70 |
| 33 | Connecting rod |
| 34 | Cap nut M5 |
| 35 | Plastic protective shell |
| 36 | Speed regulator valve part |
| 37 | X-headed screw M5x8 |
| 38 | Nut M10 |
| 39 | O-ring |
| 40 | End Ring |
| 41 | Oil pick-up pipe assembly |
| 42 | Shaft M6 x 25 |
| 43 | Bush |
| 44 | Lock nut M6 |
| 45 | Hoop |
| 46 | Shaft M10x80 |
| 47 | Flat washer 6mm |
| 48 | Spring washer |
| 49 | Inner hex bolt M6 x 16 |
| 50 | Oil reservoir |
| 51 | Reformed bolt |
| 52 | Flat washer 14 |
| 53 | Spring washer 14 |
| 54 | Foot pedal |
| 55 | Tension spring |
| 56 | Pressure regulating screw |
| 57 | O-ring |
| 58 | Pressure regulating spring |
| 59 | Spring base |
| 60 | Steel ball 3mm |
| 61 | Flat washer 10 |
| 62 | Flat washer 12 |







NOTE: Fast speed allows faster movement but greater effort will be required.
















