Chicago Pneumatic CP86000 Series Hydraulic Press

Product Information
- Product Name: CP86150 / CP86200 / CP86300 / CP86500 Hydraulic Press
- Model Numbers: CP86150, CP86200, CP86300, CP86500
- Manufacturer: Unknown
- Weight: CP86150 – 15,000 kg, CP86200 – 20,000 kg, CP86300 – 30,000 kg, CP86500 – 50,000 kg
- Maximum Pressure: CP86150 – 160 MPa, CP86200 – 186 MPa, CP86300 – 200 MPa, CP86500 – 245 MPa
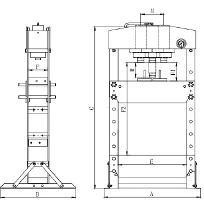
- Technical Data: A, B, C, F, E, F1, F2, R, M oil (measurement values in mm), Weight (in kg), Maximum Pressure (in MPa)
Product Usage Instructions
- Safety Precautions:
- Before using, installing, repairing, maintaining, changing accessories, or working near the hydraulic press, read and understand the instructions provided in the manual and the separately provided safety instructions (part number 8940170883).
- Ensure that all operators wear protective clothing, gloves, safety helmet, shoes, and ear protectors during operation.
- Maintain a clear working area of at least 1 meter in front of and behind the machine while it is in operation.
- Always be aware of any ongoing work on the machine and stay focused on the task at hand.
- Assembly and Mounting:
- Ensure that the table is at the proper position and lock it firmly using 4 pins (refer to Fig.15).
- The V-block must be used in pairs.
- Operation:
- Only one person is allowed to operate the hydraulic press.
- Use the single hand-wheel to control the release valve and switch between fast and slow speed.
- Make sure the ram is working properly and reset when the release valve is opened.
- The operator should be cautious and follow the designated instructions while operating the press.
- Maintenance:
- Do not use the hydraulic press if it is damaged or deformed.
- In case of abnormal noise or vibration, stop using it immediately and inspect it.
- Contact the manufacturer for assistance.
- Regularly inspect and maintain the hydraulic press as recommended by the manufacturer or supplier’s authorized repair facility.
- Keep the hydraulic system clean to prevent dirt from causing failures.
- Troubleshooting:
- If the pump is working but the ram does not work, check for loose oil pipes or leaks in the ram.
- If the ram cannot reset when the release valve is opened, check for loose oil pipes, insufficient space in the pump, or invalid ram.
- If the ram does not work properly even though the manual operation is normal, check if the release valve is fully closed and if there is air in the system.
- If the ram cannot fully work, check if there is enough oil in the system.
- If there is oil leaking, check for broken seal kits or loose screw parts.
Note: The information provided above is based on the text-extract from the user manual.
For detailed and up-to-date information, please visit the manufacturer’s website at www.cp.com.
WARNING
To reduce risk of injury, everyone using, installing, repairing, maintaining, changing accessories on, or working near this tool must read and understand these instructions, as well as separately provided safety instructions part number 8940170883, before performing any such task.
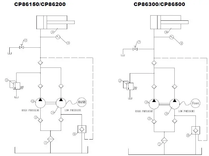
| Designation | CP86150 CP86300 | CP86200 | CP86500 | |
| 1 | 1 | 1 | 1 | |
| 2 | Non-return valve | 1 | 1 | 1 |
| 3 | High pressure pump1 | 1 | 1 | 1 |
| 4 | Low pressure pump1 | 1 | 1 | 1 |
| 5 | 1 | 1 | 1 | |
| 6 | Control valve | 1 | 1 | 1 |
| 7 | Unloading valve | 1 | 1 | 1 |
| 8 | Manometer | 1 | 1 | 1 |
| 9 | Oil cylinder | 1 | 1 | 1 |
Technical Data (See right figure)
| Dimension | CP86150 | CP86200 | CP86300 | CP86500 | |
| capacity | [kg] | 15 000 | 20 000 | 30 000 | 50 000 |
| A | [mm] | 700 | 740 | 795 | 1030 |
| B | [mm] | 540 | 700 | 700 | 800 |
| C | [mm] | 882 | 1772 | 1772 | 1830 |
| F | [mm] | 120 | 132 | 140 | 207 |
| E | [mm] | 500 | 510 | 535 | 730 |
| F1 | [mm] | 157 | 185 | 151 | 68 |
| F2 | [mm] | 457 | 1175 | 1031 | 1048 |
| R | [mm] | 160 | 186 | 160 | 200 |
| M | [mm] | / | / | 200 | 245 |
| oil | [l] | 0,6 | 0,95 | 1,1 | 2,5 |
| Weight | [kg] | 75,5 | 105 | 166,7 | 298 |
| max. pressure | [MPa] | 61 | 69 | 58 | 62 |


- All values are current as of the date of this publication. For the latest information please visit www.cp.com.
Machine type(s)
- The machinery described is intended for machinery production and assembling spare parts. It is used to press, size, assemble, rivet small parts in process No other use permitted. For professional use only.
- Please read the instructions carefully before starting the machine.
Mounting instruction
Make sure every parts are fixed and tightened.
- Attach the base section to the frame (Fig.03) and support to left and right connecting plate. (Fig. 04)


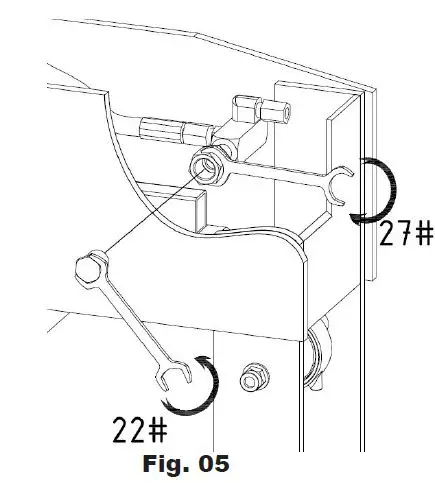
- Assemble the nylon ring to gauge fitting, then put the pressure gauge and twist tight. (Fig. 05/06)


- Remark: twist as tight as possible, otherwise it will be leak. Attach the gauge fitting to the suitable upper cross beam and twist bolt.
- Assemble pump to the frame and hose kit to the pump Fig. 07 (CP86150), Fig. 09 (CP86200), Fig. 11 (CP86300 & CP86500).




- Insert the complete handle into the opening of the lever support.
- During moving the machine, make sure to use the proper lifting equipment and follow the instructions in document 8940174875 <INSTRUCTIONS FOR MOVING THE TABLE>
- Main structures of PRESS include Pin, Feet, V-Block, Table, Frame. (Fig. 02)

Caution Working area of 1 m must be kept free both in front of and behind the machine while it is in operation so that it is always easily accessible (Fig.12)
- Be careful then use the PESS, SAFETY INSTRUCTIONS in document 8940174875 .(Fig.14)
Purge air from the hydraulic system:- Open the air valve by turning it counterclockwise and purge the air bleed valve (Fig. 09)

- Pump several full stokes to eliminate any air in the system.
- Open the air valve by turning it counterclockwise and purge the air bleed valve (Fig. 09)
Operation
- Caution Ensure table at proper position and lock the table by 4 pins firmly. (Fig.15)

- Close the release valve, by turning it clockwise.
Note : Press has an Automatic 2-speed hydraulic pump, equipped with an automatic valve instead of an control valve. - Pump the handle/foot pedal until serrated saddle nears workpiece.
- Align workpiece and ram to ensure center loading.

Caution A single hand-wheel controls the release valve, the switching between fast and slow speed can be done automatically
- Pump the handle/foot pedal to apply load onto workpiece (see numeration in pressure gauge).
- When work is done, stop pumping, slowly and carefully remove load from workpiece by turning the release valve counterclockwise in small increments.(must turn with the small angle)
- Once ram has fully retracted, remove workpiece from table.
- Warning: The V-block must be used by pair, not by piece!
- Warning: Only one person is allowed to operate the press.
- Warning: Make sure that the operator must wear protective cloth, gloves, safety helmet, shoes and ear protector during operating.
- Warning: To avoid accidents, always be aware of any on-going work on the machine. Also, always stay focused on the job to be done.
Maintenance instruction
Caution: Do not use damaged/deformed product. If abnormal noise or vibration occurs, stop use immediately, then inspect and ask manufacturer for help. It is recommended that this inspection be made by a manufacturer’s or supplier’s authorized repair facility.
The greatest single cause of failure in hydraulic units is dirt.
- Keep the service press clean and well lubricated to prevent foreign matter from entering the system. If the press has been exposed to rain, snow, sand, or grit, it must be cleaned before it is used.
- Store the press, with pistons completely retracted, in a well-protected area where it will not be exposed to corrosive vapors, abrasive dust, or any other harmful elements.
- Periodically check the condition of the product.
- Store the product in dry and non-corrosion environment.
- Owners and/or operators should be aware that repair of this equipment may require specialized knowledge and facilities. It is recommended that an annual inspection of the product be made by a manufacturer’s or supplier’s authorized repair facility and that any defective parts, decals, or safety labels or signs be replaced with manufacturer’s or supplier’s specified parts. A list of authorized repair facilities is available from the manufacturer or supplier, please call them for help.
- Any product that appears to be damaged in any way, is found to be worn, or operates abnormally SHALL BE REMOVED FROM SERVICE UNTIL REPAIRED. It is recommended that necessary repairs be made by a manufacturer’s or supplier’s authorized repair facility if repairs are permitted by the manufacturer or supplier.
- Only attachments and/or adapters supplied by the manufacturer shall be used.
Trouble Shooting
| Fault | Cause | Remedy |
| The pump is working, while the ram can’t work | The oil pipe loosed the ram is leaking | 1.Checking the connecting situation of oil pipes, replace the oil seals |
| When open release vavle, the ram can’t reset |
|
|
| Manual normal, while ram can’t work | Release valve not complete closed 2.air in system |
|
| The ram can’t fully work | 1.The oil is not enough | 1.Add oil |
| Oil leaking |
|
|
EC Declaration of conformity
- We : CHICAGO PNEUMATIC Tool Co. LLC 1815 Clubhouse Road, SC 29730 – USA
- Declare that the product(s): CP86150/CP86200/CP86300/CP86500
- Serial Number: 00001 – 99999
- Machine type(s): Hydraulic press
- Origin of the product: China is in conformity with the requirements of the council Directives on the approximation of the laws of the Member
- States relating : to “Machinery“ 2006/42/EC (17/05/2006)
- applicable harmonised standard(s) : EN ISO 16092-1, -3 :2018
- Name and position of issuer: PASCAL ROUSSY ( R&D Manager)
- Place & Date: Saint-Herblain, 29/08/2022
- Technical file available from EU headquarter. Pascal Roussy, R&D manager LLC CP Techno center 38, rue Bobby Sands – BP10273 44800 Saint Herblain – France


Copyright 2022, Chicago Pneumatic Tool Co. LLC All rights reserved. Any unauthorized use or copying of the contents or part thereof is prohibited. This applies in particular to trademarks, model denominations, part numbers and drawings. Use only authorized parts. Any damage or malfunction caused by the use of unauthorized parts is not covered by Warranty or Product Liability. Original Instructions The design has been validated according to: ASME ASP-2014










Purge air from the hydraulic system:






















