
Safety Information
Printed Matter No. 6151820061
Date: 2022-06 Issue No. 01
Screwdriver
Model: CP2810 CP2811 CP2812 CP2814 CP2822 CP2824
© Chicago Pneumatic – 6151820061
CP2800 Series Screwdriver
![]() | WARNING |
| To reduce risk of injury, everyone using, installing, repairing, maintaining, changing accessories on, or working near this tool MUST read and understand these instructions before performing any such task. |
Pneumatic Screwdriver
Pistol Screwdriver : CP2810 / CP2811 / CP2812 / CP2814
Illustration 1: CP2810 / CP2811 / CP2812 / CP2814
| CP2810 | CP2811 | CP2812 | CP2814 | |
| Free Speed Air Consumption (l/s) | 5.6 | 5.6 | 8.4 | 6.5 |
| Free Speed Air Consumption (cfm) | 11.9 | 11.9 | 17.8 | 17.8 |
| Maximum Working Torque (Nm) | 4.5 | 12 | 11 | 4.3 |
| Maximum Working Torque (ft.lbs) | 3.3 | 8.9 | 8.1 | 3.17 |
| Air Inlet Thread Size (“) | 1/4 BSP | 1/4 BSP | 1/4 BSP | 1/8 BSP |
| Air Inlet Thread Type | BSP | BSP | BSP | BSP |
| Free Speed | 2400 | 750 | 950 | 1100 |
| Sound Pressure Level (db(A)) | 83 | 83 | 82 | 76 |
| Sound Power Level (db(A)) | 94 | 94 | 93 | 87 |
| Vibration Level (ahd (m/s2)) | <2.5 | <2.5 | <2.5 | <2.5 |
| Net Weight (Kg) | 0.8 | 0.9 | 1.1 | 0.8 |
| Net Weight (lbs) | 1.8 | 2 | 2.4 | 1.8 |
| Length (“) | 7.2 | 8 | 7.2 | 7.2 |
| Length (mm) | 183 | 204 | 232 | 182 |
| Height (“) | 6.3 | 6.3 | 6.3 | 5.6 |
| Height (mm) | 160 | 160 | 160 | 143 |
| Width (“) | 1.9 | 1.9 | 1.9 | 1.3 |
| Width (mm) | 49 | 49 | 49 | 34 |
Table 1: Pistol Screwdriver
Maximum working pressure at free speed is 6.3 bar / 90 psig.
Straight Screwdriver : CP2822 / CP2824
Illustration 2: CP2822 / CP2824
| CP2822 | CP2824 | |
| Free Speed Air Consumption (l/s) | 4 | 6 |
| Free Speed Air Consumption (cfm) | 8.5 | 12.7 |
| Maximum Working Torque (Nm) | 6 | 1.6 |
| Maximum Working Torque (ft.lbs) | 4.4 | 1.2 |
| Air Inlet Thread Size (“) | 1/4 BSP | 1/4 BSP |
| Air Inlet Thread Type (“) | BSP | BSP |
| Free Speed | 1300 | 1500 |
| Sound Pressure Level (db(A)) | 83 | 73 |
| Sound Power Level (db(A)) | 94 | – |
| Vibration Level (ahd (m/s2)) | <2.5 | <2.5 |
| Net Weight (Kg) | 0.9 | 0.9 |
| Net Weight (lbs) | 2 | 2 |
| Length (“) | 9.8 | 8.7 |
| Length (mm) | 250 | 230 |
| Height (“) | 1.5 | 1.5 |
| Height (mm) | 37 | 38 |
| Width (“) | 1.5 | 1.5 |
| Width (mm) | 37 | 38 |
Table 2: Straight Screwdriver
Maximum working pressure at free speed is 6.3 bar / 90 psig.
Air Diagrams
Illustration 3: CP2810 / CP2811 / CP2812 / CP2814
Illustration 4: CP2822 / CP2824
Regulatory Compliance Markings
Illustration 5: CP2810 / CP2811 / CP2812
Illustration 6: CP2814
Illustration 7: CP2822 / CP2824
Trigger Function
Illustration 8: CP2810 / CP2811 / CP2812 / CP2814
Illustration 9: CP2822 / CP2824
Reversing the Rotation
Illustration 10: CP2810 / CP2811 / CP2812 / CP2814 / CP2822 / CP2824
Reverse Air Direction
Illustration 11: CP2810 / CP2811 / CP2812
Safety Information
Technical Data
Tool Data
| Free speed (rpm) | Weight (kg) | Weight (lb) | |
| CP2810 | 2400 | 0.8 | 1.8 |
| CP2811 | 750 | 0.9 | 2 |
| CP2812 | 950 | 1.1 | 2.4 |
| CP2814 | 1100 | 0.8 | 1.8 |
Table 3: Pistol Screwdriver
Maximum working pressure at free speed is 6.3 bar / 90 psig.
| Free speed (rpm) | Weight (kg) | Weight (lb) | |
| CP2822 | 1300 | 0.9 | 2 |
| CP2824 | 1500 | 0.9 | 2 |
Table 4: Straight Screwdriver
Maximum working pressure at free speed is 6.3 bar / 90 psig.
Additional Accessories
For the below models, a side handle must be used if the torque exceeds 10 Nm for a pistol screwdriver and 4 Nm for a straight screwdriver.
| Model | Side Handle Part Number |
| CP2810 | 6.15E+09 |
| CP2811 | 6.15E+09 |
| CP2812 | 6.15E+09 |
| CP2822 | 6.15E+09 |
Declarations
EU Declaration of Conformity
We, CHICAGO PNEUMATIC Tool Co.LLC,
1815 Clubhouse Road, Rock Hill, SC 29730 USA, declare under our sole responsibility that the product (with name, type and serial number, see front page) is in conformity with the following
Directive(s): 2006/42/EC
Harmonized standards applied: EN 11148-6:2012
Authorities can request relevant technical information from Pascal Roussy, R&D Manager, Ets Georges Renault, 38 rue Bobby Sands, BP10273 44818 Saint Herblain, France
Saint-Herblain, 2022/05/25 Pascal ROSSY Signature of the issuer 
UK Declaration of Conformity
We CHICAGO PNEUMATIC Tool Co.LLC,
1815 Clubhouse Road, Rock Hill, SC 29730 USA, declare under our sole responsibility that the product (with name, type and serial number, see front page) is in conformity with the following UK
Regulation(s): Supply of Machinery (Safety) Regulations 2008
Designated Standards applied: EN 11148-6:2012
Saint-Herblain, 2022/05/25
Pascal ROSSY
Signature of issuer 
Authorities can request relevant technical information from:
UK Authorized Representative: Air Compressors & Tools Ltd Zodiac – Unit 4, Boundary way
Hemel Hempstead Industrial Estate, HP27SJ Hempstead Hertfordshire – UK
Contact: M.Taylor
Noise and Vibration Declaration Statement
Sound Level – ISO 15744
| Model | LpA dB(A) | LWA dB(A) |
| CP2810 | 83 | 94 |
| CP2811 | 83 | 94 |
| CP2812 | 82 | 93 |
| CP2814 | 76 | 87 |
| CP2822 | 83 | 94 |
| CP2824 | 73 | – |
LpA dB(A): sound pressure level
LWA dB(A): sound power level
K / KpA = KWA = 3 dB: uncertainty
Vibration Level -ISO 28927-2
| ahd (m/s2) | K (m/s | |
| All Models | <2.5 | – |
ahd, ah: vibration levels
These declared values were obtained by laboratory-type testing in accordance with the stated standards and are suitable for comparison with the declared values of other tools
tested in accordance with the same standards. These declared values are not adequate for use in risk assessments and values measured in individual workplaces may be higher. The actual exposure values and risk of harm experienced by an individual user are unique and depend upon the way the user works, the workpiece and the workstation design, as
well upon the exposure time and the physical condition of the user.
We, CHICAGO PNEUMATIC Tool Co.LLC, cannot be held liable for the consequences of using the declared values, instead of values reflecting the actual exposure, in an individual risk assessment in a workplace situation over which we have no control.
This tool may cause hand-arm vibration syndrome if its use is not adequately managed. An EU guide to managing hand-arm vibration can be found by accessing
http://www.pneurop.eu/index.php and select ‘Tools’ then ‘Legislation’.
We recommend a program of health surveillance to detect early symptoms which may relate to noise or vibration exposure, so that management procedures can be modified to help prevent future impairment.
If this equipment is intended for fixtured applications: The noise emission is given as a guide to the machine builder. Noise and vibration emission data for the complete machine should be given in the instruction manual for the machine.
Information regarding Article 33 in REACH
The European Regulation (EU) No. 1907/2006 on Registration, Evaluation, Authorization and restriction of Chemicals (REACH) defines among other things requirements related to communication in the supply chain. The information requirement applies also to products containing so-called Substances of Very High Concern (the “Candidate List”). On 27 June 2018 lead metal (CAS nr 7439-92-1) was added to the Candidate List.
In accordance with the above this is to inform you that certain mechanical components in the product may contain lead metal. This is in compliance with current substance
restriction legislation and based on legit exemptions in the RoHS Directive (2011/65/EU). Lead metal will not leak or mutate from the product during normal use and the concentration of lead metal in the complete product is well below the applicable threshold limit. Please consider local requirements on the disposal of lead at product’s end of life.
Regional Requirements
WARNING
This product can expose you to chemicals including lead, which is known to the State of California to cause cancer and birth defects or other reproductive harm. For more information go to https://www.p65warnings.ca.gov/
Safety
DO NOT DISCARD – GIVE TO THE USER
WARNING Read all safety warnings, instructions, illustrations, and specifications provided with this product.
Failure to follow all instructions listed below may result in electric shock, fire, property damage, and/or serious injury.
Save all warnings and instructions for future reference.
WARNING
All locally legislated safety rules regarding installation, operation, and maintenance shall be respected at all times.
Statement of Use
- For professional use only.
- This product and its accessories must not be modified in any way.
- Do not use this product if it has been damaged.
- If the product data or hazard warning signs on the product cease to be legible or become detached, replace them without delay.
- The product must only be installed, operated, and serviced by qualified personnel in an industrial environment.
Intended Use
This product is designed for installing and removing threaded fasteners in wood, metal or plastic. Indoor use only.
No other use permitted.
The use of spare parts or accessories other than those originally supplied by the manufacturer may result in a drop in performance and in increased maintenance, noise level or vibrations, and as a result, the full cancellation of the manufacturer’s liability.
Product Specific Instructions
Product Description
Illustration 12: CP2810 / CP2811 / CP2812
| Item | Description |
| 1 | Quick Change Chuck |
| 2 | Trigger |
| 3 | Reverse Rotation Button |
| 4 | Adjustable Air Exhaust |
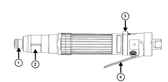
Illustration 13: CP2814
| Item | Description |
| 1 | Quick Change Chuck |
| 2 | Torque Adjustment Access |
| 3 | Trigger |
| 4 | Reverse Rotation Button |
Illustration 14: CP2822 / CP2824
| Item | Description |
| 1 | Quick Change Chuck |
| 2 | Torque Adjustment Access |
| 3 | Reverse Rotation Button |
| 4 | Trigger |
Installing the Tool
- Fix the accessories properly to the tool.
- Connect the tools as shown in the section Air Diagram [Page 4].
Starting the Tool
WARNING Operation Hazard Before starting the tool, make sure the tool is properly connected to the pneumatic supply.
- Check the pneumatic connection.
- Refer air diagram.
Installing the Bit
- Pull the quick change chuck (1) from the tool (2).
- Position the bit (3).
- Insert bit (3) to the tool (2).
- Push the quick change chuck (1) to the tool (2).
- Make sure the quick change chuck (1) is installed properly.
Pressing the Trigger
For CP2810 / CP2811 / CP2812 / CP2814
To operate the push-to-start tool:
- Apply pressure on the bit while the tool is in operation against the object.
- Press the trigger of the tool.

Illustration 15: CP2822 / CP2824
| A | Trigger OFF |
| B | Trigger ON |
Adjusting the Torque
For CP2812 / CP2814
- Slide torque adjustment access cover (1) up.
- Insert a stem (2).
- Insert Allen key (3) of size 6.35 mm to adjust the torque.
- Slide torque adjustment access cover (1) down.
For CP2822
- Rotate torque adjustment access cover (2) to access slot.
- Insert a stem (1).
- Insert Allen key (3) of size 6.35 mm to adjust the torque.
- Rotate the torque adjustment access cover (2) to its original position.
For CP2824

- Rotate torque adjustment access cover (2) to access slot.
- Insert clutch setting screwdriver (1) to adjust the torque.
- Rotate the torque adjustment access cover (2) to its original position.
General safety instructions
Air supply and connection hazards
- Air under pressure can cause severe injury.
- Always shut off the air supply, drain the hose of air pressure, and disconnect the tool from the air supply when not in use, before changing accessories or when making repairs.
- Never direct air at yourself or anyone else.
- Whipping hoses can cause severe injury. Always check for damaged or loose hoses and fittings.
- Do not use quick disconnect couplings at the tool. See the instructions for the correct setup.
- Whenever universal twist couplings are used, lock pins must be installed.
- Do not exceed the maximum air pressure of 6.3 bar / 90 PSIG, or as stated on the tool nameplate.
Entanglement hazards
- Keep away from rotating drive. Choking, scalping and/or lacerations can occur if loose clothing, gloves, jewelry, neck ware and hair are not kept away from tool and accessories.
- Gloves can become entangled with the rotating drive, causing severed or broken fingers.
- Rotating drive sockets and drive extensions can easily entangle rubber-coated or metal-reinforced gloves.
- Do not wear loose-fitting gloves or gloves with cut or frayed fingers.
- Never hold the drive, socket or drive extension.
Projectile hazards
- Always wear impact-resistant eye and face protection when involved with or near the operation, repair or maintenance of the tool or changing accessories on the tool.
- Be sure all others in the area are wearing impact-resistant eye and face protection. Even small projectiles can injure eyes and cause blindness.
- Serious injury can result from over-torqued or under-torqued fasteners, which can break, or loosen and separate. Released assemblies can become projectiles.
Assemblies requiring a specific torque must be checked using a torque meter. - NOTE So-called “click” torque wrenches do not check for potentially dangerous over-torqued conditions.
- Do not use hand sockets. Use only power or impact sockets in good condition.
- Ensure that the workpiece is securely fixed.
Operating hazards
- Disconnect the air supply before handling the screwdriver bit or socket, adjusting the clutch or dismantling the tool.
- Operators and maintenance personnel must be physically able to handle the bulk, weight, and power of the tool.
- Hold the tool correctly: be ready to counteract normal or sudden movements – have both hands available.
- Immediately after adjusting the clutch, check for correct operation.
- Do not use with reduced air pressure or in a worn condition: the clutch may not operate, resulting in sudden rotation of the tool handle.
- Always support the tool’s handle securely, in the direction opposite to the spindle rotation, to reduce the effect of sudden torque reaction during final tightening and initial loosening.
- If possible, use a suspension arm to absorb the reaction torque. If that is not possible, side handles are recommended for straight-case and pistol-grip tools; reaction bars are recommended for angle nutrunners. In any case, it is recommended to use a means to absorb the reaction torque above 4 Nm (3 lb. ft) for straight-case tools, above 10 Nm (7.5 lb. ft) for pistol-grip tools, and above 60 Nm (44 lb. ft) for angle nutrunners.
- Fingers can be crushed in open-ended crow-foot nutrunners.
- Do not use in confined spaces: beware of crushing hands between the tool and workpiece, especially when unscrewing.
Repetitive motion hazards
- When using a power tool to perform work-related activities, the operator might experience discomfort in the hands, arms, shoulders, neck, or other parts of the body.
- Adopt a comfortable posture whilst maintaining secure footing and avoiding awkward or off-balance postures. Changing posture during extended tasks can help avoid discomfort and fatigue.
- Do not ignore symptoms such as persistent or recurring discomfort, pain, throbbing, aching, tingling, numbness, burning sensation, or stiffness. Stop using the tool, tell your employer and consult a physician.
Noise and Vibration Hazards
- High sound levels can cause permanent hearing loss and other problems such as tinnitus. Use hearing protection as recommended by your employer or occupational health and safety regulations.
- Exposure to vibration can cause disabling damage to the nerves and blood supply of the hands and arms. Wear warm clothing and keep your hands warm and dry. If numbness, tingling, pain, or whitening of the skin occurs, stop using the tool, tell your employer and consult a physician.
- Hold the tool in a light but safe grip because the risk from vibration is generally greater when the grip force is higher. Where possible use a suspension arm or fit a side handle.
- To prevent unnecessary increases in noise and vibration levels:
- Operate and maintain the tool, and select, maintain and replace the accessories and consumables, in accordance with this instruction manual;
- Do not use worn or ill-fitting screwdriver bits, sockets, or extensions.
Workplace hazards
- Slip/Trip/Fall is a major cause of serious injury or death. Be aware of excess hose left on the walking or work surface.
- Avoid inhaling dust or fumes or handling debris from the work process which can cause ill health (for example, cancer, birth defects, asthma and/or dermatitis). Use dust extraction and wear respiratory protective equipment when working with materials that produce airborne particles.
- Some dust created by power sanding, sawing, grinding, drilling and other construction activities contain chemicals known to the State of California to cause cancer and birth defects or other reproductive harm. Some examples of these chemicals are:
- Lead from lead-based paints
- Crystalline silica bricks and cement and other masonry products
- Arsenic and chromium from chemically-treated rubber Your risk from these exposures varies, depending on how often you do this type of work. To reduce your exposure to these chemicals: work in a well-ventilated area, and work with approved safety equipment, such as dust masks that are specially designed to filter out microscopic particles.
- Proceed with care in unfamiliar surroundings. Be aware of potential hazards created by your work activity. This tool is not insulated from coming into contact with electric power sources.
- This tool is not recommended for use in potentially explosive atmospheres.
Additional safety information regarding portable air tools:
- CAGI 2528 – B186.1, SAFETY CODE FOR PORTABLE AIR TOOLS, available from Global Engineering Documents at https://global.ihs.com/ or call +1 800 447-2273. In case of difficulty in obtaining ANSI standards, contact ANSI via https://www.ansi.org/
Useful Information
Safety Data Sheet
The Safety Data Sheets describe the chemical products sold by Chicago Pneumatic.
Please consult the Chicago Pneumatic website for more information qr.cp.com/sds.
Country of origin
Hungary
Website
Information concerning our Products, Accessories, Spare Parts, and Published Matters can be found on the Chicago Pneumatic website.
Please visit www.cp.com.
Copyright
© Copyright 2022, CHICAGO PNEUMATIC Tool Co.LLC1815 Clubhouse Road, Rock Hill, SC 29730 – USA All rights reserved. Any unauthorized use or copying of the contents or part thereof is prohibited. This applies in particular to trademarks, model denominations, part numbers, and drawings. Use only authorized parts. Any damage or malfunction caused by the use of unauthorized parts is not covered by Warranty or Product Liability.
ABOUT CHICAGO PNEUMATIC

Since 1901 the Chicago Pneumatic (CP) name has represented reliability and attention to customer needs, with construction, maintenance, and production tools and compressors designed for specific industrial applications. Today, CP has a global reach, with local distributors around the world.
Our people start every single day with a passion to research, develop, manufacture and deliver new products that are meant to meet your needs not only today but tomorrow as well.
TO LEARN MORE, VISIT WWW.CP.COM

http://qr.cp.com/?appli=cpicat&code=m
To find more information about your tool, scan the QR code or go to m.cp.com

References
global.ihs.com/
m.cp.com
qr.cp.com/
Chemwatch - Login
qr.cp.com/sds)を参照してください。
American National Standards Institute - ANSI Home
Chicago Pneumatic Homepage - Chicago Pneumatic
p65warnings.ca.gov/
Pneurop - Pneurop
Pneurop - Pneurop
global.ihs.com/
American National Standards Institute - ANSI Home
American National Standards Institute - ANSI Home
p65warnings.ca.gov/

WARNING

















