P I T PSB16-C Impact Drill Instruction Manual
Safety Notes
General Power Tool Safety Warnings
WARNING Read all safety warnings and all instructions.
Failure to follow the warnings and instructions may result in electric shock, fi re and/or serious injury.
Save all warnings and instructions for future reference.
The term “power tool” in the warnings refers to your mainsoperated (corded) power tool or battery-operated (cordless) power tool.
Work area safety
- Keep work area clean and well lit.Cluttered or dark areas invile accidents.
- Do not operate power tools in explosive atmospheres. such as in the presence of flammable liquids, gases or dust. Power tools create sparks which may ignile the dust or fumes.
- Keep children and bystanders a way while operating a power tool. Distractions can cause you to lose control.
Electrical safety
- Power tool plugs must match the outlet. Never modify the plug in any way. Do not use any adapter plugs with earthed (grounded) power tools. Unmodified plugs and matching outlets will reduce risk of electric shock.
- Avoid body contact with earthed or grounded surfaces, such as pipes, radiators, ranges and refrigerators. There is an increased risk of electric shock if your body is earthed or grounded.
- Do not expose power tools to rain or wet conditions. Water entering a power tool will increase the risk of electric shock.
- Do not abuse the cord. Never use thecord for carrying, pulling or unplugging the power tool. Keep cord away from heat, oil, sharp edges and moving parts. Damaged or entangled cords increase the risk of electric shock.
- When operating a power tool outdoors, use an extension cord suitable for outdoor use. Use of a cord suitable for outdoor use reduces the risk of electric shock.
- If operating a power tool in a damp location is unavoidable, use a residual current device (RCD) protected supply. Use of an rcd reduces the risk of electric shock.NOTE The term “residual curert device (RCD)” may be redlaced by the term ground faull circuit interrupter(GFCI)” or “earlh leakage circuit breaker (ELCB)”.
- Warning! Never touch the exposed metal surfaces on gearbox, shield, and so on because touching metal surfaces will be interfered with the electromagnetic wave, thus causing potential injury or accidents.
Personal safety
- Stay alert, watch what you are doing and use common sense when operating a power tool. Do not use a power tool while you are tired or under the influence of drugs, alcohol or medication. A moment of inattention while operating power tools may result in serious personal injury.
- Use safety equipment. Always wear eye protection. Safety equipment such as dust mask, non-skid safety shoes, hard hat, or hearing protection used for appropriate conditions will reduce personal injuries.
- Prevent unintentional starting. Ensure the switch is in the off -position before connecting to power source and/or battery pack, picking up or carrying the tool.Carrying power tools with your fi nger on the switch or energising power tools that have the switch on invites accidents.
- Remove any adjusting key or wrench before turning the power tool on. A wrench or a key left attached to a rotating part of the power tool may result in personal injury.
- Do not overreach. Keep proper footing and balance at all times. This enables better control of the power tool in unexpected situations.
- Dress properly. Do not wear loose clothing or jewellery. Keep your hair, clothing and gloves away from moving parts. Loose clothes, jewellery or long hair can be caught in moving parts.
- If devices are provided for the connection of dust extraction and collection facilities, ensure these are connected and properly used. Use of dust collection can reduce dust-related hazards.
- Do not let familiarity gained from frequent use of tools allow you to become complacent and ignore tool safety principles. A careless action can cause severe injury within a fraction of a second.
- Warning! Power tools can produces an electromagnetic field during operation. This fi eld may under some circumstances interfere with active or passive medical implants, To reduce the risk of serious or fatal injury, we recommend persons with medical implants to consult their physician and the medical implant manufacturer before operating this power tool.
Power tool use and care
- The persons with lowered psychophysical or mental aptitudes as well as children can not operate the power tool, if they are not supervised or instructed about use of the power tool by a person responsible for their safety.
- Do not force the power tool. Use the correct power tool for your application. The correct power tool will do the job better and safer at the rate for which it was designed.
- Do not use the power tool if the switch does not turn it on and off. Any power tool that cannot be controlled with the switch is dangerous and must be repaired.
- Disconnect the plug from the power source and/or the battery pack from the power tool before making any adjustments ,changing accessories, or storing power tools. Such preventive safety measures reduce the risk of starting the power tool accidentally .
- Store idle power tools out of the reach of children and do not allow persons unfamiliar with the power tool or these instructions to operate the power tool. Power tools are dangerous in the hands of untrained users.
- Maintain power tools. Check for misalignment or binding of moving parts, breakage of parts and any other condition that may affect the power tool’s operation. If damaged, have the power tool repaired before use. Many accidents are caused by poorly maintained power tools.
- Keep cutting tools sharp and clean. Properly maintained cutting tools with sharp cutting edges are less likely to bind and are easier to control.
- Use the power tool, accessories and tool bits etc. in accordance with these instructions, taking into account the working conditions and the work to be performed. Use of the power tool for operations diff erent from those intended could result in a hazardous situation.
- Keep handles and grasping surfaces dry, clean and free from oil and grease Slippery handles and grasping surfaces do not allow for safe handling and control of the tool in unexpected situations.
- Note that when you operate a power tool, please hold the auxiliary handle correctly, which is helpful when controlling the power tool. Therefore, proper holding can reduce the risk of accidents or injuries.
- Service
► Have your power tool serviced by a
qualifi ed repair person using only identical replacement parts. This will ensure that the safety of the power tool is maintained. - Follow instruction for lubricating and changing accessories.
Special safety warnings
- Wear ear protectors when impact drilling. Exposure to noise can cause hearing loss.
NOTE: The above warning applies only to impact drills and may be omitted for drills other than impact drills. - Use auxiliary handle(s), if supplied with the tool. Loss of control can cause personal injury.
- Hold power tool by insulated gripping surfaces, when performing an operation where the cutting accessory may contact hidden wiring or its own cord. Cutting accessory contacting a “live” wire may make exposed metal parts of the power tool “live” and could give the operator an electric shock.
Safety guidelines during power tool operation
- The workpiece shall be fastened. Fixed devices or vice shall be used to fasten the workpiece, which will be more secure than holding the workpiece with your hands.
- Considering that asbestos may cause cancer, asbestos-containing materials shall not be processed.
- The rower tool could be put down only after the parts o power tool is completely static. Accessory on the power tool might be clamped during work, which may make it diffi cult for you to control the power tool.
- Power tool with damaged electric wires shall not be used. If electric wires of the power supply are damaged during the work, you shall not touch the damaged electric wires and shall pull out the plug immediately. Damaged electric wires will raise the risk of electric shock.
- When using power tools outdoor, you must install fault current (Fl) protection switch on the power tool.
- Appropriate detector shall be used to fi nd the location of hidden power wires. Or you should obtain relevant information from local power supply unit. Drilling electric wires will cause fire and electric shock. Damaged gas pipe will cause exploration. If water pipes are punctured, damage will be caused to property.
- In case a accessory installed on the power tool is clamped, you shall shut down the power tool and stay calm. At that time, the power tool will produce extremely high reactive torque thus resulting in return stroke. The accessory installed on the power tool are likely to be clamped, for example: hypercharge of power tool or skewing of accessory installed on the power tool during work.
- If hidden electric wires or power lines of the power tool itself might be cut off during work, you must hold the insulated handle to operate the power tool. When the power tool is in touch with a charged line, the metal parts on the power tool will conduct electricity and may cause the operator to get an electric shock.
- During work, you must tightly hold the power tool and ensure you stand firmly. You should hold the power tool with your hands.
- When operating and using the power tool, you can only hold switch position of the main handle rather than other parts.
- Avoid stopping an power tool motor when loaded.
- Never remove any chips or fragments with your power tool’s motor running.
- When working, follow the position of the power supply cable. Avoid winding it around your legs or arms.
- Use only sharp drill bits without defects – it will make working with the power tool easier.
- The modifi cation of the drill bits design and the use of removable orifices and accessories not envisaged for this power tool is strictly forbidden.
- Do not apply excessive pressure when operating the power tool – it can jam the drill bit and overload the engine.
- Do not allow drill bits to jam in the material processed. If this occurs, do not try to release them by means of the power tool engine. This can put the power tool out of order.
- Striking out drill bits jammed in the material processed with a hammer or other objects is strictly forbidden – metal fragments can hurt both the operator and the people nearby.
- Avoid overheating your power tool, when using it for a long time.
Product Description and Specifications
Read all safety warnings and all instructions. Failure to follow the warnings and instructions may result in electric shock, fi re and/or serious injury.
Intended Use
The power tool is intended for impact drilling in brick, concrete and stone, as well as for drilling in wood, metal, ceramic and plastic. Tools with electronic control and right/ left rotation are also suitable for screwdriving and thread cutting.
Technical Data
| Model | PSB16-C |
| Rated Voltage | 220 V~/50 H |
| Rated Power | 1050 W |
| Rated no-load speed | 0-900/2500 r/min |
| Chuck diameter | Ø16 mm(5/8″) |
| Weight | 4 kg |
Contents of delivery
Impact drill 1pc
Side grip 1pc
Chuck key 1pc
Depth gauge 1pc
Instruction manual 1pc
Note
Since the product is constantly being improved, P.I.T. reserves the right to make changes to the specifications and product specifi cations specifi ed here without prior notice.
Product Features

The numbering of the components shown refers to the representation of the power tool on the graphic pages.
- Gear rim chuck
- Additional handle
- Depth stop
- Step speed selector switch
- “Impact/ drill” switch
- Ventilation slots
- Rotational direction switch
- Speed selector thumbwheel
- On / off switch
- Lock-on button
- Drill chuck key
- Screw
- Screwdriver bit*
- Magnetic holder *
* Optional extra
Not all of the accessories illustrated or described are included as standard delivery.
Symbols used in the manual
Following symbols are used in the operation manual, please remember their meanings. Correct interpretation of the symbols will allow correct and safe use of the power tool.
| Symbol | Meaning |
![]() | Impact drill Sections marked gray – soft grip (with insulated surface) |
![]() | Read all safety regulations and instructions |
![]() | Wear safety goggles |
![]() | Wear ear protectors |
![]() | Wear a dust mask |
| Disconnect the power tool from the mains before installation oradjustment | |
![]() | Risk of damage to hidden wiring or household servicelines |
![]() | Movement direction |
| Symbol | Meaning |
| Rotation direction | |
| Locked | |
| Unlocked | |
| Prohibited | |
![]() | “Drilling” mode |
![]() | Drill tiles in the impactless drilling operation mode only |
| Double insulation/ protection class | |
| Attention. Important | |
| A sign certifying that the product complieswith essential requirements of the EU directives and harmonized EUstandards | |
| Useful information | |
![]() | Wear protectivegloves |
![]() | “Drilling” position of the mode selectorswitch |
![]() | “Impact drilling” position of the mode selector switch. |
![]() | Stepless speedcontrol |
Installation and regulation of power tool elements
Before carrying out any works on the power tool it must be disconnected from the mains. Do not draw up the fastening elements too tight to avoid damaging the thread. Mounting / dismounting / setting-up of some elements is the same for all power tool models, in this case specifi c models are not indicated in the illustration.
Additional handle (see fi g. 1)
Always use the additional handle 2 when operating. Additional handle 2 may be positioned as deemed comfortable by the user.
- Loose additional handle 2 as shown in fi g. 1.1.
- Place additional handle 2 in desired position (see fi g. 1.2).
- Tighten additional handle 2 as shown in fi g. 1.3
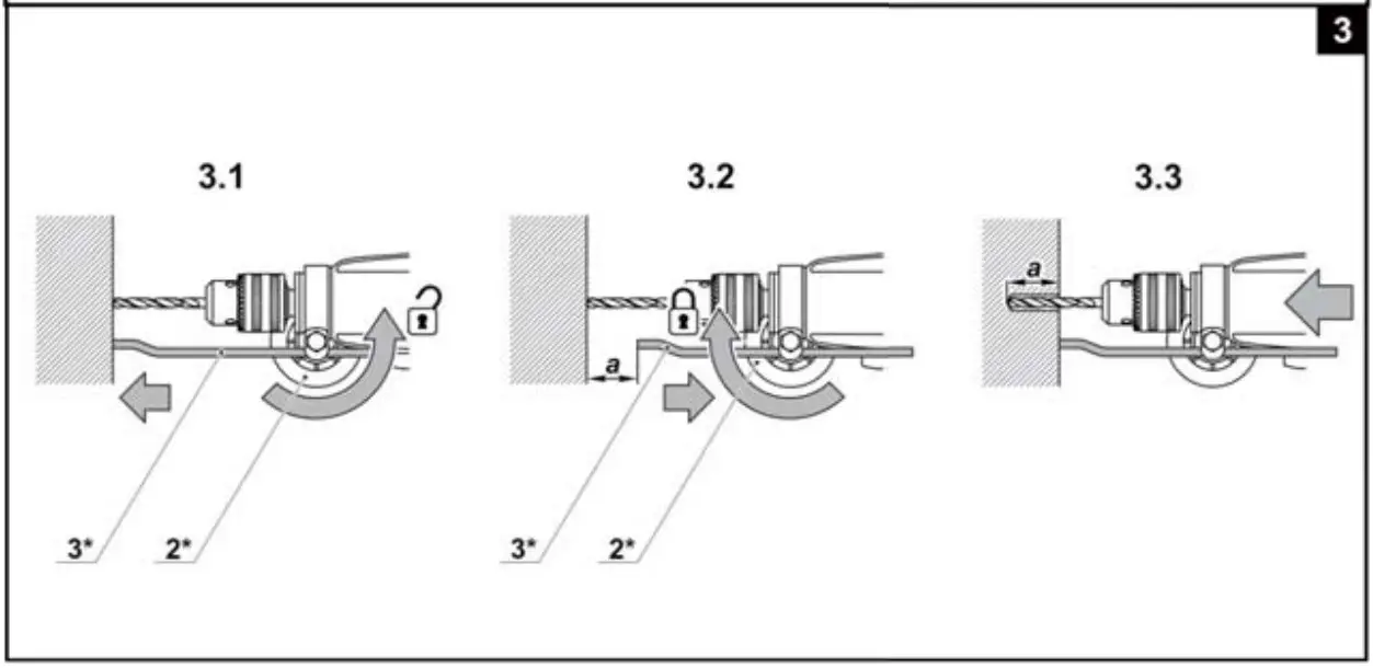
Depth stop (see fi g. 2-3)

- Use depth stop 3 to set a required drilling depth (see fi g. 2-3). Loose additional handle 2 as shown in fi g. 2.1.
- Move depth stop 3 to set a required drilling depth (see fi g. 3.2).
- Tighten additional handle 2 as shown in fi g. 2.2, 3.2
Gear rim chuck (see fi g. 4)
- Release the cams grip with drill chuck key 11, then rotate the quill of gear rim chuck 1 counter-clockwise with your hand (see fi g. 4) until the cams move apart at the distance allowing an accessory to be mounted/ replaced.
- Mount / replace an accessory.
- Rotate the quill of gear rim chuck 1 clockwise with your hand in order to lock the accessory mounted. Do not allow the ac cessory to become distorted.
- Tighten the cams of gear rim chuck 1 with drill chuck key 11 applying a similar torque to each of the three openings on the side surface of the chuck.
Mounting / dismounting of the drill chuck (see fi g. 5-6)

- To mount the gear rim chuck 1, carry out the operations in consecutive stages as it is shown in fi gure 5.
- To dismount the gear rim chuck 1, carry out the operations in consecutive stages as it is shown in fi gure 6
Attention: keep in mind that in the process of mounting/ dismounting of the drill chuck the screw 12 has a left-hand thread.
Screwdriver bit / magnetic holder(see fi g.7)
When using the power tool as a screwdriver, use magnetic holder 14 for reliable locking of screwdriver bits 13 (see fig. 7). A magnetic holder 14 is not needed for extended screwdriver bits 13 (specially purposed for screwdrivers).
Initial operating of the power tool
Always use the correct supply voltage: the power supply voltage must match the information quoted on the power tool identifi cation plate.
Switching the power tool on/ off
Short-term switching on / off
To switch on, press and hold on/ off switch 9, to switch off – release it
Design features of the power tool
Impact/ drill” switch
Switch 5 is purposed for switching between the following operation modes of the power tool:
- drilling, screwing, unscrewing – drilling without impact in wood, synthetic materials, metal. Screwing and unscrewing fastening components;
- impact drilling – impact drilling in brick, concrete, natural stone.
Drilling, screwing, unscrewing:
To switch to this operation mode, turn switch 5 so that the drilling sign coincides with the mark on the body.
Impact drilling:
To switch to this operation mode, turn switch 5 so that the Impact drilling sign coincides with the mark on the body. One can switch to another operation mode without stopping the power tool, simply decrease pressure applied to it to some extent.
Stepless speed adjustment
Speed is controlled from O to maximum by pressing force of on / off switch 9. Weak pressing results in low revolutions, which enable a smooth power tool switch-on
Speed selector thumbwheel
Use speed control 8 to set required revolutions and impact frequency.
- Push on / off switch 9 and lock it in the position with lock-on button 10.
- Set the needed speed.
The required speed is dependent on the material and can be determined with practical trials. When operating your power tool at a low speed for a long time, it has to be cooled down for 3 minutes. To do it, set a maximum speed and leave your power tool to run idle.
Step speed selector switch
Attention: one can only change the revolutions per minute range after the engine fully stops.
The first speed – you can find the values of the revolutions per minute range in the technical specifi cations table.
The second speed – you can find the values of the revolutions per minute range in the technical specifi cations table.
Changing the rotational directions
Change the direction of rotation only & after a full stop of the motor, acting otherwise may cause damage to the power tool.
Recommendations on the power tool operation
Drilling (see fi g. 8-11)


- Grease the drill bit regularly when drilling holes in metals (except drilling non ferrous metals and their alloys).
- When drilling hard metals, apply more force to the power tool and lower the rotation speed.
- When drilling large diameter holes in metal, fi rst drill a hole with a smaller diameter and ream it till the necessary diameter (see fi g. 8).
- In order to avoid splitting of the surface at an exit point of a drill bit when drilling holes in wood, follow the instructions shown in fi gure 9.
- In order to decrease dust production when drilling holes in walls and ceilings, take actions indicated in fi g. 10.
- When drilling holes in glazed ceramic tiles, in order to improve the drill centering accuracy and to save the glaze from damage, apply adhesive tape to the presumed hole center and drill after that (see fig. 11 ). Start drilling at lower speed increasing it as the hole deepens. Caution: drill tiles in the impactless drilling operation mode only.
Impact drilling
During the impact drilling, the result does not depend on the pressure applied to the power tool this is caused due to the peculiarities in the impact mechanism design. That is why you should not apply excessive pressure to the power tool it can jam the drill and overload the engine.
Screwing the screws (see fi g. 12)
- To make fastening of screws easier and in order to prevent cracking of the work pieces, fi rst drill a hole with a diameter equal to 2/3 of a diameter of the screw.
- If you are connecting work pieces with the help of screws, in order to achieve durable joint without getting cracks, fracturing or layering, take actions shown in fi gure 12 .
Power tool maintenance / preventive measures
Before carrying out any works on the power tool it must be disconnected from the mains. Cleaning of the power tool
An indispensable condition for a safe longterm exploitation of the power tool is to keep it clean. Regularly flush the power tool withcompressed air thought the ventilation slots 6
Transportation of the power tools
- Categorically not to drop any mechanical impact on the packaging during transport.
- When unloading / loading is not allowed to use any kind of technology that works on the principle of clamping packaging.
Dispose of waste
Damaged power tools, batteries, accessories and waste packaging materials must be recycled and reused in an environmentally friendly manner. Do not throw power tools and accumulators / batteries into general household waste!
Product serial number interpretation serial number

The fi rst and second digits of the product serial number from left to right Year of production, the third and fourth digits indicate the month of production, the The fi fth and sixth digits indicate the production day
TERMS OF WARRANTY SERVICE
- This Warranty Certifi cate is the only document that confi rms your right to free warranty service. Without presenting this certifi cate, no claims are accepted. In case of loss or damage, the warranty certifi cate is not restored.
- The warranty period for the electric machine is 12 months from the date of sale, during the warranty period the service department eliminates manufacturing defects and replaces parts that have failed due to the fault of the manufacturer free of charge. In the warranty repair, an equivalent operable product is not provided. Replaceable parts become property of service providers. P.I.T is not liable for any damage that may be caused by operation of the electric machine.
- Only clean tool accompanied with the following duly executed documents: this Warranty Certifi cate, Warranty Card, with all fi elds fi lled out, bearing the stamp of the trade organization and the signature of the buyer, shall be accepted for warranty repair.
- Warranty repair is not performed in the following cases:
- in the absence of a Warranty Certifi cate and a Warranty Card or their incorrect execution;
- with failure of both a rotor and a stator of the electric engine, charring or melting of primary winding of the welding machine transformer, charging or starting-charging device, with in ternal parts melting, burn down of electronic circuit boards;
- if a Warranty Certifi cate or a Warranty Card does not correspond to this electric machine or to the form established by the supplier;
- upon expiration of the warranty period;
- at attempts of opening or repair of the electric machine outside the warranty workshop; making constructive changes and lubrication of the tool during the warranty period, as evidenced, for example, by the creases on the spline parts of the fasteners of non-rotational parts.
- when using electric tools for production or other purposes connected with making a profit, as well as in case of malfunctions related to instability of the power network parameters exceeding the norms established by GOST;
- in the events of improper operation (use the electric machine for other than intended purposes, attachments to the electric machine of attachments, accessories, etc. not provided by the manufacturer);
- with mechanical damage to the case, power cord and in case of damages caused by aggressive agents and high and low temperatures, ingress of foreign objects in the ventilation grids of the electric machine, as well as in case of damage resulting from improper storage (corrosion of metal parts);
- natural wear and tear on the parts of the electric machine, as a result of long-term operation (determined on the basis of the signs of full or partial depletion of the specified mean life, great contamination, presence of rust outside and inside the electric machine, waste lubricant in the gearbox);
- use of the tool the purposes for other than specifi ed in the operating instructions.
- mechanical damages to the tool;
- in the event of damages due to non-observance of the operating conditions specifi ed in the instruction (see chapter “Safety Precautions” of the Manual).
- damage to the product due to non-observance of the rules of storage and transportation. Preventive maintenance of electric machines (cleaning, washing, lubrication, replacement of anthers, piston and sealing rings) during the warranty period is a paid service. The service life of the product is 3 years. Shelf life is 2 years. It is not recommended for operation after 2 years of storage from the date of manufacture, which is indicated in the serial number on the label of the instrument, without preliminary verifi cation (for the defi nition of the date of manufacture, see the User’s Manual earlier). The owner is notified of any possible violations of the above terms of wa rranty service upon completion of diagnostics in the service center. The owner of the tool entrusts the diagnostic procedure to be conducted in the service center in his absence. Do not operate the electric machine when there are signs of excessive heat, sparking, or noise in the gearbox. To determine the cause of the malfunction, the buyer should contact the warranty service center. Malfunctions caused by late replacement of carbon brushes of the engine are eliminated at the expense of the buyer.
- The warranty does not cover:
- replacement accessories (accessories and components), for example: batteries, discs, blades, drill bits, borers, chucks, chains, sprockets, collet clamps, guide rails, tension and fastening elements, trimming device heads, base of grinding and belt sander machines, hexagonal heads, etc.,
- fast wearing parts, for example: carbon brushes, drive belts, seals, protective covers, guiding rollers, guides, rubber seals, bearings, toothed belts and wheels, shanks, brake belts, starter ratchets and ropes, piston rings, etc. Their replacement during the warranty period is a paid service;
- power cords, in case of damage to the insulation, power cords are subject to mandatory replacement without the consent of the owner (paid service);
- tool case.






























