STANLEY 07287 Hydro-Pneumatic Power Tool

ORIGINAL INSTRUCTION
©2021 STANLEY Black & Decker All rights reserved.
- The information provided may not be reproduced and/or made public in any way and through any means (electronically or mechanically) without prior explicit and written permission from STANLEY Engineered Fastening.
- The information provided is based on the data known at the moment of the introduction of this product. STANLEY Engineered Fastening pursues a policy of continuous product improvement and therefore the products may be subject to change. The information provided is applicable to the product as delivered by STANLEY Engineered Fastening.
- Therefore, STANLEY Engineered Fastening cannot be held liable for any damage resulting from deviations from the original specifications of the product.
- The information available has been composed with the utmost care. However, STANLEY Engineered Fastening will not accept any liability with respect to any faults in the information nor for the consequences thereof. STANLEY Engineered Fastening will not accept any liability for damage resulting from activities carried out by third parties.
- The working names, trade names, registered trademarks, etc. used by STANLEY Engineered Fastening should not be considered as being free, pursuant to the legislation with respect to the protection of trademarks.
- This instruction manual must be read by any person installing or operating this tool with particular attention to the following safety rules.
- Always wear impact-resistance eye protection during the operation of the tool. The grade of protection required should be assessed for each use.
- Use hearing protection in accordance with employee’s instructions and as required by occupational health and safety regulations.
- The use of the tool can expose the operator‘s hands to hazards, including crushing, impacts, cuts and abrasions, and heat. Wear suitable gloves to protect your hands.
SAFETY DEFINITIONS
- The definitions below describe the level of severity for each signal word. Please read the manual and pay attention to these symbols.
- DANGER: Indicates an imminently hazardous situation, which, if not avoided, will result in death or serious injury.
- WARNING: Indicates a potentially hazardous situation, which, if not avoided, could result in death or serious injury.
- CAUTION: Indicates a potentially hazardous situation, which, if not avoided, may result in minor or moderate injury.
- CAUTION: Used without the safety alert symbol indicates a potentially hazardous situation which, if not avoided, may result in property damage.
- Improper operation or maintenance of this product could result in serious injury and property damage. Read and understand all warnings and operating instructions before using this equipment. When using power tools, basic safety precautions must always be followed to reduce the risk of personal injury.
- SAVE ALL WARNINGS AND INSTRUCTIONS FOR FUTURE REFERENCE
GENERAL SAFETY RULES
- For multiple hazards, read and understand the safety instructions before installing, operating, repairing, maintaining, changing accessories on, or working near the tool. Failure to do so can result in serious bodily injury.
- Only qualifi ed and trained operators must install, adjust or use the tool.
- DO NOT use outside the design intent of placing STANLEY Engineered Fastening Blind Rivets.
- Use only parts, fasteners and accessories recommended by the manufacturer.
- DO NOT modify the tool. Modifi cation can reduce the eff ectiveness of safety measures and increase the risks to the operator. Any modifi cation to the tool undertaken by the customer will be customer’s entire responsibility and void any applicable warranties.
- Do not discard the safety instructions; give them to the operator.
- Do not use the tool if it has been damaged.
- Prior to use, check for misalignment or binding of moving parts, breakage of parts and any other condition that aff ects the tool’s operation. If damaged, have the tool serviced before using. Remove any adjusting key or wrench before use.
- Tools shall be inspected periodically to verify that the ratings and markings required by this part of ISO 11148 are legibly marked on the tool. The employer/user shall contact the manufacturer to obtain replacement marking labels when necessary.
- The tool must be maintained in a safe working condition at all times and examined at regular intervals for damage and function by trained personnel. Any dismantling procedure will be undertaken only by trained personnel. Do not dismantle this tool without prior reference to the maintenance instructions.
PROJECTILE HAZARDS
- Disconnect the air supply from the tool before performing any maintenance, attempting to adjust, fi t or remove a nose assembly or accessories.
- Be aware that failure of the work piece or accessories or even of the inserted tool itself can generate high- velocity projectiles.
- Always wear impact-resistant eye protection during operation of the tool. The grade of protection required should be assessed for each use.
- The risks to others should also be assessed at this time.
- Ensure that the work piece is securely fi xed.
- Check that the means of protection from ejection of fastener and/or mandrel is in place and operative.
- DO NOT use the tool without mandrel collector installed.
- Warn against the possible forcible ejection of mandrels from the front of the tool.
- DO NOT operate a tool that is directed towards any person(s).
OPERATING HAZARDS
- Use of the tool can expose the operator’s hands to hazards, including crushing, impacts, cuts, abrasions and heat. Wear suitable gloves to protect hands.
- Operators and maintenance personnel shall be physically able to handle the bulk, weight and power of the tool.
- Hold the tool correctly; be ready to counteract normal or sudden movements and have both hands available.
- Keep tool handles dry, clean and free from oil and grease.
- Maintain a balanced body position and secure footing when operating the tool.
- Release the start-and-stop device in the case of an interruption of the air supply.
- Use only lubricants recommended by the manufacturer.
- Contact with hydraulic fl uid should be avoided. To minimize the possibility of rashes, care should be taken to wash thoroughly if contact occurs.
- Material Safety Data Sheets for all hydraulic oils and lubricants is available on request from your tool supplier.
- Avoid unsuitable postures, as it is likely for these positions not to allow counteracting of normal or unexpected movement of the tool.
- If the tool is fi xed to a suspension device, make sure that the fi xation is secure.
- Beware of the risk of crushing or pinching if nose equipment is not fi tted.
- DO NOT operate tool with the nose casing removed.
- Adequate clearance is required for the tool operator’s hands before proceeding.
- When carrying the tool from place to place keep hands away from the trigger to avoid inadvertent activation.
- DO NOT abuse the tool by dropping or using it as a hammer.
REPETITIVE MOTIONS HAZARDS
- When using the tool, the operator can experience discomfort in the hands, arms, shoulders, neck or other parts of the body.
- While using the tool, the operator should adopt a comfortable posture whilst maintaining a secure footing and avoiding awkward or off -balance postures. The operator should change posture during extended tasks; this can help avoid discomfort and fatigue.
- If the operator experiences symptoms such as persistent or recurring discomfort, pain, throbbing, aching, tingling, numbness, burning sensations or stiff ness, these warning signs should not be ignored. The operator should tell the employer and consult a qualifi ed health professional.
ACCESSORY HAZARDS
- Disconnect the tool from the air supply before fi tting or removing the nose assembly or accessory.
- Use only sizes and types of accessories and consumables that are recommended by the manufacturer of the tool; do not use other types or sizes of accessories or consumables.
WORKPLACE HAZARDS
- Slips, trips and falls are major causes of workplace injury. Be aware of slippery surfaces caused by use of the tool and of trip hazards caused by the air line or hydraulic hose.
- Proceed with care in unfamiliar surroundings. There can be hidden hazards, such as electricity or other utility lines.
- The tool is not intended for use in potentially explosive atmospheres and is not insulated against contact with electric power.
- Ensure that there are no electrical cables, gas pipes, etc., which can cause a hazard if damaged by use of the tool.
- Dress properly. Do not wear loose clothing or jewellery. Keep your hair, clothing and gloves away from moving parts. Loose clothes, jewellery or long hair can be caught in moving parts.
NOISE HAZARDS
- Exposure to high noise levels can cause permanent, disabling hearing loss and other problems, such as tinnitus (ringing, buzzing, whistling or humming in the ears). Therefore, risk assessment and the implementation of appropriate controls for these hazards are essential.
- Appropriate controls to reduce the risk may include actions such as damping materials to prevent work pieces from “ringing”.
- Use hearing protection in accordance with employer’s instructions and as required by occupational health and safety regulations.
- Select, maintain and replace the consumable/inserted tool as recommended in the instruction handbook, to prevent an unnecessary increase in noise.
VIBRATION HAZARDS
- Exposure to vibration can cause disabling damage to the nerves and blood supply of the hands and arms.
- Wear warm clothing when working in cold conditions and keep your hands warm and dry.
- If you experience numbness, tingling, pain or whitening of the skin in your fi ngers or hands, stop using the tool, tell your employer and consult a physician.
- Where possible, support the weight of the tool in a stand, tensioner or balancer, because a lighter grip can then be used to support the tool.
- Operate and maintain the assembly power tool for blind rivets as recommended in the instruction’s handbook, to prevent an unnecessary increase in vibration levels.
- Select, maintain and replace the consumable/inserted tool as recommended in the instruction handbook, to prevent an unnecessary increase in vibration levels.
- Hold the tool with a light but safe grip, taking account of the required hand reaction forces, because the risk from vibration is generally greater when the grip force is higher.
ADDITIONAL SAFETY INSTRUCTIONS FOR PNEUMATIC & HYDRAULIC POWER TOOLS
- The operating supply air must not exceed 7 bar (102 PSI).
- Air under pressure can cause severe injury.
- Never leave operating tool unattended. Disconnect air hose when tool is not in use, before changing accessories or when making repairs.
- Never direct air at yourself or anyone else.
- Whipping hoses can cause severe injury. Always check for damaged or loose hoses and fi ttings.
- Prior to use, inspect airlines for damage, all connections must be secure. Do not drop heavy objects on hoses. A sharp impact may cause internal damage and lead to premature hose failure.
- Cold air shall be directed away from hands.
- Whenever universal twist couplings (claw couplings) are used, lock pins shall be installed and whip check safety cables shall be used to safeguard against possible hose-to-tool or hose-to-hose connection failure.
- DO NOT lift the placing tool by the hose. Always use the placing tool handle.
- Vent holes must not become blocked or covered.
- Keep dirt and foreign matter out of the hydraulic system of the tool as this will cause the tool to malfunction.
- Oil under pressure can cause severe injury.
- Prior to use, inspect hydraulic hoses for damage. All hydraulic connections must be clean, fully engaged and tight before operation. Do not drop heavy objects on hoses.
- A sharp impact may cause internal damage and lead to premature hose failure.
- DO NOT pull or move the intensifi er unit using the hoses. Always use the unit handle.
- Use only clean oil and fi lling equipment.
- Only recommended hydraulic fl uids may be used.
- Maximum temperature of the hydraulic fl uid at the inlet is 100°C (212°F).
SPECIFICATIONS
PLACING TOOL SPECIFICATIONS
| Air Pressure | Minimum – Maximum | 5-7 bar (72.5-101.5 psi) |
| Free Air Volume Required | @ 5.5 bar (80 psi) | 18.5 litres |
| Stroke | Minimum Under load | 29 mm (1.14 in) |
| Free Cycling | 32 mm (1.26 in) | |
| Pull Force | @ 5.5 bar (80 psi) | 32.4 kN |
| Cycle time | Approximately | 1.7 seconds |
| Piston Weight | (without nose equipment) | 1.47 kg(3.23 lb) |
| Total Weight | Pistol and Intensifier (without nose equipment) | 40 kg(88 lb) |
| Noise values are determined according to noise test codes ISO 15744 and ISO 3744. | 7287 | |
| A-weighted sound power level dB(A), LWA | Uncertainty noise: kWA = 3.0 dB(A) | 88.3 dB(A) |
| A-weighted emission sound pressure level at the work station dB(A), LpA | Uncertainty noise: kpA = 3.0 dB(A) | 82.8 dB(A) |
| C-weighted peak emission sound pressure level dB(C), LpC,peak | Uncertainty noise: kpC = 3.0 dB(C) | 84.7 dB(C) |
| Vibration values are determined according to vibration test code ISO 20643 and ISO 5349. | 7287 | |
| Vibration emission level, ahd: | Uncertainty vibration: k = 1.609 m/s2 | 5.631 m/s2 |
| Declared vibration emission values in accordance with EN 12096 | ||
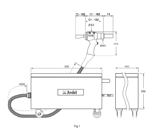
TOOL DIMENSIONS
- Dimensions shown in bold are with the piston in the rear position.
- Dimensions are in inches and millimeters.
INTENT OF USE
The hydro-pneumatic 07287 tool is designed to place Stanley Engineered Fastening lockbolt and break stem fasteners at high speed making it ideal for batch or fl ow-line assembly in a wide variety of applications throughout all industries.
The 07287 consists of a remote intensifi er or split tool concept with a Pistol Grip head, Air Oil Intensifi ers and Steel Enclosure (see pages 9, 22, 23, 25 and 26).
Pistol Grip type head fi tted with a pintail defl ector is the standard tool for which a stem catching option and a side ejection accessory are available (see details page 19). It is also possible to order the base tool only (part number 07287-00200 3m or 07287-00300 5m) which will not be fi tted with a nose assembly.
DO NOT use under wet conditions or in the presence of fl ammable liquids or gases.
TOOL SELECTION
| FASTENER | NOSE TIP | ADAPTOR | NOSE ASSEMBLY | NOSE ASSEMBLY DATASHEET | ||||||||||||||
Diameter
| Part Number | Part Number | Part Number | Dim. ‘A’ | Dim. ‘B’ | Part Number | ||||||||||||
| AVBOLT® | ø6,4 mm (1/4”) | – | – | 07220-07500 | 70 mm | 19 mm | 07900-00905 |
| ø8,0 mm (5/16”) | – | – | 07220-07700 | 100 mm | 27 mm | 07900-00905 | |
| ø4,8 mm (3/16”) | Vertical Flats | 73200-04300 | 07200-02500 | 21 mm | – | ||
| ø4,8 mm (3/16”) | Horizontal Flats | 73200-04300 | 07200-02700 | 21 mm | – | ||
| ø6,4 mm (1/4”) | Vertical Flats | 73200-04300 | 07200-02600 | 21 mm | – | ||
| ø6,4 mm (1/4”) | Horizontal Flats | 73200-04300 | 07200-02800 | 21 mm | – | ||
| ø6,4 mm (1/4”) | Horiz. Flats (Stepped)1 | 73200-04300 | 07200-03300 | 21 mm | – | ||
| ø6,4 mm (1/4”) | Round | 73200-04300 | 07200-03500 | 21 mm | – | ||
| AVDELOK® | ø8,0 mm (5/16”) | Horizontal Flats | – | 07220-02700 | 27 mm | – | |
| ø8,0 mm (5/16”) | Horiz. Flats (Stepped)1 | – | 07220-03400 | 27 mm | – | ||
| ø8,0 mm (5/16”) | Round | – | 07220-05600 | 130 mm | 27 mm | – | |
| ø10 mm (3/8”) | Round | – | 07220-02000 | 100 mm | 27 mm | – | |
| ø10 mm (3/8”) | Round (Stepped)1 | – | 07220-03500 | 27 mm | – | ||
| ø10 mm (3/8”) | Short | – | 07220-06100 | 27 mm | – | ||
| AVSEAL® II | ø16 mm | See DATASHEET | 07220-06800 | 100 mm | 27 mm | 07900-00840 | |
| AVTAINER® | ø10 mm (3/8”) | 07498-00802 | 07267-00800 | 71230-15600 | 130 mm | 23 mm | – |
| HEMLOK® | ø6,4 mm (1/4”) | 07612-02001 | 07267-00800 | 71230-15800 | 23 mm | – | |
| ø6,4 mm (1/4”) | 07612-02001 | 07267-00800 | 71230-15800 | 27 mm | – | ||
| INTERLOCK® | ø6,4 mm (1/4”) | 07612-02001 | 07267-00800 | 71220-15400 | 130 mm | 27 mm | – |
| ø10 mm (3/8”) | 73200-04501 | – | 73200-04500 | 110 mm | 27 mm | – | |
| MAXLOK® | ø4,8 mm (3/16”) | – | 73200-04300 | 07610-02000 | 19 mm | – | |
| ø6,4 mm (1/4”) | – | 73200-04300 | 07610-02100 | 19 mm | – | ||
| ø6,4 mm (1/4”) | 71220-16021 | 07267-00800 | 71230-15800 | 27 mm | – | ||
| MONOBOLT® | ø6,4 mm (1/4”) | 71220-16021 | 07267-00800 | 71220-15400 | 130 mm | 27 mm | – |
| ø10 mm (3/8”) | 07220-07101 | – | 07220-072002 | 110 mm | 27 mm | – | |
| ø10 mm (3/8”) | 07220-07101 | – | 07229-12923 | 110 mm | 27 mm | – | |
| NEOBOLT® | ø8,0 mm (5/16”) | – | – | 73200-05000 | 100 mm | 27 mm | 07900-01071 |
| ø10 mm (3/8”) | – | – | 73200-05100 | 100 mm | 27 mm | 07900-01071 | |
| NEOBOLT® XT | ø10 mm (3/8”) | – | – | 73200-05400 | 100 mm | 27 mm | – |
- Stepped anvils give a less severe deformation of the collars thus allowing placing of Avdelok® in softer materials like plastics, wood, etc.
- 120° Full Segment type.
PUTTING INTO SERVICE
IMPORTANT – READ THE SAFETY RULES ON PAGE 4 & 6 CAREFULLY BEFORE PUTTING INTO SERVICE.
Before Use
- Select relevant size nose equipment and install.
- Connect the placing tool to the air supply. Test pull and return cycles by depressing and releasing the trigger
CAUTION – Correct supply pressure is important for the proper function of the installation tool. Personal injury or damage to equipment may occur without correct pressures. The supply pressure must not exceed that listed in the placing tool specification
AIR SUPPLY
- All tools are operated with compressed air. The pressure regulator in the cabinet is set to an optimum pressure of 5.25 bar. Regardless of the air inlet pressure, the pressure gauge in the cabinet will show 5.25 bar maximum. The pressure regulator in the cabinet must not be adjusted under any circumstances. In addition, we recommend the use of external pressure regulators and automatic oiling/fi ltering systems on the main air supply. These should be fi tted within 3 meters of the tool (see diagram below) to ensure maximum tool life and minimum tool maintenance.
- CAUTION – The pressure regulator in the cabinet is set to 5.25 bar.
- CAUTION – The pressure regulator must not be adjusted under any circumstances.
- CAUTION – The safety valve in the cabinet is set to 5.25 – 5.30 bar.
- CAUTION – The safety valve must not be adjusted under any circumstances.
- Air supply hoses should have a minimum working eff ective pressure rating of 150% of the maximum pressure produced in the system or 10 bar, whichever is the highest.
- Air hoses should be oil resistant, have an abrasion resistant exterior and should be armoured where operating conditions may result in hoses being damaged. All air hoses MUST have a minimum bore diameter of 6.4 mm or 1/4 inch.
- Read servicing daily details on page 15.

PRINCIPLE OF OPERATION
OPTION 1
- Ensure that the correct nose equipment is fi tted.
- Connect the tool to the air supply
- Insert the fastener body squarely into the prepared hole of the application.
- Apply the tool to the protruding fastener stem.
- Fully operate the trigger. The tool cycle will ensure the fastener is placed.
OPTION 2
- Ensure that the correct nose equipment is fi tted
- Connect the tool to the air supply.
- Insert the fastener stem into the nose of the tool.
- Insert the tool with fastener squarely into the prepared hole of the application.
- Fully operate the trigger. The tool cycle will ensure the fastener is placed.
NOSE ASSEMBLIES
It is essential that the correct nose assembly is fi tted prior to operating the tool. By knowing your original complete tool part number or the details of the fastener to be placed, you will be able to order a new complete nose assembly using the selection tables on pages 11 and 12.
FITTING INSTRUCTIONS
CAUTION – The air supply must be disconnected when fi tting or removing nose assemblies unless specifi cally instructed otherwise.
- Lightly coat the jaws with Moly lithium grease.
- Drop Jaws 5 into Jaw Housing 4 or Chuck Collet 3, depending on whether you have a short or long nose assembly (see table opposite for identifi cation).
- Insert Jaw Spreader 7 into Jaw Housing 4 (locating in the ‘V’ shape formed by the jaws) or insert front Spring Guide 6 into Chuck Collet 3.
- Locate Buff er 8 on Jaw Spreader 7.
- Locate Spring 9 onto Jaw Spreader 7 or onto Front Spring Guide 6.
- On long nose assemblies, screw Rear Spring Guide 10 into Chuck Collet 3.
- Fit Locking Ring 11 onto the end plug of the tool.
- Holding tool pointing down, screw on the assembled jaw housing or chuck collet onto the end plug and tighten with spanner.
- Screw Nose Tip 1 into Nose Casing 2.
- Place Nose Casing 2 over Jaw Housing 4 or Chuck Collet 3 and screw onto tool, tightening with a spanner.

07287 NOSE ASSEMBLY COMPONENTS
- This table lists nose assemblies. Each nose assembly represents a unique assembly of components, which can be ordered individually. Component numbers refer to the illustration above. We recommend some stock as items will need regular replacement. Read the Nose Assemblies Servicing Instructions opposite carefully. All nose assemblies also include a locking ring 11 part number 07340-00327.
| NOSE ASSY | 1 | 2 | 3 | 5 | 6 | 9 | 10 |
| 07498-00500 | 07497-03202 | 07498-00501 | 07498-00502 | 07497-03002* | 07498-00507 | 07500-02005 | 07498-00503 |
| NOSE ASSY | 1 | 2 | 4 | 5 | 7 | 8 | 9 |
| 07490-04900 | 07490-04400 | 07340-00306 | 07340-00304 | 07340-07502 | 07340-07503 | 07340-01503 | 07340-01502 |
| 07498-01300 | 07498-01400 | 07340-00306 | 07340-00304 | 07340-07502 | 7340-07503 | 07340-01503 | 07340-01502 |
| 07498-04600 | 07498-03202 | 07340-00306 | 07340-00304 | 07498-04501* | 07498-04502 | 07498-03003 | 07100-04003 |
| 07498-04700 | 07498-04701 | 07340-00306 | 07498-04503 | 07498-04501* | 07498-04900 | 07498-03003 | 07100-04003 |
SELECTION TABLES Monobolt®, Avdelok®, Avtainer®, Maxlok® and Hemlok®
NOSE ASSEMBLIES
Selection Tables for Monobolt®, Avdelok®, Avtainer®, Maxlok® and Hemlok®
| MONOBOLT® 07229-12923 (07220-07200 with full segment jaws 73411-05012) | ||||
![]() | ITEM | DESCRIPTION | PART No | QTY |
| 1 | NOSE TIP | 07220-07101 | 1 | |
| 2 | JAW HOUSING | 07220-06304 | 1 | |
| 3 | NOSE CASING | 07220-07202 | 1 | |
| 4 | JAWS | 73411-05001 | 1 SET | |
| 5 | JAW SPREADER | 07220-06302 | 1 | |
| 6 | SPRING | 07220-06305 | 1 | |
| 7 | SPRING GUIDE | 07220-06301 | 1 | |
| 8 | DUST COVER | 07220-02108 | 1 | |
| AVDELOK® | |||||||
![]()
| DESCRIPTION | ANVIL | CHUCK COLLET | CHUCK JAWS | SPRING GUIDE | SPRING | SPACER |
| NOSE ASSY | 1 | 2 | 3 | 4 | 5 | 6 | |
| 07200- | 07200- | 07200- | 07200- | 07200- | 07200- | – | |
| 02500 | 02501 | 02101 | 02102 | 02104 | 02103 | ||
| 07200- | 07200- | 07200- | 07200- | 07200- | 07200- | – | |
| 02600 | 02601 | 02201 | 02302 | 02104 | 02103 | ||
| 07200- | 07200- | 07200- | 07200- | 07200- | 07200- | – | |
| 02700 | 02701 | 02101 | 02102 | 02104 | 02103 | ||
| 07200- | 07200- | 07200- | 07200- | 07200- | 07200- | – | |
| 02800 | 02801 | 02201 | 02302 | 02104 | 02103 | ||
| 07200- | 07200- | 07200- | 07200- | 07200- | 07200- | – | |
| 03300 | 03301 | 03302 | 02302 | 02104 | 02103 | ||
| 07200- | 07200- | 07200- | 07200- | 07200- | 07200- | – | |
| 03500 | 03501 | 02201 | 02302 | 02104 | 02103 | ||
| 07200- | 07200- | 07200- | 07200- | 07200- | 07200- | – | |
| 02000 | 02001 | 02002 | 02003 | 02603 | 02605 | ||
| 07200- | 07200- | 07200- | 07200- | 07200- | 07200- | 07200- | |
| 02700 | 02601 | 02701 | 02606 | 02603 | 02605 | 02604 | |
| 07200- | 07200- | 07200- | 07200- | 07200- | 07200- | 07200- | |
| 03400 | 03401 | 03402 | 02606 | 02603 | 02605 | 02604 | |
| 07200- | 07200- | 07200- | 07200- | 07200- | 07200- | – | |
| 03500 | 03501 | 03502 | 02003 | 02603 | 02605 | ||
| 07200- | 07200- | 07200- | 07200- | 07200- | 07200- | 07200- | |
| 05600 | 05401 | 02701 | 02606 | 02603 | 02605 | 02604 | |
| MAXLOK® 07610-02000 & 07610-02100 | |||||
![]() Anvils are stamped “3/16M” or “1/4M” to aid identification | ITEM | DESCRIPTION | 07610-02000 PART No | 07610-02000 PART No | QTY |
| 1 | ANVIL | 07610-02001 | 07610-02101 | 1 | |
| 2 | CHUCK COLLET | 07610-02002 | 07610-02102 | 1 | |
| 3 | CHUCK JAWS | 07610-02003 | 07610-02103 | 1 SET | |
| 4 | SPRING | 07610-02107 | 07610-02107 | 1 | |
| 5 | SPRING GUIDE | 07220-02104 | 07220-02104 | 1 | |
| 6 | FRICTION RING | 07610-02004 | 07610-02004 | 1 | |
NOSE ASSEMBLIES
Selection Tables for Monobolt®, Avdelok®, Avtainer®, Maxlok® and Hemlok®
| HEMLOK® 07612-02000 | ||||
![]()
| ITEM | DESCRIPTION | PART No | QTY |
| 1 | NOSE TIP | 07612-02001 | 1 | |
| 2 | JAW HOUSING | 07612-02003 | 1 | |
| 3 | JAWS | 07612-02002 | 1 SET | |
| 4 | JAW SPREADER | 07498-04502 | 1 | |
| 5 | BUFFER | 07498-03003 | 1 | |
| 6 | LOCKING RING | 07340-00327 | 1 | |
| 7 | SPRING | 07500-00418 | 1 | |
| 8 | NOSE CASING | 07340-00306 | 1 | |
SERVICE INSTRUCTIONS
Nose assemblies should be serviced at weekly intervals.
- Remove the complete nose assembly using the reverse procedure to the ‘Fitting instructions’.
- Any worn or damaged part should be replaced by a new part.
- Particularly check wear on jaws.
- Ensure Jaw Spreader 7 assembly tube (where fi tted) or Front Spring Guide 6 is not distorted.
- Check Spring 9 is not distorted.
- Assemble according to fi tting instructions.
- Item numbers in bold refer to the Nose Assembly drawing on page 11.
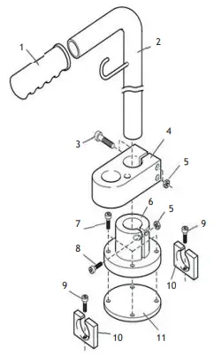
ACCESSORIES
ACCESSORIES
This kit enables easier handling of the cabinet around the workplace and allows the tool pistol to be stored in a convenient position.
| 07265-09500 PARTS LIST | ||||
| ITEM | PART Nº | – | ||
| 1 | 07265-09501 | RUBBER HANDLE | 1 | – |
| 2 | 07265-09502 | TUBE WITH HOOK | 1 | – |
| 3 | 07265-09504 | M5 BOLTS | 2 | – |
| 4 | 07265-09503 | HOLSTER | 1 | – |
| 5 | 07265-09505 | M5 NUTS | 3 | – |
| 6 | 07265-09508 | BASE | 1 | – |
| 7 | 07265-09507 | M5 BOLT | 4 | – |
| 8 | 07265-09506 | M5 BOLT | 1 | – |
| 9 | 07265-09512 | M5 BOLT | 2 | – |
| 10 | 07265-09511 | CLIPS | 2 | – |
| 11 | 07265-09509 | PLATE | 1 | – |

SIDE EJECTION ADAPTOR
When fitted between the tool and the nose assembly, this accessory forces fastener stems to eject at the front of the tool. Choose the correct part number according to the stem diameter of the fastener.
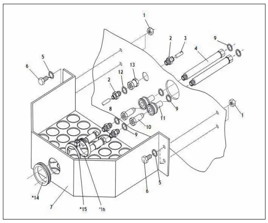
QUICK CONNECT KIT
This kit enables rapid connection of the handle and hose to the cabinet.
Parts List of Quick Connect Kit 07267-01250
| 07267-01250 PARTS LIST | ||||
| ITEM | PART Nº | DESCRIPTION | QTY | SPARES |
| 1 | 07265-03206 | NUT | 4 | – |
| 2 | 07265-03269 | CONNECTION | 4 | – |
| 3 | 07265-03295 | AIR HOSE EXTENSION | 1 | – |
| 4 | 07265-09296 | OIL HOSE EXTENSION | 2 | – |
| 5 | 07265-03204 | WASHER | 4 | – |
| 6 | 07265-03205 | SCREW | 4 | – |
| 7 | 07265-03275 | TRAY | 1 | – |
| 8 | 07267-01022 | NIPPLE | 2 | – |
| 9 | 07265-02031 | WASHER | 6 | – |
| 10 | 07265-03278 | QUICK FITTING NIPPLE | 2 | – |
| 11 | 07267-03277 | QUICK FITTING COUPLER | 2 | – |
| 12 | 07265-03272 | WASHER | 1 | – |
| 13 | 07265-03221 | CONNECTOR | 2 | – |
| * 14 | 07267-03251 | RUBBER RING | 1 | – |
| * 15 | 07267-03252 | SPACER WASHER | 1 | – |
| * 16 | 07265-03292 | CLAMP | 1 | –
|
- These items are part of the Base Tool and are not part of the Quick Connect Kit
SERVICING THE TOOL
- Regular servicing should be carried out and a comprehensive inspection performed annually or every 500000 cycles, whichever is sooner.
- CAUTION – Never use solvents or other harsh chemicals for cleaning the non-metallic parts of the tool. These chemicals may weaken the materials used in these parts.
- CAUTION – Before maintenance, remove any dangerous substances that may have accumulated due to work processes.
- CAUTION – The employer is responsible for ensuring that tool maintenance instructions are given to the appropriate personnel.
- CAUTION – The operator should not be involved in maintenance or repair of the tool unless properly trained.
- CAUTION – The tool shall be examined regularly for damage and malfunction.
- CAUTION – Read Safety Instructions on page 4 to 6.
DAILY SERVICING
- Daily, before use or when fi rst putting the tool into service, pour a few drops of clean, light lubricating oil into the air inlet of the tool if no lubricator is fi tted on air supply. If the tool is in continuous use, the air hose should be disconnected from the main air supply and the tool lubricated every two to three hours.
- Check for air leaks. If damaged, hoses and couplings should be replaced by new items.
- If there is no fi lter on the pressure regulator, bleed the air line to clear it of accumulated dirt or water before connecting the air hose to the tool. If there is a fi lter, drain it.
- Check that the nose equipment is correct.
- Check oil level in intensifi er’s reservoir. If necessary top up with the prescribed priming oil.
WEEKLY SERVICING
- Dismantle and clean nose assembly, with special attention to the jaws. Lubricate with Moly Lithium grease EP 3753 before assembling.
- Check for oil leaks and air leaks in the air supply hose and fi ttings.
- For all servicing we recommend the use of the service kit (part number 07900-02670).
SERVICE KIT
| Service Kit 07900-02670 | ||
| Part Number/Description/Qty | ||
| 07900-00589 | SPREADER | 1 |
| 07900-00590 | PUSHER | 1 |
| 07900-00591 | BULLET | 1 |
| 07900-00592 | GAUGE | 1 |
MAINTENANCE
Every 500,000 cycles the tool should be completely dismantled and components replaced where worn, damaged or when recommended. All ‘O’ rings and seals should be replaced with new ones and lubricated with Moly Lithium Grease EP3753 before assembling.
- WARNING – Read Safety Instructions on page 4 to 6.
- WARNING – The employer is responsible for ensuring that tool maintenance instructions are given to the appropriate personnel.
- WARNING –The operator should not be involved in maintenance or repair of the tool unless properly trained.
- WARNING –The tool shall be examined regularly for damage and malfunction.
- Item numbers in bold refer to the General Assembly and Parts List on pages 22 and 23.
- The airline must be disconnected before any servicing or dismantling is attempted unless specifi cally instructed otherwise.
- It is recommended that any dismantling operation be carried out in clean conditions.
- Prior to dismantling the tool it is necessary to remove the nose assembly. For simple removal instructions see the Nose Assemblies section on pages 10 and 11.
- Remove Bleed Screw 18 and Washer 19 from the tool handle and drain oil from tool.
- For total tool servicing we advise that you proceed with dismantling of sub-assemblies in the order shown overleaf.
- To disconnect Oil Hose 26 and Air Hose 27 from the tool handle, lower Sleeve 22 to gain access to the hoses.
- Disconnect air hose by pushing and releasing the quick release connector. Using two spanners, undo oil hose at Connector 21, leaving the connector attached to the tool handle. Remove the tool handle.
- The potentially dangerous substances that could have deposited on the machine as a result of work processes must be removed before maintenance.
STEM CATCHER UNIT
- Item numbers in bold refer to the Stem Catcher Unit drawing on page 19.
- To remove the stem catcher assembly from the tool, loosen three Screws 1 and slide stem catcher Adaptor 8 together with the stem catcher from off of the Stop Cover 3* (*on pages 22 and 23).
- Remove two Screws 2 and separate the stem catcher assembly from stem catcher adaptor.
- Assemble in reverse order of dismantling.
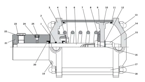
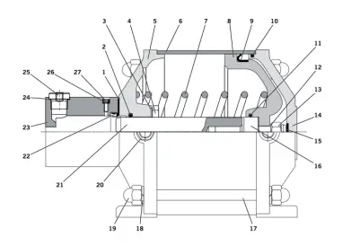
PISTON ASSEMBLY
- Item numbers in bold refer to the General Assembly and Parts List on pages 22 and 23.
- Grip tool Handle 1 in a vice fi tted with soft jaws and, using a spanner on the fl ats of the protrusion on Stop Cover 3, unscrew stop cover, together with ‘O’ Ring 12.
- Remove ‘O ’ R ing 12 from groove on outer diameter of Stop Cover 3 and remove Seal 11 from inner diameter.
- Using circlip pliers, remove Circlip 17 from Piston 2 and withdraw Defl ector Support 4 and Spring 5.
- Push Piston 2 out of rear of tool (some oil will be ejected from tool during this action).
- Using circlip pliers, remove Circlip 16 from tool handle and remove Lip Seal 10.
- Remove ‘O ’ R ing 14 and Graphite Ring 13 from Piston 2.
- Assemble in reverse order of dismantling, ensuring that Seals 10, 11, 14 and Graphite Ring 13 are assembled the correct way round as shown on page 21.
- Use piston insertion tool* to install the piston.
TRIGGER ASSEMBLY
- Item numbers in bold refer to the General Assembly drawing and Parts List on pages 22-23.
- Using a spanner, undo Locknut 7 and remove Trigger 6, ‘O’ Ring 15 and Spring 8 from Handle 1.
- Assemble in reverse order of dismantling.
CABINET
- Item numbers in bold refer to the General Assembly drawing and Parts List on page 23.
- The cabinet comprises two Intensifi ers 4 and 25, a pilot Valve 23, a Pressure Regulator and Filter Assembly 45 and an Air Pressure Indicating Assembly 53 together with the air hoses internal to the cabinet.
- Servicing is limited to removal/replacement of complete assemblies and the renewal of seals within the pilot valve.
- To dismantle the cabinet it is necessary to extract the Base Plate 61 and the components installed on it. This is possible after disconnecting all hoses and removing items restricting the withdrawal of the base plate.
- Item included in the service kit.
PUSH AND PULL INTENSIFIERS
- Item numbers in bold refer to the General Assembly drawing and Parts List on pages 25-26.
- To remove Intensifi ers 4, 25 and Oil Reservoir 36, disconnect the oil hose using two spanners, (be prepared for oil spillage from hose/ intensifi er), then remove the hoses (quick release connectors) connecting the intensifi er to the pilot valve.
- Using a spanner, remove the two nuts and associated washers securing the intensifi er to the base plate.
- Lift intensifi er clear of cabinet.
- Replacement is in reverse order of removal.
- CAUTION – Check the tool against daily and weekly servicing
- CAUTION – Priming is ALWAYS necessary after the tool has been dismantled and prior to operating.
- PRESSURE REGULATOR AND FILTER ASSEMBLY
- To remove the Pressure Regulator and Filter Assembly 45 from the cabinet, disconnect the two Air Hoses 59 and 63 at the regulator.
- Remove the two screws, spacers, washers and nuts securing the regulator to the cabinet.
- Remove assembly from the cabinet.
- Replacement is in reverse order of removal.
- CAUTION –The pressure regulator in the cabinet is set to 5.25 bar.
- CAUTION – The pressure regulator must not be adjusted under any circumstances.
- CAUTION – The safety valve in the cabinet is set to 5.25 – 5.30 bar.
- CAUTION – The safety valve must not be adjusted under any circumstances.
AIR PRESSURE INDICATOR ASSEMBLY
- Item numbers in bold refer to the General Assembly drawing and Parts List on page 17.
- To remove the Air Pressure Indicator Assembly 53, remove the air hose from the rear of the gauge.
- Remove the clamp from the rear of the gauge and withdraw gauge from front of the cabinet.
- Replacement is in reverse order of removal.
- After any dismantling/assembling has occurred, the system MUST be primed.
MOLY LITHIUM GREASE EP 3753 SAFETY DATA
- CAUTION – Never use solvents or other harsh chemicals for cleaning the non-metallic parts of the tool. These chemicals may weaken the materials used in these parts
- Grease can be ordered as a single item, the part number is shown in the Service Kit below.
First Aid
- SKIN:
- As the grease is completely water resistant, it is best removed with an approved emulsifying skin cleaner.
- INGESTION:
- Ensure the individual drinks 30ml Milk of Magnesia, preferably in a cup of milk.
- EYES:
- Irritant but not harmful. Irrigate with water and seek medical attention.
- Fire
- FLASH POINT: Above 220°C.
- Not classifi ed as fl ammable.
- Suitable extinguishing media: CO2, Halon or water spray if applied by an experienced operator.
- Environment
- Scrape up for burning or disposal on approved site.
PROTECTING THE ENVIRONMENT
- Assure conformity with applicable disposal regulations. Dispose all waste products at an approved waste facility or site so as not to expose personnel and the environment to hazards.
GENERAL ASSEMBLIES
GENERAL ASSEMBLY OF HANDLE AND UMBILICAL General Assembly of Handle 07287 – 01000
PARTS LIST FOR 07287-01000
| 07287-01000 HANDLE ASSEMBLY PARTS LIST | |||||||||
| ITEM | PART No | DESCRIPTION | QTY | SPARES | ITEM | PART No | DESCRIPTION | QTY | SPARES |
| 1 | 07287-01001 | HANDLE | 1 | – | 14 | 07267-01014 | ‘O’ RING | 1 | – |
| 2 | 07287-01002 | PISTON | 1 | – | 15 | 07555-00502 | ‘O’ RING | 1 | – |
| 3 | 07287-01003 | STOP COVER | 1 | – | 16 | 07267-01016 | CIRCLIP | 1 | – |
| 4 | 07267-01004 | DEFLECTOR SUPPORT | 1 | – | 17 | 07267-01017 | CIRCLIP | 1 | – |
| 5 | 07267-01005 | SPRING | 1 | – | 18 | 07265-02010 | BLEED SCREW | 2 | – |
| 6 | 07265-03023 | TRIGGER | 1 | – | 19 | 07265-02011 | WASHER | 2 | – |
| 7 | 07265-03022 | LOCKNUT | 1 | – | 20 | 07265-02031 | WASHER | 2 | – |
| 8 | 07555-09219 | SPRING | 1 | – | 21 | 07267-01022 | CONNECTOR | 2 | – |
| 9 | 07287-00215 | STEM DEFLECTOR | 1 | – | 22 | 07267-01025 | SLEEVE | 1 | – |
| 10 | 07267-01010 | LIP SEAL | 1 | – | 23 | 73200-02040 | FIXED ADAPTOR | 1 | – |
| 11 | 07267-01011 | SEAL | 1 | – | 24 | 07287-01004 | AIR CONNECTOR | 1 | – |
| 12 | 07267-01012 | ‘O’ RING | 1 | – | 25 | 07287-01105 | GRUB SCREW | 1 | |
| 13 | 07267-01013 | GRAPHITE RING | 1 | – | 30 | 07220-00407 | THRUST WASHER (Option) | 1 | – |
| 31 | 07220-01500 | HEAD EXTENSION (Option) | 1 | – | |||||
PARTS LIST FOR 07287-01300 (3m) 07287-01500 (5m)
| 07287-01300 PARTS LIST (3m) | |||||||||
| ITEM | PART No | DESCRIPTION | QTY | SPARES | ITEM | PART No | DESCRIPTION | QTY | SPARES |
| 26 | 07267-01301 | 3m OIL HOSE | 2 | – | 28 | 07267-01302 | 3m PROTECTIVE SLEEVE (Textile) | 1 | – |
| 27 | 07265-02021 | 3m AIR HOSE | 1 | – | 29 | 07287-01303 | LANYARD (3m) | 1 | – |
| 07287-01500 PARTS LIST (5m) | |||||||||
| ITEM | PART No | DESCRIPTION | QTY | SPARES | ITEM | PART No | DESCRIPTION | QTY | SPARES |
| 26 | 07267-01501 | 5m OIL HOSE | 2 | – | 28 | 07267-01502 | 5m PROTECTIVE SLEEVE (Textile) | 1 | – |
| 27 | 07265-02063 | 5m AIR HOSE | 1 | – | 29 | 07287-01503 | LANYARD (5m) | 1 | – |
GENERAL ASSEMBLY OF CABINET 07287-03200
| 07287-03200 CABINET PARTS LIST | |||||||||
| ITEM | PART Nº | DESCRIPTION | QTY | SPARES | ITEM | PART Nº | DESCRIPTION | QTY | SPARES |
| 1 | 07267-03224 | SCREW | 2 | – | 38 | 07267-03209 | CONNECTOR | 1 | – |
| 2 | 07265-03259 | WASHER | 4 | – | 39 | 07267-03262 | ELBOW CONNECTOR | 2 | – |
| 3 | 07267-03227 | DISTRIBUTOR | 1 | – | 40 | 07267-03263 | BUSH | 1 | – |
| 4 | 07005-10112 | INTENSIFIER | 1 | – | 41 | 07267-03264 | AIR TUBE | 1 | – |
| 5 | 07265-02267 | BOLT | 2 | – | 42 | 07265-03253 | CONNECTOR | 2 | – |
| 6 | 07625-02268 | WASHER | 2 | – | 43 | 07265-02076 | CLAMP | 2 | – |
| 7 | 07265-02269 | NUT | 2 | – | 44 | 07265-03219 | AIR HOSE (2500mm) | 1 | – |
| 8 | 07265-03260 | CONNECTOR | 1 | – | 45 | 07265-03220 | PRESSURE REG & FILTER ASSY | 1 | – |
| 9 | 07265-03263 | SILENCER | 2 | – | 46 | 07265-03256 | ELBOW CONNECTOR | 1 | – |
| 10 | 07265-03225 | QUICK EXHAUST | 2 | – | 47 | 07265-03257 | ELBOW CONNECTOR | 1 | – |
| 11 | 07265-03261 | WASHER | 5 | – | 48 | 07267-03251 | RING | 1 | – |
| 12 | 07267-03204 | HOSE CONNECTOR | 2 | – | 49 | 07267-03252 | WASHER | 1 | – |
| 13 | 07267-03226 | ELBOW CONNECTOR | 2 | – | 50 | 07265-03292 | CLAMP | 1 | – |
| 14 | 07265-02031 | WASHER | 2 | – | 51 | 07267-03212 | OIL FILTER | 1 | – |
| 15 | 07265-03202 | HANDLE | 2 | – | 52 | 07265-03255 | ELBOW CONNECTOR | 1 | – |
| 16 | 07265-02284 | WASHER | 6 | – | 53 | 07265-03254 | AIR PRESSURE INDICATOR ASSY | 1 | – |
| 17 | 07265-02283 | SCREW | 4 | – | 54 | 07265-03231 | SCREW | 4 | – |
| 18 | 07267-03208 | PLUG | 2 | – | 55 | 07265-03232 | WASHER | 4 | – |
| 19 | 07265-03270 | SILENCER | 2 | – | 56 | 07265-03205 | SCREW | 8 | – |
| 20 | 07265-03271 | STRAIGHT CONNECTOR | 4 | – | 57 | 07265-03204 | WASHER | 8 | – |
| 21 | 07265-03222 | SUB BASE | 2 | – | 58 | 07265-03201 | BOX (inc. KEY) | 1 | – |
| 22 | 07265-03266 | SCREW | 3 | – | 59 | 07265-03216 | 6mm AIR HOSE (270mm) | 1 | – |
| 23 | 07005-01524 | VALVE | 1 | – | 60 | 07265-03215 | 10mm AIR HOSE (100mm) | 1 | – |
| 24 | 07265-03268 | WASHER | 2 | – | 61 | 07265-03230 | BASE PLATE | 1 | – |
| 25 | 07005-10113 | INTENSIFIER | 1 | – | 62 | 07265-03203 | WHEEL | 2 | – |
| 26 | 07267-03221 | CONNECTOR | 1 | – | 63 | 07267-03268 | 10mm AIR HOSE (450mm) | 3 | – |
| 27 | 07267-03222 | DISTRIBUTOR | 1 | – | 64 | 07265-03207 | WHEEL | 2 | – |
| 28 | 07267-03213 | OIL RESERVOIR PLUG | 1 | – | 65 | 07267-03265 | OIL HOSE (400mm) | 2 | – |
| 29 | 07267-03215 | OIL RESERVOIR BASE | 1 | – | 66 | 07267-03266 | OIL HOSE (200mm) | 1 | – |
| 30 | 07267-03219 | NUT | 2 | – | 67 | 07267-03267 | OIL HOSE | 1 | NOT SHOWN |
| 31 | 07267-03217 | SPACER | 2 | – | 68 | 07267-03271 | 10mm AIR HOSE | 1 | NOT SHOWN |
| 32 | 07267-03218 | WASHER | 2 | – | 69 | 07267-03272 | 6mm AIR HOSE | 1 | NOT SHOWN |
| 33 | 07267-03216 | BOLT | 2 | – | 70 | 07265-03272 | WASHER | 5 | NOT SHOWN |
| 34 | 07267-03211 | CLAMP | 6 | – | 71 | 07265-03273 | WASHER | 8 | NOT SHOWN |
| 35 | 07267-03210 | HOSE CONNECTOR | 4 | – | 72 | 07265-03206 | NUT | 8 | NOT SHOW |
| 36 | 07267-03214 | OIL RESERVOIR | 1 | – | 73 | 07287-03280 | SAFETY VALVE | 1 | – |
| 37 | 07267-03207 | OIL DISTRIBUTOR | 1 | – | 74 | 07287-03281 | ‘T’ CONNECTOR | 1 | – |
GENERAL ASSEMBLY OF PUSH INTENSIFIER 07005 -10113
Parts List of Push Intensifier 07005 -10113
| 07005-10113 PUSH INTENSIFIER PARTS LIST | |||||||||
| ITEM | PART No | DESCRIPTION | QTY | SPARES | ITEM | PART No | DESCRIPTION | QTY | SPARES |
| 1 | 07267-08119 | SEAL | 4 | – | 14 | 07267-08015 | LOCKNUT | 1 | – |
| 2 | 07267-08104 | SEAL | 1 | – | 15 | 07267-08116 | REAR FLANGE | 1 | – |
| 3 | 07267-08107 | FRONT FLANGE | 1 | – | 16 | 07267-08130 | ROD EXTENSION | 1 | – |
| 4 | 07267-08125 | WASHER | 4 | – | 17 | 07267-08114 | TENSION ROD | 4 | – |
| 5 | 07267-08106 | SCREW | 4 | – | 18 | 07267-08126 | SPRING WASHER | 8 | – |
| 6 | 07267-08109 | ROD | 1 | – | 19 | 07267-08122 | FILTER | 1 | – |
| 7 | 07287-08134 | SPRING | 1 | – | 20 | 07267-08103 | SEAL | 1 | – |
| 8 | 07267-08133 | SPRING GUIDE | 1 | – | 21 | 07267-08102 | STEEL HEAD | 1 | – |
| 9 | 07267-08117 | PNEUMATIC CYLINDER | 1 | – | 22 | 07267-08128 | WASHER | 1 | – |
| 10 | 07267-08110 | PISTON | 1 | – | 23 | 07267-08101 | PLUG | 1 | – |
| 11 | 07267-08112 | SEAL | 2 | – | 24 | 07267-08123 | WASHER | 1 | – |
| 12 | 07267-08031 | WASHER | 1 | – | 25 | 07267-08121 | BLEED SCREW | 1 | – |
| 13 | 07267-08113 | BLIND NUT | 8 | – | 26 | 07267-08135 | FILTER | 1 | NOT SHOWN |
GENERAL ASSEMBLY OF PULL INTENSIFIER 07005 – 10112 
Parts List of Pull Intensifier 07005-10112
| 07005-10112 PULL INTENSIFIER PARTS LIST | |||||||||
| ITEM | PART No | DESCRIPTION | QTY | SPARES | ITEM | PART No | DESCRIPTION | QTY | SPARES |
| 1 | 07267-08019 | SEAL | 4 | – | 15 | 07267-08035 | SHOCK ABSORBER | 1 | – |
| 2 | 07287-08004 | SEAL | 1 | – | 16 | 07267-08032 | ROD EXTENSION | 1 | – |
| 3 | 07267-08022 | WASHER | 4 | – | 17 | 07287-08014 | TENSION ROD | 4 | – |
| 4 | 07267-08006 | SCREW | 4 | – | 18 | 07267-08026 | SPRING WASHER | 8 | – |
| 5 | 07287-08007 | FRONT FLANGE | 1 | – | 19 | 07267-08013 | BLIND NUT | 8 | – |
| 6 | 07287-08017 | PNEUMATIC CYLINDER | 1 | – | 20 | 07267-08033 | FILTER | 1 | – |
| 7 | 07287-08008 | SPRING | 1 | – | 21 | 07287-08009 | ROD | 1 | – |
| 8 | 07267-08010 | PISTON | 1 | – | 22 | 07287-08003 | SEAL | 1 | – |
| 9 | 07267-08011 | PISTON SEAL | 1 | – | 23 | 07287-08002 | STEEL HEAD | 1 | – |
| 10 | 07267-08012 | SEAL | 2 | – | 24 | 07267-08030 | WASHER | 1 | – |
| 11 | 07267-08020 | SEAL | 1 | – | 25 | 07267-08029 | PLUG | 1 | – |
| 12 | 07267-08031 | WASHER | 1 | – | 26 | 07267-08034 | WASHER | 1 | – |
| 13 | 07267-08015 | LOCKNUT | 1 | – | 27 | 07267-08021 | BLEED SCREW | 1 | – |
| 14 | 07267-08016 | REAR FLANGE | 1 | – | – | ||||
PRIMING
- Priming is ALWAYS necessary after the tool has been dismantled and prior to operating. It may also be necessary to restore the full stroke after considerable use, when the stroke may be reduced and fasteners are not fully placed by one operation of the trigger.
- OIL DETAILS
- The recommended oil for priming is Hyspin® VG32 available in 0.5l (part number 07992-00002) or one gallon containers
(part number 07992-00006). Please see safety data below. - HYSPIN® VG 32 OIL SAFETY DATA
- First Aid
- SKIN:
Wash thoroughly with soap and water as soon as possible. Casual contact requires no immediate attention. Short-term contact requires no immediate attention.
INGESTION:
Seek medical attention immediately. DO NOT induce vomiting.
EYES:
Irrigate immediately with water for several minutes. Although NOT a primary irritant, minor irritation may occur following contact.
Fire
Flash point 232°C. Not classifi ed as fl ammable.
Suitable extinguishing media: CO2, dry powder, foam or water fog. DO NOT use water jets.
Environment
WASTE DISPOSAL: Through authorized contractor to a licensed site. May be incinerated. Used product may be sent for reclamation. SPILLAGE: Prevent entry into drains, sewers and water courses. Soak up with absorbent material.
Handling
Wear eye protection, impervious gloves (e.g. of PVC) and a plastic apron. Use in well-ventilated area.
Storage
No special precautions.
PRIMING PROCEDURE
- CAUTION – CONNECT AIR SUPPLY (this causes the piston to bottom, allowing more priming oil into the tool).
- CAUTION – DO NOT OPERATE THE TRIGGER WHILE THE BLEED SCREW IS REMOVED.
- CAUTION – All operations should be carried out on a clean bench, with clean hands, in a clean area. CAUTION – Care MUST be taken, at all times, to ensure that no foreign matter enters the tool, or serious damage may result.
- Item numbers in bold refer to the General Assembly of Handle and Parts List on pages 21-22.
- Prior to starting the priming procedure, obtain a suitable container to collect excess oil.
- Disconnect the air supply and undo the intensifi er oil reservoir cap.
- Top up the reservoir in the cabinet with VG32 Hyspin® priming oil to a level of 20 mm (0.8”) below top of the reservoir.
- Remove Bleed Screw 18 and associated Washer 19 from front of tool.
- Connect the tool to the air supply.
- CARE SHALL BE TAKEN TO ENSURE THAT THE BLEED HOLES ARE NOT DIRECTED TOWARDS THE OPERATOR OR OTHER PERSONNEL.
- Place tool handle over the container with bleed hole orientated towards the container and operate the trigger.
- When oil is ejected from the bleed hole, release the trigger.
- Operate trigger again, replace Bleed Screw 18 and Washer 19 at front of tool BEFORE releasing trigger again.
- Disconnect tool from air supply.
- Remove Bleed Screw 18 and Washer 19 from rear of tool.
- Connect tool to air supply.
- Cycle the trigger until oil is ejected from the bleed hole. Release the trigger and replace the Bleed Screw 18 and Washer 19 at the rear of the tool.
- Repeat the trigger operating/releasing sequence, allowing a few seconds between cycles to allow priming oil to circulate.
- Continue until oil fl owing from both bleed holes is free of air bubbles, (ensure that the reservoir is not starved of oil, otherwise air will be drawn into the system introducing air bubbles in the oil stream).
- When air free oil is fl owing from both bleed holes, operate the trigger and tighten the front bleed screw with an Allen key. Release the trigger and tighten the rear bleed screw with an Allen key.
- If necessary, top up the oil reservoir.
ALTERNATIVE PRIMING PROCEDURE
- CAUTION – CONNECT AIR SUPPLY (this causes the piston to bottom, allowing more priming oil into the tool).
- CAUTION – All operations should be carried out on a clean bench, with clean hands, in a clean area.
- CAUTION – Care MUST be taken, at all times, to ensure that no foreign matter enters the tool, or serious damage may result.
- Item numbers in bold refer to the General Assembly of Handle and Parts List on pages 21 and 22, item number 28* refers to the General Assembly of Cabinet and Parts List on pages 23and 24.
- Prior to starting the priming procedure, obtain a suitable container to collect excess oil.
- Disconnect the air supply and undo the intensifi er Oil Reservoir Plug 28*.
- Top up the reservoir in the cabinet with VG32 Hyspin® priming oil to a level of 20 mm (0.8”) below top of the reservoir.
If the oil hoses are changed, prime them before connecting, as follows:
- Disconnect the air supply.
- Place the oil tank in a higher position than the tool.
- In that position, unscrew the Bleed Screws 18 and Washers 19 until the oil fl ows under gravity.
- Once the oil starts to fl ow from one of the bleed holes, close it by tightening the screw. Wait until the oil fl ows from the other bleed hole, then close this as well.
In other cases, prime as below:
- CARE SHALL BE TAKEN TO ENSURE THAT THE BLEED HOLES ARE NOT DIRECTED TOWARDS THE OPERATOR OR OTHER PERSONNEL.
- Connect the tool to the air supply.
- Keeping the trigger pressed, slightly loosen the Bleed Screw 18 (the closest to the front of the tool) until oil begins to fl ow.
- Keep the trigger pressed until there is no air in the oil, then tighten the Bleed Screw 18.
- Release the trigger.
- Repeat the last three steps, with intervals of several seconds, to ensure that clean oil circulates and all air is removed.
- The hydraulic circuit for the pull side is now free of air. The following removes air from the hydraulic circuit on the return side.
- Keep the tool connected to the air.
- Without pressing the trigger (the return hydraulic circuit already has pressure), slightly loosen the Bleed Screw 18 from the rear of the tool until oil begins to fl ow.
- When there is no air in the oil, tighten the Bleed Screw 18.
- Operate trigger.
- Repeat the last three steps, with intervals of several seconds, to ensure that clean oil circulates and all air is removed.
- Ensure that the oil reservoir is not starved of oil, otherwise air will be drawn into the system.
- If necessary, refi ll the oil reservoir up to the level as indicated before.
- To verify that the tool is correctly primed, measure the stroke. The piston stroke should be approximately 32mm and the piston should always return fully.
FAULT DIAGNOSIS
SYMPTOM POSSIBLE CAUSE AND REMEDY
Other symptoms or failures should be reported to your local Avdel® authorized distributor or repair centre.
EC DECLARATION OF CONFORMITY
We, Stanley Engineered Fastening, Stanley House, Works Road, Letchworth Garden City, Hertfordshire, SG6 1JY UNITED KINGDOM, declare under our sole responsibility that the product:
- Description: 7287 Hydro-Pneumatic Tool for Structural Blind Rivets
- Model: 7287
- to which this declaration relates is in conformity with the following designated standards:
| ISO 12100:2010 | EN ISO 3744:2010 |
| EN ISO 11202:2010 | EN ISO 11148-1:2011 |
| EN ISO 4413:2010 | BS EN 28662-1:1993 |
| EN ISO 4414:2010 | EN ISO 20643:2008+A1:2012 |
| EN ISO 28927-5:2009+A1:2015 | ES100118-rev 17:2017 |
- Technical documentation is compiled in accordance with Annex VII, in accordance with the following Directive: 2006/42/EC The Machinery Directive (Statutory
- Instruments 2008 No 1597 – The Supply of Machinery (Safety) Regulations refers).
- The undersigned makes this declaration on behalf of STANLEY Engineered Fastening

- A. K. Seewraj
- Director of Engineering, UK
- Avdel UK Limited, Stanley House, Works Road, Letchworth Garden City, Hertfordshire, SG6 1JY UNITED KINGDOM
- Place of Issue: Letchworth Garden City, UK
- Date of Issue: 01-01-2012
- The undersigned is responsible for compilation of the technical fi le for products sold in the European Union and makes this declaration on behalf of Stanley Engineered Fastening.
- Matthias Appel
- Team Leader Technical Documentation
- Stanley Engineered Fastening, Tucker GmbH, Max-Eyth-Str.1,
- 35394 Gießen, Germany
- This machinery is in conformity with
- Machinery Directive 2006/42/EC
UK DECLARATION OF CONFORMITY
- We, Stanley, Engineered Fastening, Stanley House, Works Road, Letchworth Garden City, Hertfordshire, SG6 1JY
- UNITED KINGDOM, declare under our sole responsibility that the product:
- Description: 7287 Hydro-Pneumatic Tool for Structural Blind Rivets
- Model: 7287 to which this declaration relates is in conformity with the following designated standards:
| ISO 12100:2010 | EN ISO 3744:2010 |
| EN ISO 11202:2010 | EN ISO 11148-1:2011 |
| EN ISO 4413:2010 | BS EN 28662-1:1993 |
| EN ISO 4414:2010 | EN ISO 20643:2008+A1:2012 |
| EN ISO 28927-5:2009+A1:2015 | ES100118-rev 17:2017 |
- Technical documentation is compiled in accordance with the Supply of Machinery (Safety) Regulations 2008, S.I. 2008/1597 (as amended).
- The undersigned makes this declaration on behalf of STANLEY Engineered Fastening
- A. K. Seewraj
- Director of Engineering, UK
- Avdel UK Limited, Stanley House, Works Road, Letchworth Garden City, Hertfordshire, SG6 1JY UNITED KINGDOM
- Place of Issue: Letchworth Garden City, UK
- Date of Issue: 01-01-2012
- This machinery is in conformity with
- Supply of Machinery (Safety) Regulations 2008, S.I. 2008/1597 (as amended)
- PROTECT YOUR INVESTMENT!
Stanley® Engineered Fastening BLIND RIVET TOOL WARRANTY
STANLEY® Engineered Fastening warrants that all power tools have been carefully manufactured and that they will
be free from defect in material and workmanship under normal use and service for a period of one (1) year.
This warranty applies to the fi rst time purchaser of the tool for original use only.
Exclusions: - Normal wear and tear.
- Periodic maintenance, repair and replacement parts due to normal wear and tear are excluded from coverage.
Abuse & Misuse. - Defect or damage that results from improper operation, storage, misuse or abuse, accident or neglect, such as physical damage are excluded from coverage.
Unauthorized Service or Modification. - Defects or damages resulting from service, testing adjustment, installation, maintenance, alteration or modifi cation in any way by anyone other than STANLEY® Engineered Fastening, or its authorized service centres, are excluded from coverage.
- All other warranties, whether expressed or implied, including any warranties of merchantability or fi tness for purpose are hereby excluded.
- Should this tool fail to meet the warranty, promptly return the tool to our factory-authorized service centre location nearest
- you. For a list of STANLEY® Authorized Service Centres in the US or Canada, contact us at our toll free number (877)364 2781.
- Outside the US and Canada, visit our website www.StanleyEngineeredFastening.com to fi nd your nearest STANLEY
Engineered Fastening location. - STANLEY Engineered Fastening will then replace, free of charge, any part or parts found by us to be defective due to faulty material or workmanship, and return the tool prepaid. This represents our sole obligation under this warranty. In no event shall STANLEY Engineered Fastening be liable for any consequential or special damages arising out of the purchase or use of
this tool. - Register Your Blind Rivet Tool online.
- To register your warranty online, visit us at
- http://www.stanleyengineeredfastening.com/support/warranty-registration-form
- Thank you for choosing a STANLEY® Engineered Fastening’s Stanley Assembly Technologies Brand tool.
- STANLEY Engineered Fastening
- STANLEY House, Works Road
- Letchworth Garden City
- Hertfordshire, United Kingdom
- SG6 1JY
- Tel: +44 1582 900 000
- Fax: +44 1582 900 001
- Holding your world together®
- Find your closest STANLEY Engineered Fastening location on
- www.stanleyEngineeredFastening.com/contact
- For an authorized distributor nearby please check
- www.stanleyEngineeredFastening.com/econtact/distributors
| Manual Number | Issue | C/N |
| 07900-00918_NA | D | 21/092 |
- The Stanley Engineered Fastening division of Stanley Black and Decker is the global leader in precision fastening and assembly solutions. Our industry-leading brands, Avdel°, Integra”, Nelson, Optia”, POP®, Stanley Assembly Technologies, and Tucker, elevate what our customers create.
- Backed by a team of passionate and responsive problem-solvers, we empower engineers who are changing the world.
- STANLEY ENGINEERED FASTEN ING FA MILEY OF BRANDS
- NELSON
- STANLEY
- Assembly Technologies
- AVDEL
- INTEGRA
- OPTION
- POP
- TUCKER
- O2021 Stanley Engineered Fastening. All Rights Reserved.
- stanleyengineere dfastening.com


























