STANLEY AV10 Hydro-Electric Power Tool Instruction Manual
This instruction manual must be read by any person installing or operating this tool with particular attention to the following safety rules.
Always wear impact-resistant eye protection during operation of the tool. The grade of protection required should be assessed for each use.
Use of the tool can expose the operator’s hands to hazards, including crushing, impacts, cuts and abrasions and heat. Wear suitable gloves to protect hands.
Use hearing protection in accordance with employer’s instructions and as required by occupational health and safety regulations
SAFETY DEFINITIONS
The definitions below describe the level of severity for each signal word. Please read the manual and pay attention to these symbols.
DANGER: Indicates an imminently hazardous situation which, if not avoided, will result in death or serious injury.
WARNING: Indicates a potentially hazardous situation which, if not avoided, could result in death or serious injury.
CAUTION: Indicates a potentially hazardous situation which, if not avoided, may result in minor or moderate injury.
CAUTION: Used without the safety alert symbol indicates a potentially hazardous situation which, if not avoided, may result in property damage.
Improper operation or maintenance of this product could result in serious injury and property damage. Read and understand all warnings and operating instructions before using this equipment. When using power tools, basic safety precautions must always be followed to reduce the risk of personal injury.
SAVE ALL WARNINGS AND INSTRUCTIONS FOR FUTURE REFERENCE
GENERAL SAFETY RULES
- For multiple hazards, read and understand the safety instructions before installing, operating, repairing, maintaining, changing accessories on, or working near the tool. Failure to do so can result in serious bodily injury.
- Only qualified and trained operators must install, adjust or use the tool.
- DO NOT use outside the design intent of placing STANLEY Engineered Fastening Blind Rivets.
- Use only parts, fasteners, and accessories recommended by the manufacturer.
- DO NOT modify the tool. Modifications can reduce the effectiveness of safety measures and increase the risks to the operator. Any modification to the tool undertaken by the customer will be the customer’s entire responsibility and void any applicable warranties.
- Do not discard the safety instructions; give them to the operator.
- Do not use the tool if it has been damaged.
- Prior to use, check for misalignment or binding of moving parts, breakage of parts, and any other condition that affects the tool’s operation. If damaged, have the tool serviced before using. Remove any adjusting key or wrench before use.
- Tools shall be inspected periodically to verify that the ratings and markings required by this part of ISO 11148 are legibly marked on the tool. The employer/user shall contact the manufacturer to obtain replacement marking labels when necessary.
- The tool must be maintained in a safe working condition at all times and examined at regular intervals for damage and function by trained personnel. Any dismantling procedure will be undertaken only by trained personnel. Do not dismantle this tool without prior reference to the maintenance instructions.
PROJECTILE HAZARDS
- Disconnect the tool from the hydraulic pump unit before performing any maintenance, attempting to adjust, fit or remove a nose assembly or accessories.
- Be aware that failure of the workpiece or accessories, or even of the inserted tool itself can generate high-velocity projectiles.
- Always wear impact-resistant eye protection during operation of the tool. The grade of protection required should be assessed for each use.
- The risks to others should also be assessed at this time.
- Ensure that the workpiece is securely fixed.
- Check that the means of protection from ejection of fastener and/or mandrel is in place and is operative.
- Warn against the possible forcible ejection of mandrels from the front of the tool.
- DO NOT operate a tool that is directed towards any person(s).
OPERATING HAZARDS
- Use of the tool can expose the operator’s hands to hazards, including crushing, impacts, cuts and abrasions and heat. Wear suitable gloves to protect hands.
- Operators and maintenance personnel shall be physically able to handle the bulk, weight and power of the tool.
- Hold the tool correctly; be ready to counteract normal or sudden movements and have both hands available.
- Keep tool handles dry, clean, and free from oil and grease.
- Maintain a balanced body position and secure footing when operating the tool.
- Release the start-and-stop device in the case of an interruption of the hydraulic supply
- Use only lubricants recommended by the manufacturer.
- Contact with hydraulic fluid should be avoided. To minimise the possibility of rashes, care should be taken to wash thoroughly if contact occurs.
- Material Safety Data Sheets for all hydraulic oils and lubricants is available on request from your tool supplier.
- Avoid unsuitable postures as it is likely for these positions not to allow counteracting of normal or unexpected movement of the tool.
- If the tool is fixed to a suspension device, make sure that the fixation is secure.
- Beware of the risk of crushing or pinching if nose equipment is not fitted.
- DO NOT operate tool with the nose casing removed.
- Adequate clearance is required for the tool operator’s hands before proceeding.
- When carrying the tool from place to place keep hands away from the trigger to avoid inadvertent activation.
- DO NOT abuse the tool by dropping or using it as a hammer.
- Care should be taken to ensure that spent mandrels do not create a hazard.
REPETITIVE MOTIONS HAZARDS
- When using the tool, the operator can experience discomfort in the hands, arms, shoulders, neck or other parts of the body.
- While using the tool, the operator should adopt a comfortable posture whilst maintaining a secure footing and avoiding awkward or off-balance postures. The operator should change posture during extended tasks; this can help avoid discomfort and fatigue.
- If the operator experiences symptoms such as persistent or recurring discomfort, pain, throbbing, aching, tingling, numbness, burning sensations or stiffness, these warning signs should not be ignored. The operator should tell the employer and consult a qualified health professional.
ACCESSORY HAZARDS
- Disconnect the tool from the hydraulic and electrical supply before fitting or removing the nose assembly or accessory.
- Use only sizes and types of accessories and consumables that are recommended by the manufacturer of the tool; do not use other types or sizes of accessories or consumables.
WORKPLACE HAZARDS
- Slips, trips and falls are major causes of workplace injury. Be aware of slippery surfaces caused by use of the tool and also of trip hazards caused by the air line or hydraulic hose.
- Proceed with care in unfamiliar surroundings. There can be hidden hazards, such as electricity or other utility lines.
- The tool is not intended for use in potentially explosive atmospheres and is not insulated against contact with electric power.
- Ensure that there are no electrical cables, gas pipes, etc., which can cause a hazard if damaged by use of the tool.
- Dress properly. Do not wear loose clothing or jewellery. Keep your hair, clothing and gloves away from moving parts. Loose clothes, jewellery or long hair can be caught in moving parts.
- Care should be taken to ensure that spent mandrels do not create a hazard.
NOISE HAZARDS
- Exposure to high noise levels can cause permanent, disabling hearing loss and other problems, such as tinnitus (ringing, buzzing, whistling or humming in the ears). Therefore, risk assessment and the implementation of appropriate controls for these hazards are essential.
- Appropriate controls to reduce the risk may include actions such as damping materials to prevent workpieces from “ringing”.
- Use hearing protection in accordance with employer’s instructions and as required by occupational health and safety regulations.
- Operate and maintain the tool as recommended in the instruction manual, to prevent an unnecessary increase in the noise level.
VIBRATION HAZARDS
- Exposure to vibration can cause disabling damage to the nerves and blood supply of the hands and arms.
- Wear warm clothing when working in cold conditions and keep your hands warm and dry.
- If you experience numbness, tingling, pain or whitening of the skin in your fingers or hands, stop using the tool, tell your employer and consult a physician.
- Where possible Support the weight of the tool in a stand, tensioner or balancer, because a lighter grip can then be used to support the tool.
ADDITIONAL SAFETY INSTRUCTIONS FOR HYDRAULIC POWER TOOLS
- The operating hydraulic supply must not exceed 550 bar (8000 PSI).
- Oil under pressure can cause severe injury.
- Do not fit flexible hydraulic hoses rated at less than 700 bar (10,000 PSI) working pressure at a flow rate of 2.73 l/min (200 in3 /min).
- Never leave operating tool unattended. Disconnect hydraulic hose and electrical cable from the pump unit when tool is not in use, before changing accessories or when making repairs.
- Whipping hoses can cause severe injury. Always check for damaged or loose hoses and fittings.
- Prior to use, inspect hydraulic hoses for damage, all hydraulic connections must be clean, fully engaged and tight before operation. Do not drop heavy objects on hoses. A sharp impact may cause internal damage and lead to premature hose failure.
- Whenever universal twist couplings (claw couplings) are used, lock pins shall be installed and whipcheck safety cables shall be used to safeguard against possible hose-to-tool or hose-to-hose connection failure.
- DO NOT lift the placing tool by the hose or electrical cable. Always use the placing tool handle.
- DO NOT pull or move the hydraulic pump unit using the hoses. Always use the pump unit handle or roll cage.
- Keep dirt and foreign matter out of the hydraulic system of the tool as this will cause the tool to malfunction.
- Use only clean oil and filling equipment.
- Only recommended hydraulic fluids may be used.
- Power units require a free flow of air for cooling purposes and should therefore be positioned in a well ventilated area free from hazardous fumes.
- Maximum temperature of the hydraulic fluid at the inlet is 110°C (230°F).
SPECIFICATIONS
INTENT OF USE
The AV™10 Installation Tool is principally a piston and cylinder assembly. When coupled hydraulically and electrically to a compatible hydraulic power source and the relevant nose assembly is attached, it is then used to install 3/8” Avdelok®, 5/16” to 3/8” Avbolt® and Ø18mm Avseal® II in Industrial Environments. The placing tool and hydraulic pump unit may only be used in accordance with the operating instructions for placing Stanley Engineered Fastening structural rivets.
Refer to the table below for the list of applicable fasteners and associated nose equipment. Refer to the datasheets listed in the table for the relevant nose assembly instructions.
DO NOT use under wet conditions or in the presence of flammable liquids or gases.
| FASTENER | NOSE ASSEMBLY | NOSE ASSEMBLY DATASHEET | |||
| TYPE | SIZE | PART NUMBER | DIM.‘A’ | DIM. ‘B’ | PART NUMBER |
| AVDELOK® | 3/8” | 73430-03100 | 87 mm | 28 mm | 07900-00919 |
| AVBOLT® | 5/16” | 73430-03300 | 92 mm | 27 mm | 07900-00905 |
| 3/8” | 73430-03200 | 92 mm | 29 mm | 07900-00905 | |
| AVSEAL® II | 16 mm | 73430-05000 | 95 mm | 27 mm | 07900-00840 |
| 16 mm flanged | 73430-05000 | 95 mm | 27 mm | 07900-00840 | |
| 18 mm | 73430-05200 | 95 mm | 27 mm | 07900-00840 | |
Refer to the illustration on page 7 for the identification of the nose assembly dimensions ‘A’ and ‘B’. The safety instructions must be followed at all times.
PLACING TOOL SPECIFICATION
| SPECIFICATION | METRIC | IMPERIAL | |
| Force: | Pull at stated pull pressure | 55.0 kN | 12364.0 lbf |
| Push Off at stated return pressure | 26.0 kN | 5485.0 lbf | |
| Pressure: | Pull | 510 bar | 7397 PSI |
| Return | 200 bar | 2901 PSI | |
| Stroke: | Piston Stroke | 25.0 mm | 0.98 in |
| Weight: | Without nose equipment | 3.5 kg | 7.7 lb |
| Hydraulic Oil: | Enerpac® Hydraulic Oil – HF-95X | ||
| Product Range: | Avbolt® | 10.0 mm | 3/8 in |
| Avseal® II | 18.0 mm | ||
| Avdelok® | 10.0 mm | 3/8 in | |
| Additional Features: | Stem Ejection – Front or Rear | Rear | |
| Seal Arrangement | Twin Lip and Wiper Seals | ||
| Hydraulic Bearing Rings | Yes – Front and Rear | ||
| Protective Handle / Hose Gator | Yes | ||
| Protective Hose Guard | Yes | ||
| Hose / Cable Retention Clamps | Yes | ||
| Noise values determined according to noise test code ISO 15744 and ISO 3744. | AV10 | |
| A-weighted sound power level dB(A), LWA | Uncertainty noise: kWA = 3.0 dB(A) | 93.3 dB(A) |
| A-weighted emission sound pressure level at the work station dB(A), LpA | Uncertainty noise: kpA = 3.0 dB(A) | 82.3 dB(A) |
| C-weighted peak emission sound pressure level dB(C), LpC, peak | Uncertainty noise: kpC = 3.0 dB(C) | 127.7 dB(C) |
| Vibration values determined according to vibration test code ISO 20643 and ISO 5349. | AV10 | |
| Vibration emission level, ahd: | Uncertainty vibration: k = 0.33 m/s2 | 0.661 m/s2 |
| Declared vibration emission values in accordance with EN 12096 | ||
PLACING TOOL DIMENSIONS

The tool is fitted with two Hydraulic Hoses and an electrical Control Cable, 0.6m in length. Additional hydraulic hose and cable extension lengths are available to order separately as required. Refer to the table below for the available hose assembly lengths and associated part numbers.
| HYDRAULIC HOSE ASSEMBLY | |
| PART NUMBER | HOSE LENGTH |
| 07008–00448 | 5 Metre |
| 07008–00449 | 10 Metre |
| 07008–00450 | 15 Metre |
PUTTING INTO SERVICE
PRINCIPLE OF OPERATION
IMPORTANT – READ BOTH THE SAFETY RULES ON PAGES 3 – 5 AND THE PUMP UNIT INSTRUCTION MANUAL CAREFULLY BEFORE PUTTING INTO SERVICE.
- When both hoses and control cable are connected to the Avdel® / Enerpac® hydraulic pump unit, the pull and return cycles of the tool are controlled by depressing and releasing the trigger located in the handle.
- When the switch is depressed the solenoid valve, located in the hydraulic pump unit, is energised and directs the pressurised oil flow to the pull side of the piston in the placing tool. This also allows the oil in the return side of the placing tool to return to the reservoir.
- During the pull cycles the piston/collet assembly moves towards the rear of the tool allowing the O-ring type cushion to push the follower and jaws forward. If a fastener pin has been inserted in the nose assembly, the jaw set will clamp onto the pintail and assembly will commence.
- For Avbolt® and Avdelok® the cycle of installation will first clamp the joint to be fastened and then as the anvil continues to move forward the collar will be swaged into the locking grooves of the pin. At the end of the swaging cycle the anvil will come up against the joint and as movement continues the pintail will be broken off.
- The trigger switch should be released immediately after pin break occurs. Releasing the trigger switch will cause the solenoid to de-energise and reverse the flow of pressurised oil.
- If the trigger is not released, the placing tool piston will continue to move towards the rear of the tool until it reaches the end of its stroke. The pressure in the pull side will then increase until a preset ‘High Pressure’ value is achieved at the pump. At this point the solenoid valve will automatically de-energise and reverse the flow of pressurised oil to the return side of the placing tool.
- In either case, pressurised oil will now flow into the return side of the placing tool, with the oil in the pull side returning to the reservoir.
- The forward movement of the piston/collet assembly will eject the installed fastener from the anvil.
- At the point of releasing the trigger or when the ‘High Pressure’ value is achieved, the solenoid valve will de-energise and activate a preset ‘Return Timer’. This controls the time that the pump motor will continue run before switching to the idle mode. The timer can be manually set between 5 and 20 seconds to ensure that the placing tool piston always fully returns to the forward position (refer to pump manual 07900-01030, pages 11 and 14).
- When the piston returns to the fully forward position, the pressure will increase to preset low pressure value – c200bar. The pump motor will continue to run until the Return Timer has expired. After this time period the motor will stop automatically and valve will switch to the idle position. The solenoid valve will then automatically cycle to release pressurised oil to the reservoir from both the pull and return side of the placing tool.
- This keeps the installation tool in the forward position. No pressure will be present in the hydraulic system at this point. The hydraulic pump unit will automatically start up on depression of the tool trigger switch.
PREPARATION FOR USE
CAUTION – CORRECT PULL AND RETURN PRESSURES ARE IMPORTANT FOR PROPER FUNCTION OF THE ISTALLATION
TOOL. PERSONAL INJURY OR DAMAGE TO EQUIPMENT MAY OCCUR WITHOUT CORRECT PRESSURES. THE PULL AND RETURN PRESSURES SUPPLIED BY THE HYDRAULIC PUMP UNIT MUST NOT EXCEED THOSE PRESSURES LISTED IN THE PLACING TOOL SPECIFICATION.
IMPORTANT – BEFORE PUTTING THE PLACING TOOL AND HYDRAULIC HOSE SET INTO SERVICE:
ENSURE THAT THE PUMP PRESSURE RELIEF VALVES HAVE BEEN SET IN ACCORDANCE WITH THE PUMP INSTRUCTIONS AND THE MAXIMUM PRESSURES SPECIFIED FOR THE PLACING TOOL AND HOSES.
ENSURE THAT THE HOSE KIT IS PRIMED WITH HYDRAULIC FLUID IN ACCORDANCE WITH THE PROCEDURE IN THE PUMP INSTRUCTION MANUAL 07900-01030.
- Ensure the mains power supply to the hydraulic pump unit is switched off.
- Connect the placing tool hydraulic hose quick couplers directly to the pump unit before connecting the electrical control cable. Hoses and control cable must be connected in this order and disconnected in reverse order.
- Switch on the mains supply to the hydraulic pump unit. Wait 5 seconds for the pump unit to complete the boot sequence, before pressing the trigger switch. When all set the LCD screen on the pump unit will display ‘AVDEL’.
- During the boot sequence the pump control system identifies any trigger operation as a potential malfunction and prevents the motor from starting. The LCD screen will display ‘BUTTON FAULT’ in this instance. Reset by switching off the power supply for 10 seconds.
- Ensure that the placing tool is positioned below the pump reservoir tanks. Depress and release the placing tool trigger switch a few times to almost the full stroke of the tool to circulate hydraulic fluid and expel any air from the tool.
- Observe action of tool. Check for fluid leaks and ensure that in the idler mode the piston is in the fully forward position. The placing tool will now be primed.
- Switch off the mains power supply to the hydraulic pump unit and then disconnect the placing tool from the pump unit in reverse order to that described above.
- Now connect the placing tool to the primed hydraulic hose kit and electrical control cable. Then connect hydraulic hose kit quick couplers and the electrical control cable to the pump unit.
- Attach the nose assembly to the tool as per the instructions in the relevant nose assembly datasheet.
- Switch on the mains supply to the hydraulic pump unit as described above.
- Depress and release the placing tool trigger switch a few times to almost the full stroke of the tool to circulate hydraulic fluid.
- The placing tool is now ready for use.
OPERATING INSTRUCTIONS
TO INSTALL AN AVBOLT® FASTENER
- Check work and remove excessive gap. (Gap is the space between components of the Joint. Gap is excessive if not enough pintail sticks through the collar for the nose assembly jaws to grab onto).
- Put Avbolt® fastener into hole.
- Push nose assembly onto the pin until the nose assembly anvil stops against the collar. Tool and nose assembly must be held at right angles (90°) to the work.
- Depress tool trigger switch to start installation cycle.
- When the forward motion of the nose assembly anvil stops and the pintail breaks off, release the trigger. The tool will go into its return stroke and push off the installed fastener. At the end of the return stroke the jaws will partially release the expended pintail which can then be pushed through the jaws with the next installation and then ejected through the rear of the tool.
- Once the installed fastener has been ejected, the tool and nose assembly is ready for the next installation.
TO INSTALL AN AVDELOK® FASTENER
- Check work and remove excessive gap. (Gap is the space between components of the Joint. Gap is excessive if not enough pintail sticks through the collar for the nose assembly jaws to grab onto).
- Put Avdelok® fastener into hole.
- Slide Avdelok® collar over the pin. (The beveled end of the collar must be towards the nose assembly and tool.)
- Push nose assembly onto the pin until the nose assembly anvil stops against the collar. Tool and nose assembly must be held at right angles (90°) to the work.
- Depress tool trigger switch to start installation cycle.
- When the forward motion of the nose assembly anvil stops and the pintail breaks off, release the trigger. The tool will go into its return stroke and push off the installed fastener. At the end of the return stroke the jaws will partially release the expended pintail which can then be pushed through the jaws with the next installation and then ejected through the rear of the tool.
- Once the installed fastener been ejected, the tool and nose assembly is ready for the next installation.
CAUTION – DO NOT ATTEMPT TO BREAK OFF A PINTAIL WITHOUT THE INSTALLATION OF A COLLAR AS THIS WILL CAUSE THE UNSECURED PORTION OF THE AVDELOK® OR AVBOLT® PINTAIL TO EJECT FROM THE NOSE AT A HIGH SPEED AND FORCE.
SERVICING THE TOOL
IMPORTANT – READ BOTH THE SAFETY RULES ON PAGES 3 – 5 AND THE PUMP UNIT INSTRUCTION MANUAL CAREFULLY BEFORE PUTTING INTO SERVICE. THE EMPLOYER IS RESPONSIBLE FOR ENSURING THAT TOOL MAINTENANCE INSTRUCTIONS ARE GIVEN TO THE APPROPRIATE PERSONNEL.
THE OPERATOR SHOULD NOT BE INVOLVED IN MAINTENANCE OR REPAIR OF THE TOOL UNLESS PROPERLY TRAINED.
THE TOOL SHALL BE EXAMINED REGULARLY FOR DAMAGE AND MALFUNCTION.
DAILY
- Check placing tool, hoses and quick couplers for oil leaks.
- Worn or damaged hoses and couplings should be replaced.
- Check that the stroke of tool meets the specification.
- Check that the stem deflector is fitted.
- Check that the pump pull / advance pressure relief valve is functioning correctly.
- Check for worn anvil indicated by score marks on the installed collar. This can also be confirmed by referring to the installed data in the fastener catalogue. Excessive wear can cause the anvil to rupture.
WEEKLY
- Dismantle and clean the nose assembly especially the jaws as described in the relevant nose assembly datasheet.
- Check for oil leaks in placing tool, hoses and quick couplers.
CAUTION – NEVER USE SOLVENTS OR OTHER HARSH CHEMICALS FOR CLEANING THE NON-METALLIC PARTS OF THE TOOL. THESE CHEMICALS MAY WEAKEN THE MATERIALS USED IN THESE PARTS
ANNUALLY OR EVERY 250K OPERATIONS
- Every 250,000 cycles the tool should be completely dismantled and new components should be used where worn, damaged or as recommended. All O-rings, back-up rings and seals should be renewed and lubricated with MolyKote® 111 grease before assembling.
SERVICE KIT
For a complete service the following Service Kit is available:
| SERVICE KIT: 73430-99990 | |||
| PART NUMBER | DESCRIPTION | PART NUMBER | DESCRIPTION |
| 07005-10118 | Quick Coupler – Male | 07900-00956 | AV10 Piston Guide Sleeve |
| 07005-10120 | Quick Coupler – Female | 07900-00957 | AV10 End Cap Assembly Tool |
| 07900-00951 | AV10 Piston Bullet – Front | 07992-00020 | Grease – MolyLithium EP3753 |
| 07900-00952 | AV10 Piston Bullet – Rear | 07900-00755 | Grease – Molykote 111 |
| 07900-00955 | AV10 Front Gland Guide Rod | 07900-00756 | Loctite® 243 Threadlocker |
SERVICING TOOLS’
The following standard tools are also required:
- Allen Key: 2.0 / 3.0 mm
- Open End Flat Spanner: 12 / 14 / 18 / 24 / 45 mm A/F
- PTFE Tape: 10 mm
- Engineers Vice with Jaw Guards – 150 mm
HYDRAULIC OIL
CAUTION – USE ONLY ENERPAC® HF HYDRAULIC OIL – THE USE OF ANY OTHER OIL MAY CAUSE THE PLACING TOOL AND PUMP TO MALFUNCTION AND WILL RENDER THE PLACING TOOL WARRANTY NULL AND VOID.
Hydraulic oil is available to order under the following part numbers.
| HYDRAULIC OIL | |||
| PART NUMBER | 07992-00081 | 07992-00082 | 07992-00083 |
| Enerpac® Part Number | HF-95X | HF-95Y | HF-95T |
| Volume | 1 Litre | 5 Litres | 20 Litres |
| Viscosity | 32 mm2/s | 32 mm2/s | 32 mm2/s |
DISMANTLING INSTRUCTIONS
IMPORTANT – ENSURE THE MAINS POWER SUPPLY TO THE HYDRAULIC PUMP UNIT IS SWITCHED OFF BEFORE REMOVING THE NOSE ASSEMBLY OR DISMANTLING THE PLACING TOOL.
Before Dismantling:
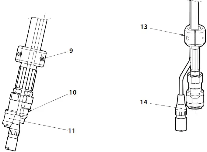
- Uncouple the Quick Couplers 10 and 11 and the electrical Control Cable 14 between the placing tool and the Hydraulic Hose Assembly.
- Remove the nose assembly from the placing tool as per the instructions in the relevant nose assembly datasheet.
- The potentially dangerous substances that could have deposited on th machine as a result of work processes must be removed before maintenance.
For a complete service of the tool, we advise that you proceed with dismantling the tool in the order shown on pages 12 to 14. After dismantling the tool we recommend that you replace all seals.
Head Piston Assembly:
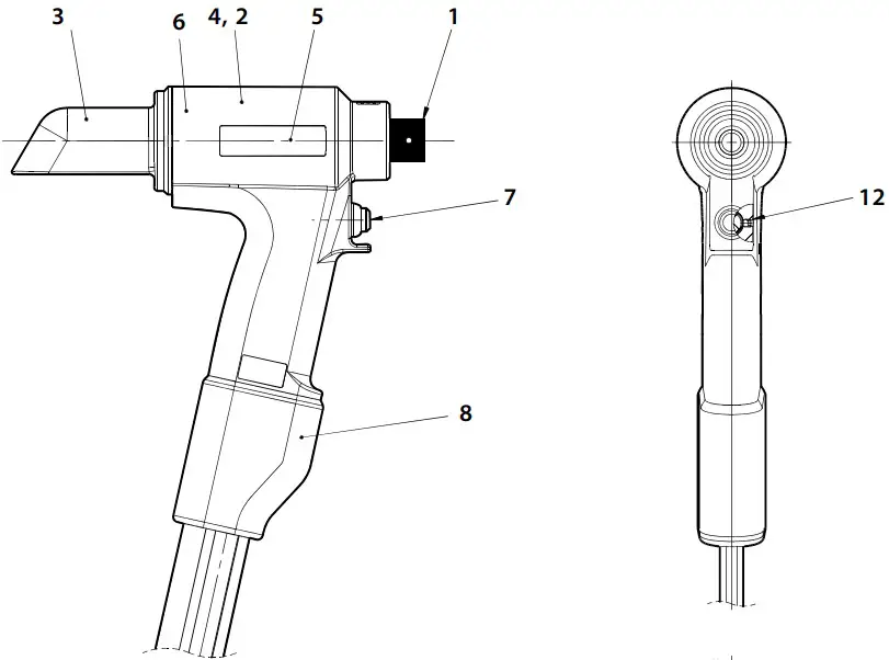
- Remove the Deflector 3, from the End Cap 17.
- Clamp the tool handle in a vice with soft jaws so that the tool is pointing nose down. Insert the dowel pins on the *End Cap Assembly Tool into the three holes in the End Cap 17.
- Using a 24 mm A/F spanner, unscrew and remove the End Cap 17, from the Body 2.
- Using a small flat screwdriver, remove O-Ring 33 from the End Cap 17 and discard.
- Connect the spare *Quick Coupler – Male to the Quick Coupler – Female 11 on the Hydraulic Hose – Return 18. This will release any pressure from the return side of the Piston 1 and ease the removal of the Rear Seal Gland 16.
- Insert three M4 screws into the Rear Seal Gland 16, and use them to pull the part off the rear shaft of the Piston 1 and out of the Body 2.
- Using a small flat screwdriver or similar tool, remove O-Ring 30 and Spiral Back-up Ring 36, from the external groove on the Rear Seal Gland 16, and discard. When removing the seals, take care not to damage the surface of the Rear Seal Gland with the screwdriver.
- Remove Rod Seal 28 and Wiper Seal 31, from the internal grooves on the Rear Seal Gland 16, and discard. When removing the seals, take care not to damage the surface of the Rear Seal Gland with the screwdriver.
- Remove Rear Bearing Ring 29 and check the part for wear or damage. Discard if necessary.
- Remove the placing tool from the vice and empty the hydraulic oil from the rear of the tool. Remove the spare *Quick Coupler – Male from the Quick Coupler – Female 11 on Hydraulic Hose – Return 18.
- Connect the spare *Quick Coupler – Female to the Quick Coupler – Male 10 on the Hydraulic Hose – Pull 19. This will release any pressure from the pull side of the Piston 1 and ease the removal of the Piston.
- Screw the *Piston Bullet – Front on to the front of the Piston 1.
- Place the Body 2 nose up on a bench. Then using a soft mallet, tap the Piston 1 towards the rear of the Body and out the back end, taking care not to damage the bore within the Body.
- Note that when removing the Piston 1, oil on the pull side of the Piston will leak from the front and rear of the Body 2.
- When removing the Piston 1, the Front Seal Gland 15 may be retained on the Piston shaft. If this is the case, unscrew the *Piston Bullet – Front and pull the Front Seal Gland off of the Piston.
- Using a small flat screwdriver remove Piston Seal 26 and the two Anti Extrusion Rings 27, from the external groove on the Piston 1, and discard. When removing the seals, take care not to damage the surface of the Piston with the screwdriver.
- If the Front Seal Gland 15 is still retained in the Body 2. Place the Body nose up on a bench and then push the Front Seal Gland from the front until it is free from the recess within Body. The Front Seal Gland can then be removed from the back end of the Body. Take care not to damage the bore within the Body when doing so.
- Using a small flat screwdriver remove O-Ring 23 and Spiral Back-up Ring 34, from the external groove on the Front Seal Gland 15, and discard. When removing the seals, take care not to damage the surface of the Front Seal Gland with the screwdriver.
- Remove Rod Seal 25 and Wiper Seal 22, from the internal grooves on the Front Seal Gland 15, and discard. When removing the seals, take care not to damage the surface of the Front Seal Gland with the screwdriver.
- Remove the Front Bearing Ring 24 and check the part for wear or damage. Discard if necessary.
- Using a small flat screwdriver, remove O-Ring 21 from the Body 2 and discard.
- Remove the spare *Quick Coupler – Female from the Quick Coupler – Male 10 on the Hydraulic Hose – Pull 19.
Assemble in reverse order to dismantling noting the following points:
- Clean all components before assembling.
- To aid assembly of seals apply a light coating of Molykote® 111 grease to all seals, seal grooves, back-up rings and the assembly tools.
- Slide O-Ring 23 over the Front Seal Gland 15 and into the external groove. Insert the Spiral Back-up Ring 34 in the same groove, in front of the installed O-Ring. Refer to the General Assembly and Parts List for the correct orientation of the O-Ring and Spiral Back-up Ring.
- Press the Front Bearing Ring 24 into the internal recess within the Front Seal Gland 15 and then install Rod Seal 25 behind the Front Bearing Ring. Install the Wiper Seal 22 in the front recess of the Front Seal Gland. Refer to the General Assembly to ensure the correct orientation of the Rod Seal and Wiper Seal.
- Lubricate the surface and leading edge of the Body 2 bore into which the Front Seal Gland 15 is to be installed with Molykote® 111 grease.
- Lubricate the spigot on the *Front Gland Guide Rod tool and then place the Front Seal Gland 15, Rod Seal 25 end first, fully over spigot. Insert *Front Gland Guide Rod into the rear of the Body 2 and then push the Front Seal Gland fully into the bore within the Body. Reasonable force is required to insert Front Seal Gland into the Body, so the use of a press or vice may be necessary. Remove the *Front Gland Guide Rod while ensuring that the Front Seal Gland stays in place.
- Lubricate the seal groove and major external diameter of the Piston 1 with Molykote® 111 grease. Slide the Piston Seal 26 over the front of the major Piston diameter and into the seal groove. Install two Anti-Extrusion Rings 27 into the Piston seal groove, one either side of the Piston Seal.
- Screw the *Piston Bullet – Front onto the front of the Piston 1. Lubricate the *Piston Bullet – Front, Piston shaft and Piston Seal 26 with Molykote® 111 grease.
- Screw the *Piston Guide Sleeve fully into the rear of the Body 2. Lubricate the bores in both the Body and the *Piston Guide Sleeve with Molykote® 111 grease.
- Connect the spare *Quick Coupler – Female to the Quick Coupler – Male 10 on the Hydraulic Hose – Pull 19. This will allow air to be released from the pull side of the Piston 1 when inserting the Piston.
- Insert the assembled Piston 1 into the rear of the Body 2 and through the assembled Front Seal Gland 15. Push the Piston into the fully forward position until it stops against the Front Seal Gland. Hydraulic oil will be expelled from the Hydraulic Hose – Pull 19.
- Remove the spare *Quick Coupler – Female from the Quick Coupler – Male 10 on the Hydraulic Hose – Pull 19. Remove the *Piston Guide Sleeve from the rear of the Body 2.
- Slide O-Ring 30 over the Rear Seal Gland 16 and into the external groove. Insert the Spiral Back-up Ring 36 in the same groove, behind the installed O-Ring. Refer to the General Assembly and Parts List for the correct orientation of the O-Ring and Spiral Back-up Ring.
- Press the Rear Bearing Ring 29 into the internal recess within the Rear Seal Gland 16 and then install Rod Seal 28 behind the Rear Bearing Ring. Install the Wiper Seal 31 in the rear recess of the Rear Seal Gland. Refer to the General Assembly to ensure the correct orientation of the Rod Seal and Wiper Seal.
- Clamp the tool handle in a vice with soft jaws so that the tool is pointing nose down.
- Lubricate the surface and leading edge of the Body 2 bore into which the Rear Seal Gland 16 is to be installed with Molykote® 111 grease. Lubricate the rear Piston 1 shaft with Molykote® 111 grease.
- Insert the *Piston Bullet – Rear into the rear Piston 1 shaft and Lubricate with Molykote® 111 grease.
- Fill the rear of the Body 2 with Enerpac® HF hydraulic oil. Oil level should be just above the rear inlet bore into the Body.
- Connect the spare *Quick Coupler – Male to the Quick Coupler – Female 11 on the Hydraulic Hose – Return 18. This will allow air to be released from the return side of the Piston 1 when inserting the Rear Seal Gland 16.
- Place the Rear Seal Gland 16 over the *Piston Bullet – Rear. Then push the Rear Seal Gland over the Piston 1 shaft and into the rear of the Body 2. Push the Rear Seal Gland into the Body until a few internal threads are exposed at the rear of the Body. Take care not to damage the O-Ring 30 and Spiral Back-up Ring 36 on the threads when inserting the Rear Seal Gland.
- Lubricate both the internal thread in the Body 2 and the external thread on End Cap 17 with MolyLithium Grease.
- Screw the End Cap 17 fully into the rear of the Body 2 using the *End Cap Assembly Tool. In doing so, the Rear Seal Gland 16 will be pressed into position within the Body and a small amount of oil will be expelled from the Hydraulic Hose – Return 18.
- Remove the spare *Quick Coupler – Male from the Quick Coupler – Female 11 on the Hydraulic Hose – Return 18.
- Push the Deflector 3, onto the End Cap 17.
- Prime the placing tool as described in Preparation for Use on.
Hose Assembly:
- Remove the two Screws 9 from the Hose Clamp 13 using a 3.0mm Allen Key. Remove the Hose Clamp and Clamp Insert 20 from the Protective Sleeve 37 and Hydraulic Hoses – Return 18 and Pull 19.
- Using the small flat screwdriver prize the Handle Gator 8 from the handle of Body 2. Pull the Handle Gator over the Protective Sleeve 37, Hydraulic Hoses-Return 18 and Pull 19 and remove.
- Cut the Cable Tie 35 and slide back the Protective Sleeve 37 to expose the fittings on the Hydraulic Hoses – Return 18 and Pull 19. The Hydraulic Hoses can be removed form the Body 2 using 12mm and 14mm spanners.
- The Quick Couplers – Male 10 and Female 11 can be removed from the Hydraulic Hoses – Return 18 and Pull 19 using 18mm and 24mm spanners.
- To remove Trigger Switch 7, first loosen Cable Gland 38, so that the Control Cable 14 is free to move within the Body 2. Then undo M4 Set Screw 12 using a 2.0mm Allen Key.
- Push the Control Cable 14 into the Body 2 and simultaneously pull the Trigger Switch 7 out of the Body to expose the solder joints on the Trigger Switch terminals. Unsolder the terminals to remove the Trigger Switch and Trigger Insert 39. The Trigger Insert is bonded to the Trigger Switch and cannot be removed.
- The Control Cable 14 can now be pulled from the Body 2 and removed from the Protective Sleeve 37.
Assemble in reverse order to dismantling noting the following points:
- Prior to assembly clean all threads on the Quick Couplers – Male 10 and Female 11 and the Hydraulic Hoses – Return 18 and Pull 19. Then apply two to three layers of 10mm PTFE tape to the male threads on both of the Hydraulic Hoses.
- When replacing the Trigger Switch 7 apply *Loctite® 243 to the male thread on the Trigger Switch before assembling the Trigger Insert 39.
- Apply *Loctite® 243 to M4 Set Screw 12 prior to assembly.
- Once assembled, prime the tool as per the instructions on.
PROTECTING THE ENVIRONMENT
Assure conformity with applicable disposal regulations. Dispose all waste products at an approved waste facility or site so as not to expose personnel and the environment to hazards.
GENERAL ASSEMBLY OF INSTALLATION TOOL 73430-02000



PARTS LIST FOR INSTALLATION TOOL 73430-02000
| 73430-02000 Parts List | |||
| ITEM | PART NUMBER | DESCRIPTION | QTY. |
| 1 | 73430-02003 | PISTON | 1 |
| 2 | 73430-02001 | BODY | 1 |
| 3 | 73430-02011 | DEFLECTOR | 1 |
| 4 | 73425-02016 | SAFETY LABEL | 1 |
| 5 | 73430-02026 | AV10 LABEL | 2 |
| 6 | 07007-01504 | CE & UKCA LABEL | 1 |
| 7 | 07007-02103 | TRIGGER SWITCH | 1 |
| 8 | 73430-02020 | HANDLE GATOR | 1 |
| 9 | 07001-00686 | M4 X 16 SKT CAP HD SCREW | 2 |
| 10 | 07005-10118 | QUICK COUPLER – MALE | 1 |
| 11 | 07005-10120 | QUICK COUPLER – FEMALE | 1 |
| 12 | 07001-00479 | M4 X 4 SKT SET SCREW | 1 |
| 13 | 73430-02023 | HOSE CLAMP | 1 |
| 14 | 07007-02105 | CONTROL CABLE | 1 |
| 15 | 73430-02004 | FRONT SEAL GLAND | 1 |
| 16 | 73430-02006 | REAR SEAL GLAND | 1 |
| 17 | 73430-02005 | END CAP | 1 |
| 18 | 07005-10119 | HYDRAULIC HOSE – RETURN | 1 |
| 19 | 07005-10117 | HYDRAULIC HOSE – PULL | 1 |
| 20 | 73430-02024 | CLAMP INSERT | 1 |
| 21 | 07003-00457 | O-RING | 1 |
| 22 | 07003-00440 | WIPER SEAL | 1 |
| 23 | 07003-00458 | O-RING | 1 |
| 24 | 73430-02009 | FRONT BEARING RING | 1 |
| 25 | 07003-00439 | ROD SEAL | 1 |
| 26 | 07003-00443 | PISTON SEAL | 1 |
| 27 | 07003-00444 | ANTI-EXTRUSION RING | 2 |
| 28 | 07003-00441 | ROD SEAL | 1 |
| 29 | 73430-02010 | REAR BEARING RING | 1 |
| 30 | 07003-00459 | O-RING | 1 |
| 31 | 07003-00442 | WIPER SEAL | 1 |
| 32 | |||
| 33 | 07003-00460 | O-RING | 1 |
| 34 | 07003-00492 | SPIRAL BACK-UP RING | 1 |
| 35 | 07007-02032 | CABLE TIE | 1 |
| 36 | 07003-00493 | SPIRAL BACK-UP RING | 1 |
| 37 | 07005-10121 | PROTECTIVE SLEEVE | 0.6 m |
| 38 | 07007-02104 | CABLE GLAND | 1 |
| 39 | 73430-02008 | TRIGGER INSERT | 1 |
| – | 07900-01020 | AV10 TOOL INSTRUCTION MANUAL | 1 |
SAFETY DATA
ENERPAC® HF HYDRAULIC OIL – SAFETY DATA
FIRST AID
SKIN:
Unlikely to cause harm to the skin on brief or occasional contact but prolonged or exposure may lead to dermatitis. Wash skin thoroughly with soap and water as soon as reasonably practicable. Remove heavily contaminated clothing and wash underlying skin.
ORAL:
Unlikely to cause harm if accidentally swallowed in small doses, though larger quantities may cause nausea and diarrhea. If contamination of the mouth occurs, wash out thoroughly with water. Except as a deliberate act, the ingestion of large amounts of product is unlikely. If it should occur, do not induce vomiting; obtain medical advice. Take person to nearest medical centre.
EYES:
Unlikely to cause more than transient stinging or redness if accidental eye contact occurs. Wash eyes thoroughly with copious quantities of water, ensuring eyelids are held open. Obtain medical advice if any pain or redness develops or persists.
MEDICAL ADVICE:
Treatment should in general be symptomatic and directed to relieving any effects. Note: High Pressure Applications: Injections through the skin, resulting from contact with the product at high pressure, constitute a major medical emergency.
Injuries may not appear serious at first but within a few hours tissue becomes swollen, discolored and extremely painful with extensive subcutaneous necrosis.
Surgical exploration should be undertaken without delay. Thorough and extensive debridement of the wound and underlying tissue is necessary to minimize tissue loss and prevent or limit permanent damage. Note that high pressure may force the product considerable distances along tissue planes.
DISPOSAL
Remove all spills with inert absorbent material. Ventilate spill area. Place contaminated materials in a disposable container and dispose in a manner consistent with local regulations.
FIRE
FLASH POINT: 200°C.
Extinguish with either dry chemical, foam or carbon dioxide. Do not enter confined space without self contained breathing apparatus.
HANDLING
Use barrier cream or oil resistant gloves.
STORAGE
Undercover and consistent with local regulations for inflammable material.
MOLYLITHIUM GREASE EP 3753 – SAFETY DATA
Grease can be ordered as a single item, the part number is shown in the Service Kit
FIRST AID
SKIN:
As the grease is completely water resistant it is best removed with an approved emulsifying skin cleaner.
INGESTION:
Ensure the individual drinks 30ml Milk of Magnesia, preferably in a cup of milk.
EYES:
Irritant but not harmful. Irrigate with water and seek medical attention.
FIRE
FLASH POINT: Above 220°C. Not classified as flammable. Suitable extinguishing media: CO2, Halon or water spray if applied by an experienced operator.
ENVIRONMENT
Scrape up for incineration or disposal on approved site.
HANDLING
Use barrier cream or oil resistant gloves
STORAGE
Away from heat and oxidising agent
MOLYKOTE® 111 GREASE – SAFETY DATA
Grease can be ordered as a single item, the part number is shown in the Service Kit
FIRST AID
SKIN:
- No first aid should be needed. INGESTION:
- No first aid should be needed. EYES:
- No first aid should be needed. INHALATION:
- No first aid should be needed.
FIRE
FLASH POINT: Above 101.1°C. (closed cup) Explosive Properties: No Suitable Extinguishing Media: Carbon Dioxide Foam, Dry Powder or fine water spray. Water can be used to cool fire exposed containers.
ENVIRONMENT
No adverse effects are predicted.
HANDLING
General ventilation is recommended. Avoid eye contact.
STORAGE
Do not store with oxidizing agents. Keep container closed and store away from water or moisture
FAULT DIAGNOSIS
SYMPTOM POSSIBLE CAUSE REMEDY PAGE REF.
- Placing Tool will not operate
- Inoperative pump unit Check pump power supply and refer to pump unit instruction manual
- Faulty Quick Couplers 10 and 11 Replace Quick Couplers 14
- Trigger Control Cable 14 not connected correctly
- Check Control Cable is correctly connected at pump and placing tool 9
- Damaged Trigger Switch 7 or Control Cable 14
- Replace Trigger Switch and/or Control Cable 14
- Trigger Switch 7 does not function
- Pump in local mode Refer to pump instruction manual
- Trigger Switch 7, Control Cable 14 or connector damaged
- Replace Trigger Switch and/or Control Cable 14
- Pump running but placing tools does not function
- Hydraulic Hoses not connected Check for correct connections at pump and placing tool 9 Low oil level Ensure placing tool is filled with oil and correctly primed. Refer to pump instruction manual 9
- Placing tool external oil leak Inspect placing tool – replace worn or damaged components 12–14 Hose Assembly external oil leak
- Inspect Hose Assembly – ensure hose connections are tight and/or replace damaged hose connectors 14
- Pump internal/external oil leak Refer to pump instruction manual
- Placing tool operates erratically
- Low or erratic hydraulic pressure supply Refer to pump instruction manual
- Worn or damaged hydraulic seals in placing tool
- Inspect placing tool – replace worn or damaged seals 12–14
- Worn or damaged hydraulic sealing surfaces in placing tool
- Inspect placing tool – replace worn or damaged components 12–14
- Pump internal/external oil leak Refer to pump instruction manual
- Pump builds full pressure, but pintail does not break
- Breakload greater than placing tool capacity at full pressure Refer to placing tool specification 6
- Flow to placing tool blocked Check Quick Couplers 10 and 11 for full engagement 8
- Pump pressure relief value set too low
- Adjust pressure relief valve settings – refer to pump instruction manual
- Pull grooves on fastener pintail stripped See symptom on page 20 10
- Improper tool operation 10
- Placing tool Piston 1 will not return
- Return flow restricted or blocked Check Quick Couplers 10 and 11 for full engagement and/or fault 9
- Hydraulic Hoses not connected Check for correct connections at pump and placing tool 9
- Pump valve malfunction Refer to pump instruction manual
SYMPTOM POSSIBLE CAUSE REMEDY PAGE REF.
- Placing tool does not eject the collar from theanvil
- Pump Return Timer setting incorrect set too low
- Adjust Return Timer to recommended setting – refer to pump instruction manual
- Pump return pressure relief valve set too low
- Adjust return pressure relief valve to correct setting – refer to pump instruction manual
- Low or erratic hydraulic pressure supply Refer to pump instruction manual
- Worn or damaged hydraulic seals in placing tool
- Inspect placing tool – replace worn or damaged seals 12–14
- Worn or damaged hydraulic sealing surfaces in placing tool
- Inspect placing tool – replace worn or damaged components 12–14
- Pump internal/external oil leak Refer to pump instruction manual
- Pull grooves on fastener pintail stripped during installation
- Operator not pushing nose completely onto fastener pintail before operating tool
- Instruct operator in correct installation method 10 Incorrect fastener length / grip length.
- Worn or damaged jaw segments Use correct fastener.
- Check and replace jaw set – refer to nose equipment datasheet 10
- Debris in jaw segments and/or pintail grooves
- Clean jaw segments – refer to nose equipment datasheet
- Excessive sheet gap Close gap between sheets 10
- Avdelok® or Avbolt® collar not fully swaged Improper tool operation 10
- Worn Anvil bore Check and replace Anvil – refer to nose equipment datasheet
EC DECLARATION OF CONFORMITY
We, Stanley Engineered Fastening, Stanley House, Works Road, Letchworth Garden City, Hertfordshire, SG6 1JY UNITED KINGDOM, declare under our sole responsibility that the product:
Description: HYDRO-ELECTRIC POWER TOOL
Model: AV®10 STRUCTURAL TOOL – 73430-02000
to which this declaration relates is in conformity with the following harmonized standards:
| ISO 12100:2010 | EN ISO 3744:2010 |
| EN ISO 11202:2010 | EN ISO 11148-1:2011 |
| EN ISO 4413:2010 | EN ISO 20643:2008+A1:2012 |
| EN ISO 4414:2010 | ES100118-rev 17:2017 |
| EN ISO 28927-5:2009+A1:2015 |
Technical documentation is compiled in accordance with Annex 1, section 1.7.4.1, in accordance with the following Directive: 2006/42/EC The Machinery Directive (Statutory Instruments 2008 No 1597 – The Supply of Machinery (Safety) Regulations refers).
The undersigned makes this declaration on behalf of STANLEY Engineered Fastening
A. K. Seewraj
Director of Engineering, UK
Avdel UK Limited, Stanley House, Works Road, Letchworth Garden City, Hertfordshire, SG6 1JY UNITED KINGDOM
Place of Issue: Letchworth Garden City, UK
Date of Issue: 12-12-2011
UK DECLARATION OF CONFORMITY
We, Stanley Engineered Fastening, Stanley House, Works Road, Letchworth Garden City, Hertfordshire, SG6 1JY UNITED KINGDOM, declare under our sole responsibility that the product:
Description: HYDRO-ELECTRIC POWER TOOL
Model: AV®10 STRUCTURAL TOOL – 73430-02000
to which this declaration relates is in conformity with the following designated standards:
| ISO 12100:2010 | EN ISO 3744:2010 |
| EN ISO 11202:2010 | EN ISO 11148-1:2011 |
| EN ISO 4413:2010 | EN ISO 20643:2008+A1:2012 |
| EN ISO 4414:2010 | ES100118-rev 17:2017 |
| EN ISO 28927-5:2009+A1:2015 |
A. K. Seewraj
Director of Engineering, UK
Avdel UK Limited, Stanley House, Works Road, Letchworth Garden City, Hertfordshire, SG6 1JY UNITED KINGDOM
Place of Issue: Letchworth Garden City, UK
Date of Issue: 12-12-2011
PROTECT YOUR INVESTMENT!
Stanley® Engineered Fastening BLIND RIVET TOOL WARRANTY
STANLEY® Engineered Fastening warrants that all power tools have been carefully manufactured and that they will be free from defect in material and workmanship under normal use and service for a period of one (1) year.
This warranty applies to the first time purchaser of the tool for original use only.
Exclusions:
Normal wear and tear.
Periodic maintenance, repair and replacement parts due to normal wear and tear are excluded from coverage.
Abuse & Misuse.
Defect or damage that results from improper operation, storage, misuse or abuse, accident or neglect, such as physical damage are excluded from coverage.
Unauthorized Service or Modification.
Defects or damages resulting from service, testing adjustment, installation, maintenance, alteration or modification in any way by anyone other than STANLEY® Engineered Fastening, or its authorized service centres, are excluded from coverage.
All other warranties, whether expressed or implied, including any warranties of merchantability or fitness for purpose are hereby excluded.
Should this tool fail to meet the warranty, promptly return the tool to our factory authorized service centre location nearest you. For a list of STANLEY® Engineered Fastening Authorized Service Centres in the US or Canada, contact us at our toll free number (877)364 2781.
Outside the US and Canada, visit our website www.StanleyEngineeredFastening.com to find your nearest STANLEY Engineered Fastening location.
STANLEY Engineered Fastening will then replace, free of charge, any part or parts found by us to be defective due to faulty material or workmanship, and return the tool prepaid. This represents our sole obligation under this warranty. In no event shall STANLEY Engineered Fastening be liable for any consequential or special damages arising out of the purchase or use of this tool.
Register Your Blind Rivet Tool online.
To register your warranty online, visit us at
https://www.stanleyengineeredfastening.com/support/warrantyregistratifrom
Thank you for choosing a STANLEY® Engineered Fastening’s Stanley Assembly Technologies Brand tool
References
Warranty Registration Form for POP® Avdel® STANLEY Asssemblie Technologies Tools | STANLEY® Engineered Fastening
Contact Us | STANLEY® Engineered Fastening
Find A Fastener Distributor | STANLEY® Engineered Fastening
STANLEY® Engineered Fastening | Precision Fastening and Assembly Solutions
Warranty Registration Form for POP® Avdel® STANLEY Asssemblie Technologies Tools | STANLEY® Engineered Fastening



















