Chicago Pneumatic CP 0009 Rock Drill Rotary Hammer

Product Information: Handheld Rotary Hammers
The Handheld Rotary Hammers from Chicago Pneumatic are powerful and reliable tools that are easy to maintain and give good value for the money. The Chicago Pneumatic brand is known for its performance and innovation in the pneumatic tool industry. These hammers are ideal for professionals in construction, renovation, and demolition industries. The CP 0009 and CP 0014 models are capable of drilling into concrete and masonry surfaces with ease.
Specifications
- Model: CP 0009, CP 0014
- Type: Handheld Rotary Hammer
- Power Source: Pneumatic
- Chuck Type: SDS Plus
- Max Drill Diameter: 24 mm (CP 0009), 28 mm (CP 0014)
- Impact Energy: 1.7 J (CP 0009), 2.3 J (CP 0014)
- No-load Speed: 0-4600 RPM (CP 0009), 0-5100 RPM (CP 0014)
- Weight: 1.7 kg (CP 0009), 2.2 kg (CP 0014)
Product Usage Instructions
- Before using the handheld rotary hammer for the first time, read and understand all the safety and operating instructions provided in the user manual.
- Attach the appropriate SDS Plus drill bit securely to the chuck of the rotary hammer.
- Connect the pneumatic power source to the rotary hammer.
- Adjust the depth gauge on the rotary hammer to the desired drilling depth.
- Hold the rotary hammer firmly with both hands and turn it on.
- Position the drill bit on the surface to be drilled and apply moderate pressure while drilling.
- Periodically check the drill bit and clean it of any debris or dust.
- After use, turn off the rotary hammer and disconnect the power source.
- Clean the rotary hammer and store it in a dry and secure place.
It is important to follow all safety guidelines and precautions when using the handheld rotary hammer. Always wear appropriate personal protective equipment such as safety glasses, gloves, and ear protection. Do not operate the rotary hammer if it is damaged or if any parts are missing. Consult a professional technician for repairs or maintenance.
Introduction
Thank you for choosing Chicago Pneumatic brand products. For over a century, the Chicago Pneumatic brand has represented performance and innovation in the pneumatic tool industry.
Today the brand is found around the world on a range of pneumatic and hydraulic tools that includes breakers, rock drills, chipping hammers, clay-diggers, picks and busters, scabless, pumps and a whole lot more.
The Chicago Pneumatic brand is associated with powerful and reliable products that are easy to maintain and that give good value for the money.
For more information please visit www.cp.com
Construction Tools EOOD
7000 Rousse
Bulgaria
About the Safety and operating instructions
The aim of the instructions is to provide you with knowledge of how to use the rock drill in an efficient, safe way. The instructions also give you advice and tell you how to perform regular maintenance on the rock drill. Before using the rock drill for the first time you must read these instructions carefully and understand all of them.
Safety instructions
To reduce the risk of serious injury or death to yourself or others, read and understand the Safety and operating instruction before installing, operating, repairing, maintaining, or changing accessories on the machine.
Post this Safety and operating instruction at work locations, provide copies to employees, and make sure that everyone reads the Safety and operating instruction before operating or servicing the machine.
In addition, the operator or the operator’s employer must assess the specific risks that may be present as a result of each use of the machine.
Safety signal words
The safety signal words Danger, Warning and Caution have the following meanings:
- DANGER Indicates a hazardous situation which, if not avoided, will result in death or serious injury.
- WARNING Indicates a hazardous situation which, if not avoided, could result in death or serious injury.
- CAUTION Indicates a hazardous situation which, if not avoided, could result in minor or moderate injury.
Personal precautions and qualifications
Only qualified and trained persons may operate or maintain the machine. They must be physically able to handle the bulk, weight, and power of the tool. Always use your common sense and good judgement.
Personal protective equipment
Always use approved protective equipment. Operators and all other persons in the working area must wear protective equipment, including at a minimum:
- Protective helmet
- Hearing protection
- Impact resistant eye protection with side protection
- Respiratory protection when appropriate
- Protective gloves
- Proper protective boots
- Appropriate work overall or similar clothing (not loose-fitting) that covers your arms and legs.
Drugs, alcohol or medication
WARNING Drugs, alcohol or medication
Drugs, alcohol or medication may impair your judgment and powers of concentration. Poor reactions and incorrect assessments can lead to severe accidents or death.
- Never use the machine when you are tired or under the influence of drugs, alcohol or medication.
- No person who is under the influence of drugs, alcohol or medication may operate the machine.
Installation, precautions
DANGER Whipping air hose
A compressed air hose that comes loose can lash around and cause personal injury or death. To reduce this risk:
- Check that the compressed air hose and the connections are not damaged, replace if necessary.
- Check that all compressed air connections are properly attached.
- Never carry a pneumatic machine by the air hose.
- Never attempt to disconnect a compressed air hose that is pressurized. First switch off the compressed air at the compressor and then bleed the machine by activating the start and stop device.
- Do not use quick disconnect couplings at tool inlet. Use hardened steel (or material with comparable shock resistance) threaded hose fittings.
- Whenever universal twist couplings (claw couplings) are used, we recommend that lock pins are installed and whipcheck safety cables are used to safeguard against possible hose to tool and hose to hose connection failure.
- Never point a compressed air hose at yourself or anyone else. To avoid the risk of getting injured, never use compressed air to blow for example dust, dirt etc. from your clothes.
WARNING Ejected insertion tool
If the tool retainer on the machine is not in a locked position, the inserted tool can be ejected with force, which can cause personal injury.
- Never start the machine while changing the insertion tool.
- Before changing the insertion tool or accessories, stop the machine, switch off the power supply and bleed the machine by activating the start and stop device.
- Never point the inserted tool at yourself or anyone else.
- Make sure that the insertion tool is fully inserted and the tool retainer is in a locked position before the machine is started.
- Check the locking function by pulling the inserted tool outwards forcefully.
WARNING Moving or slipping insertion tool
An incorrect dimension of the inserted tool’s shank can result in that the inserted tool is lost or is slipping out during operation. Risk of severe injury or crushed hands and fingers.
- Check that the insertion tool has the shank length and dimensions that the machine is intended for.
- Never use an insertion tool without a collar.
Operation, precautions
DANGER Explosion hazard
If a warm insertion tool comes into contact with explosives, an explosion could occur. During operation with certain materials as well as use of certain materials in machine parts, sparks and ignition can occur. Explosions will lead to severe injuries or death.
- Never operate the machine in any explosive environment.
- Never use the machine near flammable materials, fumes or dust.
- Make sure that there are no undetected sources of gas or explosives.
- Never drill in an old hole.
WARNING Unexpected movements
The inserted tool is exposed to heavy strains when the machine is used. The inserted tool may break due to fatigue after a certain amount of use. If the inserted tool breaks or gets stuck, there may be sudden and unexpected movement that can cause injuries. Furthermore, losing your balance or slipping may cause injury.
- Make sure that you always keep a stable position with your feet as far apart as your shoulder width, and keeping a balanced body weight.
- Always inspect the equipment prior to use. Never use the equipment if you suspect that it is damaged.
- Make sure that the handles are clean and free of grease and oil.
- Keep your feet away from the inserted tool.
- Stand firmly and always hold on to the machine with both hands.
- Never drill in an old hole.
- Never start the machine when it is lying on the ground.
- Never ‘ride’ on the machine with one leg over the handle.
- Never strike or abuse the equipment.
- Check regularly for wear on the insertion tool, and check whether there are any signs of damage or visible cracks.
- Pay attention and look at what you are doing.
WARNING Stalling hazard
If the insertion tool gets caught during operation, the whole machine will start to rotate if you lose your grip on it. This unexpected rotation of the entire machine may cause serious injury or death.
- Stand firmly and always hold onto the machine with both hands.
- Make sure that the handle or handles are clean and free from grease and oil.
- Never drill in an old hole.
WARNING Trapping hazard
There is risk of neck ware, hair, gloves and clothes getting dragged into or caught by a rotating insertion tool or accessories. This may cause choking, scalping, lacerations or death. To reduce the risk:
- Never grab or touch a rotating drill steel.
- Avoid wearing clothing, neck ware or gloves that may get caught.
- Cover long hair with a hair net.
WARNING Dust and fume hazard
Dusts and/or fumes generated or dispersed when using the machine may cause serious and permanent respiratory disease, illness, or other bodily injury (for example, silicosis or other irreversible lung disease that can be fatal, cancer, birth defects, and/or skin inflammation).
Some dusts and fumes created by drilling, breaking, hammering, sawing, grinding and other construction activities contain substances known to the State of California and other authorities to cause respiratory disease, cancer, birth defects, or other reproductive harm. Some examples of such substances are:
- Crystalline silica, cement, and other masonry products.
- Arsenic and chromium from chemically-treated rubber.
- Lead from lead-based paints.
Dust and fumes in the air can be invisible to the naked eye, so do not rely on eye sight to determine if there is dust or fumes in the air.
To reduce the risk of exposure to dust and fumes, do all of the following:
- Perform site-specific risk assessment. The risk assessment should include dust and fumes created by the use of the machine and the potential for disturbing existing dust.
- Use proper engineering controls to minimize the amount of dust and fumes in the air and to minimize build-up on equipment, surfaces, clothing, and body parts. Examples of controls include: exhaust ventilation and dust collection systems, water sprays, and wet drilling. Control dusts and fumes at the source where possible. Make sure that controls are properly installed, maintained and correctly used.
- Wear, maintain and correctly use respiratory protection as instructed by your employer and as required by occupational health and safety regulations. The respiratory protection must be effective for the type of substance at issue (and if applicable, approved by relevant governmental authority).
- Work in a well ventilated area.
- If the machine has an exhaust, direct the exhaust so as to reduce disturbance of dust in a dust filled environment.
- Operate and maintain the machine as recommended in the operating and safety instructions
- Select, maintain and replace consumables/working tools/ other accessories as recommended in the operating and safety instructions. Incorrect selection or lack of maintenance of consumables/inserted tools/ other accessories may cause an unnecessary increase in dust or fumes.
- Wear washable or disposable protective clothes at the worksite, and shower and change into clean clothes before leaving the worksite to reduce exposure of dust and fumes to yourself, other persons, cars, homes, and other areas.
- Avoid eating, drinking, and using tobacco products in areas where there is dust or fumes.
- Wash your hands and face thoroughly as soon as possible upon leaving the exposure area, and always before eating, drinking, using tobacco products, or making contact with other persons.
- Comply with all applicable laws and regulations, including occupational health and safety regulations.
- Participate in air monitoring, medical examination programs, and health and safety training programs provided by your employer or trade organizations and in accordance with occupational health and safety regulations and recommendations. Consult with physicians experienced with relevant occupational medicine.
- Work with your employer and trade organization to reduce dust and fume exposure at the worksite and to reduce the risks. Effective health and safety programs, policies and procedures for protecting workers and others against harmful exposure to dust and fumes should be established and implemented based on advice from health and safety experts. Consult with experts.
- Residues of hazardous substances on the machine can be a risk. Before undertaking any maintenance on the machine, clean it thoroughly. WARNING Projectiles
Failure of the work piece, of accessories, or even of the machine itself may generate high velocity projectiles. During operating, splinters or other particles from the working material may become projectiles and cause personal injury by striking the operator or other persons. To reduce these risk: - Use approved personal protective equipment and safety helmet, including impact resistant eye protection with side protection.
- Make sure that no unauthorized persons trespass into the working zone.
- Keep the workplace free from foreign objects.
- Ensure that the work piece is securely fixed.
WARNING Splinters hazard
Using the insertion tool as a hand struck tool can result in splinters hitting the operator and can cause personal injury.
- Never use an insertion tool as a hand struck tool. They are specifically designed and heat-treated to be used only in a machine.
WARNING Slipping, tripping and falling hazards
There is a risk of slipping or tripping or falling, for example tripping on the hoses or on other objects. Slipping or tripping or falling can cause injury. To reduce this risk:
- Always make sure that no hose or other object is in your way or in any other person’s way.
- Always make sure you are in a stable position with your feet as far apart as your shoulders width and keeping a balanced body weight.
WARNING Motion hazards
When using the machine to perform work-related activities, you may experience discomfort in the hands, arms, shoulders, neck, or other parts of the body.
- Adopt a comfortable posture while maintaining secure footing and avoiding awkward off-balanced postures.
- Changing posture during extended tasks may help avoid discomfort and fatigue.
- In case of persistent or recurring symptoms, consult a qualified health professional.
WARNING Vibration hazards
Normal and proper use of the machine exposes the operator to vibration. Regular and frequent exposure to vibration may cause, contribute to, or aggravate injury or disorders to the operator’s fingers, hands, wrists, arms, shoulders and/or nerves and blood supply or other body parts, including debilitating and/or permanent injuries or disorders that may develop gradually over periods of weeks, months, or years. Such injuries or disorders may include damage to the blood circulatory system, damage to the nervous system, damage to joints, and possibly damage to other body structures.
If numbness, persistent recurring discomfort, burning sensation, stiffness, throbbing, tingling, pain, clumsiness, weakened grip, whitening of the skin, or other symptoms occur at any time, when operating the machine or when not operating the machine, stop operating the machine, tell your employer and seek medical attention. Continued use of the machine after the occurrence of any such symptom may increase the risk of symptoms becoming more severe and/or permanent.
Operate and maintain the machine as recommended in these instructions, to prevent an unnecessary increase in vibration.
The following may help to reduce exposure to vibration for the operator:
- Let the tool do the job. Use a minimum hand grip consistent with proper control and safe operation.
- If the machine has vibration absorbing handles, keep them in a central position, avoid pressing the handles into the end stops.
- When the percussion mechanism is activated, the only body contact with the machine you should have are your hands on the handle or handles. Avoid any other contact, for example supporting any part of the body against the machine or leaning onto the machine trying to increase the feed force. It is also important not to keep the start and stop device engaged while extracting the tool from the work surface.
- Make sure that the inserted tool is well-maintained (including sharpness, if a cutting tool), not worn out, and of the proper size. Insertion tools that are not well-maintained, or that are worn out, or that are not of the proper size result in longer time to complete a task (and a longer period of exposure to vibration) and may result in or contribute to higher levels of vibration exposure.
- Immediately stop working if the machine suddenly starts to vibrate strongly. Before resuming the work, find and remove the cause of the increased vibrations.
- Never grab, hold or touch the inserted tool when using the machine.
- Participate in health surveillance or monitoring, medical exams and training programs offered by your employer and when required by law.
- When working in cold conditions wear warm clothing and keep hands warm and dry.
- The exhaust air is strongly chilled and shall not make contact with the operator. Always direct the exhaust air away from hands and body.
See the ”Noise and vibration declaration statement” for the machine, including the declared vibration values. This information can be found at the end of these Safety and operating instructions.
- Comply with the recommended air-pressure when operating the machine. Either higher or lower air-pressure has the potential of resulting in higher levels of vibration.
DANGER Electrical hazard
The machine is not electrically insulated. If the machine comes into contact with electricity, serious injuries or death may result.
- Never operate the machine near any electric wire or other source of electricity.
- Make sure that there are no concealed wires or other sources of electricity in the working area.
WARNING Concealed object hazard
During operating, concealed wires and pipes constitute a danger that can result in serious injury.
- Check the composition of the material before operating.
- Watch out for concealed cables and pipes for example electricity, telephone, water, gas and sewage lines etc.
- If the inserted tool seems to have hit a concealed object, switch off the machine immediately.
- Make sure that there is no danger before continuing.
WARNING Involuntary start
Involuntary start of the machine may cause injury.
- Keep your hands away from the start and stop device until you are ready to start the machine.
- Learn how the machine is switched off in the event of an emergency.
- Release the start and stop device immediately in all cases of power supply interruption.
- Whenever fitting or removing the insertion tool, switch off the air supply, bleed the machine by pressing the start and stop device and disconnect the machine from the power source.
WARNING Noise hazard
High noise levels can cause permanent and disabling hearing loss and other problems such as tinnitus (ringing, buzzing, whistling or humming in the ears). To reduce risk and prevent an unnecessary increase in noise levels:
- Risk assessment of these hazards and implementation of appropriate controls is essential.
- Operate and maintain the machine as recommended in these instructions.
- Select, maintain and replace the insertion tool as recommended in these instructions.
- If the machine has a muffler, check that it is in place and in good working condition.
- Always use hearing protection.
- Use damping material to prevent work pieces from “ringing”.
Maintenance, precautions
WARNING Machine modification
Any machine modification may result in bodily injuries to yourself or others.
- Never modify the machine. Modified machines are not covered by warranty or product liability.
- Always use original parts, cutting blades/working tools, and accessories.
- Change damaged parts immediately.
- Replace worn components in good time.
CAUTION Hot working tool
The tip of the working tool can become hot and sharp when used. Touching it can lead to burns and cuts.
- Never touch a hot or sharp working tool.
- Wait until the working tool has cooled down before carrying out maintenance work.
WARNING Working tool hazards
Accidental engagement of the start and stop device during maintenance or installation can cause serious injuries, when the power source is connected.
- Never inspect, clean, install, or remove the working tool while the power source is connected.
Storage, precautions
- Keep the machine and tools in a safe place, out of the reach of children and locked up.
Overview
To reduce the risk of serious injury or death to yourself or others, read the Safety instructions section found on the previous pages of this manual before operating the machine.
Design and function
CP 0009 and CP 0014 are combined drilling and breaking machines, designed for horizontal and vertical use.
CP 0009 is equipped with a quick-change retainer and has right-hand rotation. The machine can be adapted for drilling or breaking by changing the insertion tool or by activating the rotation release depending on model. Examples of use are drilling, chipping or chasing in concrete or brick. No other use is permitted.
CP 0014 is equipped with a spring type retainer and has right-hand rotation. The machine can be adapted for drilling or breaking by activating the rotation release. Example of use as a rock drill are drilling in granite, concrete, limestone, or brick, or other similar materials. As a hammer can it be used for chipping or chasing in concrete or brick. No other use is permitted.
To choose the correct insertion tool, see the spare parts list.
Main parts
CP 0009

CP 0014

- A. Handle
- B. Air inlet nipple
- C. Tool retainer
- D. Muffler
- E. Start and stop device
- F. Lubricator
- G. Rotation release
- H. Side bolt
Labels
The machine is fitted with labels containing important information about personal safety and machine maintenance. The labels must be in such condition that they are easy to read. New labels can be ordered from the spare parts list.
Data plate

- A. Machine type
- B. Maximum permitted compressed air pressure
- C. Serial number
- D. The warning symbol together with the book symbol means that the user must read the safety and operating instructions before the machine is used for the first time.
- E. The CE symbol means that the machine is EC-approved. See the EC declaration which is delivered with the machine for more information. If the CE symbol is missing, it means that the machine is not EC-approved.
Noise level label

The label indicates the guaranteed noise level corresponding to EC-directive 2000/14/EC. See “Technical data” for accurate noise level.
Safety label

To avoid injury, before using or servicing tool, read and understand separately provided safety instructions.
Installation
Unpacking the drill
- Plastic guards
Before the drill is used for the first time remove all the plastic guards from the hose nipples. - Lubricate
After unpacking and installing the tool, pour a liberal amount of lubrication oil in the air connection.
Hoses and connections

- A. Compressed air source
- B. Water separator (optional)
- C. Oiler (optional)
- D. Max. 10 feet (3 meter) compressed air hose between the oiler and the machine.
- Check that you are using the correct recommended operating pressure, 87 psig (6 bar (e)).
- The maximum permissible air pressure, 90 psig (6.2 bar (e)), must not be exceeded.
- Blow any impurities out of the compressed air hose before connecting it to the machine.
- Select the correct dimension and length for the compressed air hose. For hose lengths up to 100 feet (30 meters), a hose with a minimum internal diameter of 3⁄4 in. (19 mm) should be used. If the hose length is between 100 and 330 feet (30 and 100 meters), a hose with a minimum internal diameter of 1 in. (25 mm) should be used.
Methods to prevent freezing
Ice formation in the muffler can occur when the ambient air temperature is 32-50 °F (0–10°C) and the relative humidity is high.
The machine is designed to avoid the formation of ice in the muffler. Despite this, under extreme conditions ice can form in the muffler.
To further counteract the risk of ice formation, use a water separator.
Connecting a water separator
The length of the air hose between the compressor and the water separator must be such that the water vapour is cooled and condenses in the hose before reaching the water separator.
If the ambient temperature is below 32 °F (0 °C) the hose must be short enough to prevent the water from freezing before reaching the water separator.
Lubrication
The lubricant is important for the machine’s function and has a great impact on the service life.
Indications of proper lubrication are the presence of oil mist in the exhaust air and of slight traces of oil on the drill or adapter shank. Too much lubrication can cause starting problems, low power or uneven performance.
In order to supply the correct volume of oil, the built in oiler should be checked and filled regularly. In addition, use of an air line oiler is recommended to assure a constant and adequate supply of lubricant.
Recommended Lubricant: Rockdrill oil with a viscosity of 100-150 SUS at 100°F (ISO VG 22–32).

CP 0009
Daily before using and after each four hours of service, remove the plug (A) and saturate the felt and fill the oil receiver with recommended oil.

CP 0014
Daily before using and after each four hours of service, remove the plug (B) and fill the oil receiver with recommended oil.
Insertion tool
CAUTION Hot working tool
The tip of the working tool can become hot and sharp when used. Touching it can lead to burns and cuts.
- Never touch a hot or sharp working tool.
- Wait until the working tool has cooled down before carrying out maintenance work.
Selecting the right insertion tool
Selecting the right insertion tool is a precondition for proper machine function. It is important to select insertion tools of high quality to avoid unnecessary machine damage.
The machine can be destroyed if you use an incorrect insertion tool.
Recommended insertion tools are listed in the machine’s spare parts list.
WARNING Vibration hazard
Using inserted tools that do not fulfil the criterias mentioned below, will result in a longer time to complete a task, and may result in higher levels of vibration exposure. A worn tool will also cause increased working time.
- Make sure that the inserted tool is well-maintained, not worn out and of the proper size.
- Always use a sharp tool in order to work efficiently.

NOTICE Never cool a hot insertion tool in water, it can result in brittleness and early failure.
WARNING Ejected insertion tool
If the tool retainer on the machine is not in a locked position, the inserted tool can be ejected with force, which can cause personal injury.
- Before changing the insertion tool, stop the machine, switch off the compressed air supply and bleed the machine by activating the start and stop device.
Before fitting the insertion tool
Check that the tool shank is of the correct size and length for the chuck used. The shank must be clean and the tool must be in good condition. Shanks which are chipped, rounded, out of square or too hard on the striking end will operate inefficiently and cause premature piston failure.
Inspect the drill steel:
A dull drill steel will slow down the drilling speed and overstrain the drill mechanism. When changing drill steel make sure that the new one is the correct size to follow your previous bore.
Before drilling, check that the flushing hole in the drill steel is not blocked.
NOTICE If burrs are raised around the four ball slots in the shank of the insertion tool, polish them smoothly. It will result in easier entry and removal of the insertion tool, and also an efficient operation of the chuck.
Fitting the insertion tool
Whenever fitting the insertion tool the following instructions must be observed:
CP 0009
- Pull the tool retainer and hold it backwards in the direction of the arrow, insert the insertion tool in the chuck at the same time.

- When the insertion tool bottoms, lock the tool retainer by releasing it. Check the lock function by pulling the inserted tool sharply outwards.

CP 0014
- Push the tool retainer upwards in the direction of the arrow.

- Insert the insertion tool in the chuck.

- When the insertion tool bottoms, push back the tool retainer to lock it.

Removing the insertion tool
Whenever removing the insertion tool the following instructions must be observed:
CP 0009
- Pull the tool retainer and hold it backwards in the direction of the arrow, remove at the same time the insertion tool by pulling it out.

CP 0014
- Push the tool retainer upwards in the direction of the arrow.

- Pull the insertion tool out.

- Push back the tool retainer.

Operation
Preparations before starting
Check the equipment
- Check that all of the equipment is in good condition.
- Check that the impact surface of the insertion tool shank is flat, with no signs of wear.
- Make sure that the air inlet and exhaust ports are free from obstructions.
- Check that the flushing hole in the drill steel is not blocked, and that the flushing air flows through without obstruction.
- Ensure that the fittings are tight and leak-proof.
DANGER Whipping air hose
A compressed air hose that comes loose can lash around and cause personal injury or death
- Check that the compressed air hose and the connections are not damaged.
- Check that all compressed air connections are properly attached.
Blow out the air hose
- Every day before using the drill, blow out the air hose to clear it of accumulated dirt and moisture.
Fill the lubricator with oil
- Check that the chuck and insertion tool shank are always covered with a film of oil.
Start and stop
WARNING Involuntary start
Involuntary start of the machine may cause injury.
- Keep your hands away from the start and stop device until you are ready to start the machine.
- Learn how the machine is switched off in the event of an emergency.
- Stop the machine immediately in all cases of power supply interruption.
Start and stop

Start the machine by squeezing the trigger while firmly holding the handle.

Stop the machine by releasing the trigger. The trigger returns automatically to the stop position.
Operating Instruction
Starting a cut
- Stand in a stable position with your feet well away from the inserted tool.
- Press the machine against the working surface before you start.
- Start collaring at such a distance from the edge that the machine is capable of breaking the material without levering.
- Never try to break off too large pieces. Adjust the breaking distance (A) so that the inserted tool does not get stuck.

Breaking and drilling
- Use protective shoes, gloves, helmet, ear protectors, and impact resistant eye protection with side protection.
- Avoid working in extremely hard materials for example granite and reinforcing iron (re-bar) which would cause substantial vibrations.
- Check regularly that the machine is well lubricated.
- When the machine is lifted, the start and stop device must not be activated.
- Any form of idling, operating without insertion tool or operating with an uplifted machine must be avoided.
- Stand firmly and always hold the machine with both hands.
- Hold the inserted tool firmly against the work surface before starting the machine.
- Let the machine do the work; do not press too hard.
When taking a break
- During all breaks you must place the machine in such a way that there is no risk for it to be unintentionally started.
- In the event of a longer break or when leaving the workplace: Switch off the power supply and then bleed the machine by activating the start and stop device.
Maintenance
Regular maintenance is a basic requirement for the continued safe and efficient use of the machine. Follow the maintenance instructions carefully.
- Before starting maintenance on the machine, clean it in order to avoid exposure to hazardous substances. See “Dust and fume hazard”.
- Use only authorized parts. Any damage or malfunction caused by the use of unauthorized parts is not covered by warranty or product liability.
- When cleaning mechanical parts with solvent, comply with appropriate health and safety regulations and ensure there is satisfactory ventilation.
- For major service of the machine, contact the nearest authorized workshop.
- After each service, check that the machine’s vibration level is normal. If not, contact the nearest authorized workshop.
Every day
Before undertaking any maintenance or changing the insertion tool on pneumatic machines, always switch off the air supply and bleed the machine by depressing the start and stop device then disconnect the air hose from the machine.
- Clean and inspect the machine and its functions each day before the work commences.
- Conduct a general inspection for leaks and damage.
- Check that the air inlet nipple is tightened and that the claw coupling is free from damage.
- Check the function of the retainer. Make sure that it locks the insertion tool.
- Change damaged parts immediately.
- Replace worn components in good time.
- Check the side bolts of the machine. Make sure that they are tightened.
- If the machine is equipped with a muffler, check for damage.
Periodic maintenance
After each operating period of approximately 100 working hours or three times a year the machine must be dismantled and all parts be cleaned and checked. This work must be performed by authorized staff, trained for this task.
Tightening torques

Assembly
When assembly the machine, be aware of the following:

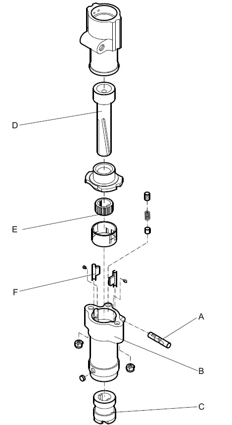
- Place the rotation release shifter plunger (A) in the fronted (B) before assembling the chuck sleeve (C).
- Be sure that the straight spline on the piston (D) engages the straight spline on the chuck sleeve (C), and that the spiral spline on the piston (D) engages the spiral spline of the ratchet ring (E).
- Assembly the ratchet ring (E) in the fronted (B), so that the flats of the ratchet teeth engage the end of the pawls (F).
- Tighten thru bolts evenly to prevent binding. After tightening, rotate the chuck manually to make sure that the rotation is free.
Storage
- Clean the machine properly before storage, in order to avoid hazardous substances. See “Dust and fume hazard”
- Pour approximately 1⁄2 oz (5 cl) of oil directly into the air inlet nipple, connect the machine to the compressed air supply and start it for a few seconds.
- Always store the machine in a dry place.
Disposal
A used machine must be treated and disposed of in such a way that the greatest possible portion of the material can be recycled and any negative influence on the environment is kept as low as possible, and in respect to local restrictions.
Technical data
Machine data
| Type | Shank dimension in. (mm) | Weight lb (kg) | Piston bore in. (mm) | Stroke length in. (mm) | Overall length in. (mm) | Air consumption (6 bar) cfm (l/s) | Impact rate (6 bar) Hz (bpm) |
| CP 0009 A | Round 3⁄4 x 33⁄4 (Round 19 x 95) | 8.16 (3.7) | 1.25 (31.8) | 1.38 (35) | 14.76 (375) | 19 (9) | 57 (3420) |
| CP 0009 AC | Round 3⁄4 x 33⁄4 (Round 19 x 95) | 8.16 (3.7) | 1.25 (31.8) | 1.38 (35) | 14.76 (375) | 19 (9) | 57 (3420) |
| CP 0009 CS | Round 3⁄4 x 33⁄4 (Round 19 x 95) | 9.48 (4.3) | 1.25 (31.8) | 1.38 (35) | 14.76 (375) | 19 (9) | 57 (3420) |
| CP 0009 E | Round 3⁄4 – Hexagon 9⁄16 x 31⁄2 | 8.16 (3.7) | 1.25 (31.8) | 1.38 (35) | 14.76 (375) | 19 (9) | 57 (3420) |
| (Round 19 – Hexagon 14.7 x 89) | |||||||
| CP 0009 ES | Round 3⁄4 – Hexagon 9⁄16 x 31⁄2 | 9.48 (4.3) | 1.25 (31.8) | 1.38 (35) | 14.76 (375) | 19 (9) | 57 (3420) |
| (Round 19 – Hexagon 14.7 x 89) | |||||||
| CP 0009 F | spline | 8.16 (3.7) | 1.25 | 1.38 | 14.76 | 19 | 57 |
| (31.8) | (35) | (375) | (9) | (3420) | |||
| CP 0014 RR | Hexagon 7⁄8 x 31⁄4 (Hexagon 22 x 82.5) | 14.99 (6.8) | 1.87 (47.6) | 1.38 (35) | 18.50 (470) | 47 (22) | 42 (2520) |
| CP 0014 RRBS | Hexagon 7⁄8 x 31⁄4 (Hexagon 22 x 82.5) | 15.87 (7.2) | 1.87 (47.6) | 1.38 (35) | 18.50(470) | 47 (22) | 42 (2520) |
Noise and vibration declaration statement
Guaranteed sound power level Lw according to EN ISO 3744 in accordance with directive 2000/14/EC.
Sound pressure level Lp according to EN ISO 11203.
Vibration value A and uncertainty B determined according to EN ISO 28927-10. See table ”Noise and vibration data” for the values of A, B, etc.
These declared values were obtained by laboratory type testing in accordance with the stated directive or standards and are suitable for comparison with the declared values of other tools tested in accordance with the same directive or standards. These declared values are not suitable for use in risk assessments and values measured in individual work places may be higher. The actual exposure values and risk of harm experienced by an individual user are unique and depend upon the way the user works, in what material the machine is used, as well as upon the exposure time and the physical condition of the user, and the condition of the machine.
We, Construction Tools PC AB, cannot be held liable for the consequences of using the declared values, instead of values reflecting the actual exposure, in an individual risk assessment in a work place situation over which we have no control.
This tool may cause hand-arm vibration syndrome if its use is not adequately managed. An EU guide to managing hand-arm vibration can be found at
http://www.humanvibration.com/humanvibration/EU/VIBGUIDE.html
We recommend a programme of health surveillance to detect early symptoms which may relate to vibration exposure, so that management procedures can be modified to help prevent future impairment.
Noise and vibration data
| Noise | Vibration | |||
| Declared values | Declared values | |||
| Sound pressure | Sound power | Three axis values | ||
| EN ISO 11203 | 2000/14/EC | EN ISO 28927-10 | ||
| ModeL | Lp r=1m dB(A) rel 20μPa | Lw guaranteed dB(A) rel 1pW | A m/s 2 value | B m/s 2 spreads |
| CP 0009 A (for breaking) | – | – | 20.2 | 2.5 |
| CP 0009 A (for drilling) | – | – | 21.2 | 2.6 |
| CP 0009 AC (for breaking) | – | – | 20.2 | 2.5 |
| CP 0009 AC (for drilling) | – | – | 21.2 | 2.6 |
| CP 0009 CS (for breaking) | 88 | 103 | 20.2 | 2.5 |
| CP 0009 CS (for drilling) | 88 | 103 | 21.2 | 2.6 |
| CP 0009 E (for breaking) | – | – | 20.2 | 2.5 |
| CP 0009 E (for drilling) | – | – | 21.2 | 2.6 |
| CP 0009 ES (for breaking) | 88 | 103 | 20.2 | 2.5 |
| CP 0009 ES (for drilling) | 88 | 103 | 21.2 | 2.6 |
| CP 0009 F (for breaking) | – | – | 20.2 | 2.5 |
| CP 0009 F (for drilling) | – | – | 21.2 | 2.6 |
| CP 0014 RR (for breaking) | – | – | 35.4 | 4.5 |
| CP 0014 RR (for drilling) | – | – | 45.3 | 5.2 |
| CP 0014 RRBS (for breaking) | – | – | 35.4 | 4.5 |
| CP 0014 RRBS (for drilling) | – | – | 45.3 | 5.2 |
EC Declaration of Conformity
EC Declaration of Conformity (EC Directive 2006/42/EC)
We, Construction Tools PC AB, hereby declare that the machines listed below conform to the provisions of EC Directive 2006/42/EC (Machinery Directive).
- Handheld rotary hammers Pmax (bar)
- CP 0009 CS 6.2
- CP 0009 ES
Following harmonized standards were applied:
EN ISO 11148-4
Technical Documentation authorized representative: Per Forsberg
Construction Tools PC AB
Dragonvägen 2
Kalmar
Vice president Design and Development:
Erik Sigfridsson
Manufacturer:
Construction Tools PC AB
Box 703
391 27 Kalmar
Sweden
Place and date:
Kalmar, 2012-06-30
2015-01 | No. 9800 0547 90c
© Copyright Atlas Copco Construction Tools AB | KALMAR • SWEDEN



























