093835
ROTARY HAMMER DRILL, (ATEX) – PNEUMATIC
Illustration can differ from the original
Operation and
Maintenance Manual
093835 Rotary Hammer Drill
![]()
TECHNICAL SPECIFICATIONS
| Operating pressure | 90 PSI | 6 bar |
| Air connection | R ½” female | R ¼” i |
| Motor output | 0 675 HP | 0 5 kW |
| Air consumption | 21 cfm | 0 6 m3/min |
| Water connection ball cock | R 1/4″ | R V,” |
| I/D of hose | 0.4 inches | 10 mm |
| Free speed | 0-625 rpm | 0-625 1/min |
| Speed under load | 0-440 rpm | 0-440 1/min |
| Percussion drilling under load | 0-3000 blows/min | 0-3000 blows/min |
| Drilling range in concrete | 0.19685 — 1.102 inches dia. | 5-28 mm dia. |
| Drilling capacity in concrete of medium hardness | 0.4728 dia. = 2.0853 cu. in = 11.82 inches/ min | 12 mm dia.= 34³/min = 300 mm/min |
| Optimum drilling performance in concrete | 0.472 -0.787 inches dia. | 12-20 mm dia. |
| Drilling in steel (with quick-release chuck) | 0.19685 — 0.5118 inches dia. | 5-13 mm dia. |
| Drilling in wood (with quick-release chuck) | 0.19685 — 1.1811 inches dia. | 5-30 mm dia. |
| Motor oil capacity | 4 6 cu in | 75 cm3 |
| Weight (without hoses) | 13 9 lhs | 6 3 ko |
| Dimensions (1 x H x W) | 16 14×9 45)(3 94 inches | 410x240x100 mm |
| Tool holder | SDS Plus | |
| Sound level | 93 dB(A) | |
| Vibration measurement | 4.5 m/s2 | |
| Safety clutch for protection aaainst overloading and accidents | ||
| Sealed Gears with permanent lubrication (maintenance free) | ||
| Adiustable side handle with depth aauae and water flushing. | ||
| Supplied kit: 1 carrying case, 1 dust guard, 1 oil ampul (50 cc) | ||
SAFETY INSTRUCTIONS
Any power tool can be dangerous.
Please follow these simple procedures.
They are for your protection.
| Wear goggles ( chips – risk of injury) | |
| Wear gloves (cutting damages by sharp edged work pieces) | |
| Wear safety shoes | |
| Wear protective clothing |
Remove rings, watches, ties etc. that could be torn by the machine.
Dress properly. Do not wear loose clothing or jewellery, it can be caught in moving parts.
Follow the general current and appropriate Accident Prevention and Safety Procedures.
Never work under the influence of alcohol, drugs or stronger medication.
Always make sure that you have a safe foothold.
Maintain a proper footing and balance at all time. Never work with the machine while standing on a ladder or leaning against a scaffold.
Secure the working place well. Use clamps or a vice to fix the work piece. This is safer than using hands and clears both hands for operating the machine.
Hold the machine tight during operation.
Keep your working area clean and uncluttered.
Keep children away and avoid other persons to come into contact with the machine.
Switch off the machine if it stops – for any reason – to avoid the unexpected starting in uncontrolled condition.
Do not operate the tool if it is damaged, improperly adjusted or not completely and correctly assembled.
Check air hose for damage.
Work with oleiferous air only.
Avoid sparks in hazardous environment – created by the drill. Always flush material and drill for cooling with sufficient water during working.
Do not employ machines by excessive force. Their performance is better and safer, if they work at the prescribed speed.
Check damaged parts.
Before using the machine, damaged parts or protective devices should be carefully checked to make sure they work soundly and fulfil the designated function. Check alignment, connections and attachment of moving parts. Also check if parts are broken. Parts or protective devices that are damaged should, if nothing else is mentioned in these operating instructions, only be exchanged or repaired by qualified personnel. The same applies to defective switches and valve triggers. If the machine cannot be switched on or off with the valve trigger, it should not be used.
The use of other accessories, or other additional items than recommended in these operating instructions, may include the risk of bodily injury.
Only operate the tool after a thorough training or under supervision of a trainer.
Never exceed the maximum operation pressure.
Follow the valid national provisions in the country of application.
ATTENTION! Never use the flexible hose as a lifting handle!
Use
Intended Use
The machine is designed for drilling into concrete and masonry. The machine is intended to be used by professional operators. Only authorised and trained personnel may use, maintain and repair the machine. The personnel has to be especially instructed on the potential dangers. The working environment can be: construction site, factory, renovation, rebuilding and building.
Manipulation or modifications to the machine are not allowed. Observe the instructions regarding the operation, care and maintenance in the operation instruction. Dangers can come from the machines and the auxiliary materials, if improperly handled or used.
Improper Use
Any use deviating from the intended use as described is considered to be improper use.
Working without personal protection equipment.
Danger Zones
| Operational condition Life phase | Normal function | Malfunction | Improper use | Expected use |
| Transport | Transport of the machine in an inoperable condition | Drop of the machine | Transport of the machine in an operable condition | unknown |
| Operation | Machine only works with actuated valve | Machine runs without actuated valve | Switch is blocked in actuated condition | unknown |
| Machine moves the tool | Tool blocks | unknown | unknown | |
| Maintenance | Operation at a maintenance unit | Breakdown of the machine | unknown | unknown |
OPERATION INSTRUCTIONS
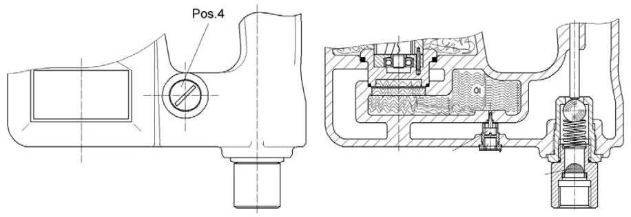
Before using the machine:
Open oil plug item 4 and pour in oil from oil ampul in the machine box.

Do not exert undue pressure on the machine. This will not increase its performance. Just position the bit and guide it into the hole.
Placing the machine into the box
Make sure the adjusting sleeve is locked at the setting “rotary hammer drilling”. Side handle
This can be turned through 360° and clamped in any desired position.
Depth gauge
Press unlock button, adjust the depth gauge and release button.
Lubrication of shank end
Occasionally clean shank ends and spray sparingly with lubricant sprayer. Do not spray into the chuck.

Drilling in explosive surroundings
Fig.1: The drill must be water cooled to avoid sparks. Water connection on ball cock.
Rotary hammer drilling
Fig.2: Pull back the adjusting sleeve and turn it clockwise to lock. Do not use the quick-release chuck at this setting because drills and tools will be damaged.
Fig.3: Pull back the locking sleeve and insert the drill. Turn the locking sleeve until it snaps back into the outset position. Press the machine against the work surface before switching on otherwise the tool will not hammer. If the drill sticks in the hole, withdraw and reinsert it several times when drilling.
Fig.4: When starting to drill into brittle materials (tiles etc), unlock the adjusting sleeve to “rotary drilling only”, hold the machine by the adjusting sleeve and press it slowly against the work surface until it hammers weakly. Hold and continue to drill the hole. Switch off the machine briefly and relock the adjusting sleeve.
Rotary drilling only
Fig. 5: Unlock the adjusting sleeve. The quick-release chuck is used at this setting. Commercially available twist drills can be used in the quick-release chuck.
OPERATING INSTRUCTION FOR UNDERWATER TOOLS
Before working under water
- Check the machine with regard to leakages
- Check the machine regarding functioning of all parts (drilling, striking, actuating valves, etc.)
- Spraying of all moving parts with spray OKS 8604 (or similar).
- Fitting the tools with grease.
After having worked under water
- Clean the machine
- Dry the machine by blowing out with compressed air
- Spraying of all moving parts with spray OKS 8604 (or similar).
For additional information refer to the machine specific operation and maintenance manual as well.
Maintenance Instructions
Our pneumatic motors are designed for an operation pressure of 4 -6 bar (65-90 PSI).
Service life and performance of the machines are decisively determined by:
a) The air purity
Blow the air hose clear before connecting it to the machine. Install dirt and water separator upstream of the machine, if it is not possible to prevent the formation of rust and water condensation in the air distribution lines.
b) The lubrication conditions and maintenance see „Maintenance of pneumatic tools“
The proper quantity of grease is very important with regard to good lubrication and low heat generation. The grease quantities listed in the following table must be complied with:
| Grease | Quantity in grams |
| In the crank casing | 5 |
| In the bevel gears | 5 |
| In the spur gears | 10 |
Maintenance of pneumatic tools
Only proper maintenance can ensure constant performance, reduction in wear and thus, a decrease in operating costs and an increase in service life.
Our pneumatic tools are equipped for an operating pressure of 6 bar. A regulator setting for an operating pressure of 4 bar is possible as well as expedient for grinding
machines with a built-in regulator so as to take full advantage of the speed prescribed for the corresponding grinding wheels.
Pneumatic tools should not run empty, because this results in heat and higher wear. The compressed air should be clean and dry.
This is guaranteed by a proper pneumatic system. Blow through the pneumatic hose before connecting it.
For the economical use of pneumatic tools. The prescribed air quantities are necessary, i. e. , the line, armatures and hoses must have the required cross sections so that the flow pressure remains constant.
Proper lubrication is a must; for this reason, our pneumatic tools usually have built-in oilers. Which are located between the inlet valve and the motor, and which function in any position. In smaller and lighter hand tools, these oilers must often be left out, because the machines would then be too heavy and not easy to manage. In such
cases, lubrication must be carried out by service units or by manual hose oilers. We recommend service units for permanently installed workplaces (see accessories list). However, where longer hose lines are necessary.
line oilers built into the hose lines are more effective. The distance between the tool and oiler should not be more than 5 m. Most of pneumatic tools have located at the connection a lined-up screen, which is to be regularly checked and cleaned.
After ending a working task, the machines are to be flushed with a thin oil, or protected some other way against corrosion.
Visible grease nipples are provided for regular lubrication of the gears with a grease gun. Note the following for grease lubrication: Every 60 hours of operation check striking
mechanism, friction bearings and antifriction bearings; if necessary, grease them.
Every 300 hours of operation grease the gears and antifriction bearings anew.
In the case of impact wrenches, use a grease gun to grease the anvil guide before beginning daily work or every 6 to 8 hours.
All inner parts must be lubricated before storing for longer periods of time in order to prevent rusting.
It is recommended to check the vanes and bearings at regular intervals. Store pneumatic tools in dry rooms only.
Lubricating oils to be used:
Generally SAE 5 W to SAE 10 For gearless impact wrenches and small grinders, only SAE 5 W.
For damp compressed air, oils are to be used that take up water ( without losing the lubricating effect) and that contain anticorrosive additives. At lower temperatures (especially for work outside) it may be necessary to use an antifreeze lubricant (e.g. Kilfrost, BP Energol AX 10, Kompranol N 74).
For saw-chain lubrication on chain saws:
Machine oil with adhesive additive, viscosity c ST 49-55’ (6.5-7.5 E)/ 50°C
Greases ( free of resins and acids)
Multi-purpose greases for antifriction and friction bearings Special greases for high-speed miter gears
| Designation in accordance with DIN 51502 Consistency class (DIN 51818) Saponification type Dripping point Worked penetration Temperature range | K L 2 k 2 Lithium 185 °C 265 to 295 -25°C to + 125°C | G 000 h 00 Sodium 145°C 400 to 410 -25°C to + 100°C |
Before starting: Check correct oiler setting!
Oiler types used on or with our tools
Oiler to mount on the machine or connect in the hose line
Setting the oiler: The adjustment screw item 2 is visible after removing the screw plug item 3. Theoil supply is decreased by tightening the screw, and by loosening the screw, more oil gets into the machine. In most cases it is sufficient to tighten or loosen the screw by ¼ or ½ of a turn. When plugged, clean borehole (dia. 2 mm) with wire.
Correct setting; When under pressure and with the filler screw (item 4) open, the oil must bubble slightly. The fillint lasts for approx. 8 operating hours.
Line oiler
For stationary pneumatic machines and motors, the lubrication is carried out by lined-up oilers for horizontal or vertical installation.
Setting of oilers: Shut off air supply. Open plug item 3.
Loosen visible lock nut item 5 with a socket wrench.
Using a screw driver turn back the tightened screw plug item 4 by ¼ to ½ of a turn and then lock again.
No oil is to get into the borehole “a” when filling. Close plug item 3 and open the air supply.
Correct setting: A piece of paper held for a short time in front of the outlet must be coated with oil without drops forming.
Transparent oiler
For installing in permanently equipped workplaces (especially for type using service units – see accessories list)
The transparent supply containers allow for good checking as well as for good setting possibility by means of a screw driver via a set screw with visible dripping. (The set screw is above the lateral thread connection – turning to the right for less oil; turning to the left for more oil) The setting (2 to 5 drops per m³/min air consumption) is to be carried out when air is flowing through, i.e., when the machine is running.
Spare Parts and Accessories
Only original spare parts may be used. There is no warranty for damages and liability is disclaimed, if non-original spare parts and accessories are used.
The repairing of the machine is allowed authorised expert companies only.
The accessories applicable with our machine are listed in our brochure.
Troubleshooting
| Problem | Cause | Remedy | |
| a | Machine does not start | Air not connected | Connect and open air line |
| b | Machine rotates too slowly | Operating pressure too low | Increase operating pressure (on the machine) to 6 bar |
| c | Gearbox makes strong noise | Contact authorized expert company | |
| d | Other problems | Contact authorised expert company |
224040010_30_40_BA_en_Version_01

















