CML3AIR Hydraulic Motorcycle Lift
Instruction Manual
HYDRAULIC MOTORCYCLE LIFT
MODEL NO: CML3, CML3AIR
PART NO: 7610143, 7610144
INTRODUCTION
Thank you for purchasing this CLARKE hydraulic motorcycle lift.
Before attempting to operate this product, it is essential that you read this manual thoroughly and carefully follow all instructions given. In doing so you can look forward to the product giving you long and satisfactory service.
GUARANTEE
This CLARKE product is guaranteed against faulty manufacture for a period of 12 months from the date of purchase. Please keep your receipt as proof of purchase.
This guarantee is invalid if the product is found to have been abused or tampered with in any way, or not used for the purpose for which it was intended.
Faulty goods should be returned to their place of purchase, no product can be returned to us without prior permission.
This guarantee does not effect your statutory rights.
SPECIFICATIONS
| Model Number | CML3 & CML3AIR |
| Maximum Load | 450 kg |
| Minimum Table Height | 130 mm |
| Maximum Table Height | 770 mm (excl wheel clamp) |
| Net weight inc wheel clamp | 139kg (CML3) 145 kg (CML3A) |
| Table length | 2200 mm |
| Table length with ramp | 2790 mm |
| Operating air pressure (Air version only) | 120-200 psi ( 8.27-13.78 bar) |
| Operating temperature range | 4°C – 40°C |
SAFETY PRECAUTIONS
- NEVER exceed the safe working load of 450 kg and only use the motorcycle lift for its intended purpose.
- NEVER use the lift if it has been subjected to an abnormal load or shock. It should be removed from service immediately and fully inspected by qualified personnel before being passed as serviceable before being used again.
- NEVER rely on the hydraulic ram to support the table when loaded. Always use the locking bar to hold the table in one of the two positions provided.
- NEVER crawl or reach under the platform unless it is mechanically locked using the safety bar provided.
- ALWAYS use the lift on a solid, flat, level surface.
- ALWAYS screw down the stabilisers before putting the table under load.
NOTE: The castors are not designed to take the weight of the motorcycle but are used merely to move the lift quickly and easily around the workshop. On no account must you raise a loaded platform unless the stabilisers are screwed down, and NEVER use the lift to transport a load.
- ALWAYS use appropriate safety equipment such as protective footwear when using this lift.
- ALWAYS inspect the lift before use to ensure it is in good condition and replace any damaged or worn parts.
- ALWAYS use spare parts supplied by Clarke International. Using nonstandard parts could be extremely dangerous.
- ENSURE the operator is trained in both operational and safety aspects of using this product.
- NEVER leave this lift unattended whilst there is a load on it.
- NEVER allow children or bystanders anywhere near this lift whilst it is in use.
ASSEMBLY & PREPARATION
Check to ensure that no damage has occurred during transit. Any damage should be reported to your Clarke dealer immediately.
Using a clean, level area, unpack the equipment, laying out the loose items.
The motorcycle lift is packed flat in its lowest position. It is fully assembled, except for ancillary items which are fitted as follows.
- Attach the largest foot lever, (A), to its square spigot on the base of the unit, with the foot pedal facing upwards and set at approximately 10 o‘clock – looking side on.
- Attach the lowering pedal (B) in the manner shown in Fig.2.
- Attach the safety plate (C), using the nuts, bolts and washers provided. This plate is essential to prevent accidental contact with the lowering pedal which could result in unexpected lowering of the table.
- Attach the two castors (D), securing with the nuts bolts and washers provided.
- Attach the ramp (E) by dropping the lugs into the holes in the table and securing with the ‘R’ clips provided.
- CML3 – Pump the foot pedal very gently to begin with, to ensure that all parts are free. Continue to pump the pedal and observe the table rising. If any resistance is felt, investigate to ensure that no part is jammed by a loose or stray ancillary component.


- When the table is at its full height, it should be possible to insert the locking bar (F), through the hole in the frame, (adjacent to the castor mounting bracket), the corresponding holes in each side of the front lifting arm and out through the opposite side of the frame.
• The locking bar secures the table to prevent any possibility of it lowering while working, and to provide a table working platform.
- Press the lowering lever (B) so that the weight of the table is taken by the locking bar.
- Attach the front wheel clamps (G & H) and stop Plate (J) in the manner shown in Fig.4.
- Attach the lashing eyes (K), – one to each side as shown in Fig. 4. The lift is now fully assembled.
CML3AIR
- Using all safety precautions with regard to using air equipment – (REFER TO THE AIR COMPRESSOR MANUAL), connect a suitable air hose equipped with a snap on type connector to the hand controller shown in Fig. 5.
• The hand controller is located on the end of the hose leading to the hydraulic ram. - Start the compressor with the outlet pressure set to zero and then open the outlet valve.
- Set the output pressure to between 8 – 13 bar, depending upon the compressor size.
- Press down the operating lever of the hand controller. The ram will begin to operate and the platform will rise. Be prepared to release the lever immediately should any part of the lift become snagged.
- Raise the platform to its maximum height, then proceed as described in para. 7.

NOTE: A 1HP (MIN) air compressor is recommended for operation, although a 2HP compressor will increase the speed of operation.
FURTHER ASSEMBLY
When the pedal is assembled you may find that the foot plate is too near the bottom of the safety plate. If so make these adjustments.
- Raise the table and engage the safety locking bar as described on page 5 point 7.
- When the table is secure, identify the adaptor, pin and ‘R’ clip as shown above.|

- Remove the ‘R’ clip and pin and let the link bar drop down from between the flanges of the adaptor.
- Loosen the adaptor from the threaded pin by 2 – 3 threads.
- Refit the link bar using the pin and ‘R’ clip’.
- The foot plate should have lowered in relation to the pedal guard.
- If the necessary foot plate position has not been reached, Repeat the operation (Do not loosen the adaptor too much, make sure that sufficient thread engages with the pin).
SYSTEM AIR PURGE
In the event of the platform not pumping up to full height it may be necessary to purge air from the hydraulic system.
- Pump up the platform as far as possible then fully lower using the lowering pedal.
- Remove the filler plug to release any trapped air, top up the reservoir with clean hydraulic fluid and re-insert the plug.
- Repeat operations 1 and 2 (above) until all air is purged from the system.
If the above procedure does not cure the fault contact you local Clarke dealer.
TO LOWER THE LIFT
As the weight of the table is taken by the Locking Bar, it is necessary to pump the Foot Lever slightly in order to take the strain and then remove the Locking Bar.
- Visually check under and around the lift to ensure that no obstruction will interfere when lowering the table.
- Depress the lowering lever until the table is at its lowest position.
- To maneuver the lift around the workshop, screw up the stabilizers to allow the castors to function. For storage purposes, always screw the stabilizers down to take the weight off the castors.
OPERATION
Always carry out a visual check before use to ensure the lift is serviceable, never take things for granted.
For safety purposes, loading the lift is essentially a two man operation.
DO NOT exceed the maximum lifting capacity of 450kg (1000lbs)
UNDER NO CIRCUMSTANCES should you ride a motorcycle on to the lift, and on no account allow anyone to mount the motorcycle whilst it is on the table.
With the lift maneuvered to a suitable position which allows adequate working space, screw down the stabilizers in order to take the weight off the casters and to prevent any possible movement of the table whilst working.
With the wheel clamp wide open, lower the table to its lowest position and with one person either side of the motorcycle, position it on the table so that the front wheel rests up against the stop plate.
Wind in the moveable wheel clamp to secure the front wheel and tighten.
Secure the motorcycle with straps using the lashing eyes, one each side of the table.
Before raising the table, check to ensure the motorcycle is perfectly stable.
Ensuring there is nothing to obstruct the table, press the raising lever repeatedly, or use the air controller if fitted, and raise to an appropriate height to insert the safety bar.
NOTE: Two positions are provided into which the safety bar may be inserted, giving two working heights.
With the safety bar correctly inserted, lower the table using the lowering foot lever to ensure the full weight of the table is taken by the safety bar.
If the rear wheel is to be removed, ensure the motorcycle rests on its centre stand and is well lashed down. Alternatively, a ’Paddock Stand’ may be used to raise and secure the trailing axle. The cover of the opening, at the rear of the table, may be removed to facilitate the removal of the rear wheel.
WARNING: ENSURE THE FOLLOWING BEFORE COMMENCING WORK ON THE MOTORCYCLE:
- The safety bar is inserted and the table lowered so that the safety bar is taking the FULL weight of the table
- The motorcycle securely lashed.
- The stabilizers are screwed down to prevent the motorcycle lift from moving.
MAINTENANCE
- Periodically check that all joints and pivots are clean and moving freely.
- Lubricate all pivots and spindles with light oil using the oil holes provided.
- Check the action of the hydraulic ram and inspect for leaks. If leaks are apparent, do not use the lift but carry out or submit for repair before use.
- Visually inspect the lift for distortion of parts, cracked welds, damaged wheels or castors, oil leakage from the ram, or any other sign of damage.
Should any of these be found, do not use the lift. Always have it inspected and repaired by a qualified technician before putting back into use. If necessary, consult your Clarke dealer. - If the warning label becomes illegible have it replaced. Contact your Clarke dealer.
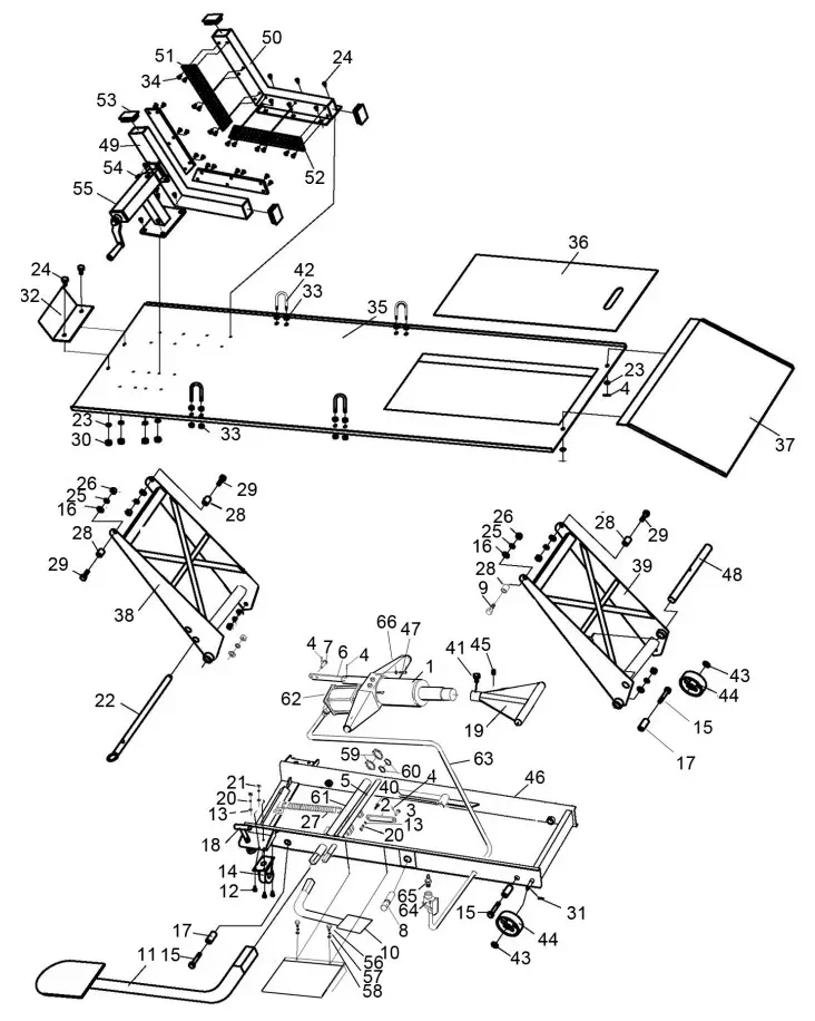
PARTS LIST CML3
| ITEM | DESCRIPTION | ITEM | DESCRIPTION |
| 1 | Hydraulic pump | 31 | Cotter pin |
| 2 | Release valve rod | 32 | Stop plate |
| 3 | Pin | 33 | Nut |
| 4 | R-pin | 34 | Screw |
| 5 | Release valve pin | 35 | Platform |
| 6 | Pump rod | 36 | Cover |
| 7 | Pin | 37 | Ramp |
| 8 | Pump location pin | 38 | Slave arm |
| 9 | Pin | 39 | Main arm |
| 10 | Foot pedal (release) | 40 | Screw |
| 11 | Foot pedal (lifting) | 41 | Bolt |
| 12 | Boll. | 42 | U-bolt |
| 13 | Washer | 43 | Washer |
| 14 | Castor | 44 | Steel wheel |
| 15 | Bolt | 45 | Screw |
| 16 | Washer | 46 | Bottom frame |
| 17 | Long sleeve | 47 | Set screw |
| 18 | Support | 48 | Hinge pin |
| 19 | Platform | 49 | Active shaft |
| 20 | Lock washer | 50 | Fixed shaft |
| 21 | Nut | 51 | Rubber pad 1 |
| 22 | Pin | 52 | Rubber pad 2 |
| 23 | Washer | 53 | Rubber plug |
| 24 | Bolt | 54 | Bolt |
| 25 | Lock washer | 55 | Winch assembly |
| 26 | Nut | 56 | Bolt |
| 27 | Spring | 57 | Lock washer |
| 28 | Short sleeve | 58 | Washer |
| 29 | Bolt | 59 | Plate |
| 30 | Nut |
Parts & Service: 020 8988 7400 / E-mail: [email protected] or [email protected]

| ITEM | DESCRIPTION | ITEM | DESCRIPTION |
| 1 | Hydraulic pump | 31 | Cotter pin |
| 2 | Release valve rod | 32 | Stop plate |
| 3 | Pin | 33 | Nut |
| 4 | R-pin | 34 | Screw |
| 5 | Release valve hinge pin | 35 | Platform |
| 6 | Pump rod | 36 | Cover panel |
| 7 | Pin | 37 | Ramp |
| 8 | Pump location pin | 38 | Slave arm |
| 9 | Bolt | 39 | Main arm |
| 10 | Foot pedal (release) | 40 | Screw |
| 11 | Foot pedal (lifting) | 41 | Bolt |
| 12 | Boll. | 42 | U-bolt |
| 13 | Washer | 43 | Washer |
| 14 | Castor | 44 | Steel wheel |
| 15 | Bolt | 45 | Grub Screw |
| 16 | Washer | 46 | Bottom frame |
| 17 | Long sleeve | 47 | Set screw |
| 18 | Support | 48 | Hinge pin |
| 19 | Pump headplate | 49 | Active Arm |
| 20 | Lock washer | 50 | Fixed Arm |
| 21 | Nut | 51 | Rubber pad 1 |
| 22 | Hinge Rod | 52 | Rubber pad 2 |
| 23 | Washer | 53 | Rubber plug |
| 24 | Bolt | 54 | Bolt |
| 25 | Lock washer | 55 | Winch assembly |
| 26 | Nut | 56 | Bolt |
| 27 | Spring | 57 | Lock washer |
| 28 | Short sleeve | 58 | Washer |
| 29 | Bolt | 59 | Circlip (large) |
| 30 | Nut | 60 | Circlip (small) |
CML3AIR

DECLARATION OF CONFORMITY

A SELECTION FROM THE VAST RANGE OF

PARTS & SERVICE: 0208 988 7400
Parts Enquiries: [email protected]
Servicing & Technical Enquiries [email protected]
SALES: UK 01992 565333 or Export 00 44 (0)1992 565335
Clarke INTERNATIONAL Hemnall Street, Epping, Essex CM16 4LG
www.clarkeinternational.com






If the above procedure does not cure the fault contact you local Clarke dealer.


















