HAMRON 601036 Motorcycle Lift

SAFETY INSTRUCTIONS
Read the operating instructions carefully before use!
Save these instructions for future reference.
- Read these instructions carefully before using the device.
- Do not allow children to play with or use the device.
- The device must only be used for its intended purpose.
- Unauthorised persons are not allowed in the work area.
- The user is responsible for ensuring that the instructions are followed.
- Children and animals must be kept away from the device during use.
- The device may only be used to lift motorcycles.
- The device must never be moved when loaded.
- No person or part of the body may be under the device or next to its moving parts.
- The device must never be loaded with more than 680 kg.
- Extensions or other tools must not be used.
- The device may only be used on a flat and horizontal surface that is dimensioned for the load in question.
- The load must always be in good balance. Follow the motorcycle manufacturer’s instructions regarding lifting points.
- Always fasten the motorcycle with straps designed to be secured in the intended eyes/holes.
- Check that all rating plates are legible.
TECHNICAL DATA
| Max. load | 680 kg |
| Lifting height | 140-420 mm |
| Operating temperature | -20-50 °C |
| Hydraulic oil | ISO VG 15 |
| Dimensions | 895 x 335 x 400 mm |
DESCRIPTION

- Swivel castors
- Brake
- Hex key
- Rod
- Platform
- Bleed screw
- Cylinder support
- Pedal
- Bolt
- Cylinder
- Pins
- Safety suppor
- Cylinder plate
- Filling hole with rubber nipple
- Eyes for retaining straps
- Support
- Retaining strap
- For connection of a pressure gauge
INSTALLATION
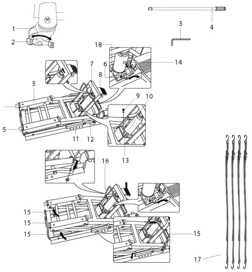
The lift comes partially assembled and must be completely assembled before use. Assemble the lift according to the instructions below. The positions in the instructions refer to the figure under Description.
- Insert the cylinder (10) through the centre of the cylinder support (7).
- Secure the cylinder plate (13) on the base of the lifting arm with bolt (9).
- Tighten all screws.
- Fit the ends of the support (16) through the holes in safety support (12) and fit and tighten the screws and nuts.
USE
The lift is designed to lift motorcycles for service and inspection.
Lifting
- Close the bleed screw.
- Place the lift under the motorcycle. Secure the rod in the eyes for the retaining straps to fine tune the lift.
- Apply the brakes.
- Fold down the safety supports. The supports are designed to secure the load by latching againstthe pins if the load should drop.
- Raise with the help of the pedal.
- Secure the motorcycle with retaining straps.
Retaining strap
The lift is equipped with 8 eyes/holes for securing the retaining straps.
- The retaining straps can be arranged as shown in figure A.
- To adjust the length, press down as shown in figure B.

Fasten the retaining straps and arrange attachment as shown in the figures below (figure C).
Lowering
Lower the load as follows:
- Raise up a little so that safety supports release from the pins and fold up the safety supports.
- Open the bleed screw slowly so that the load lowers gradually.
- Wait until the load has lowered completely.
- Secure the motorcycle, remove the retaining straps.
- Release the brakes and roll away the lift.
MAINTENANCE
The lift must only be repaired, if necessary, by qualified personnel.
Oil
Check the hydraulic oil level as follows:
- Check that the lift has been fully lowered and open the bleed screw (6).
- Remove the rubber nipple from the filling hole (14).
- The oil level must be approx. 6 mm below the edge of the hole.
- Top up the oil if necessary.
Bleeding
Bleed the hydraulic system as follows:
- Close the bleed screw (6).
- Pump up the lift to the maximum lift height using the pedal (8).
- Remove the rubber nipple (14) from the filling hole.
- Open the bleed screw slowly so that the lift lowers gradually.
Other information
- Used oil must be disposed of in compliance with applicable local regulations.
- Spilt oil must be cleaned up immediately and taken care of.
WARNING Spilt oil can cause serious accidents due to slipping resulting in physical injuries.
Lubrication
Lubricate all moving parts and joints with universal oil once a month.






















