FIAMMA 02096-29 Carry Bike Motor Lift 77 Instruction Manual
Package contents


Dimensions


Check that nothing has been damaged or deformed during transport.
In the event of doubts or questions concerning the installation, use or limitations of the product, contact the dealer. We recommend that the installation is carried out by qualifi ed personnel and in compliance with current local regulations
Installation instructions
Check that nothing has been damaged or deformed during transport.
In the event of doubts or questions concerning the installation, use or limitations of the product, contact the dealer. We recommend that the installation is carried out by qualifi ed personnel and in compliance with current local regulations.
Before installing the product, check the strongest points of vehicles’s wall, where you can fi x the brackets.






WARNING!
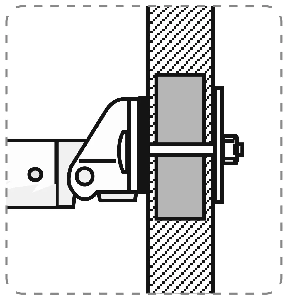
Do not fully tighten the fork to the tube, leave 2mm space.
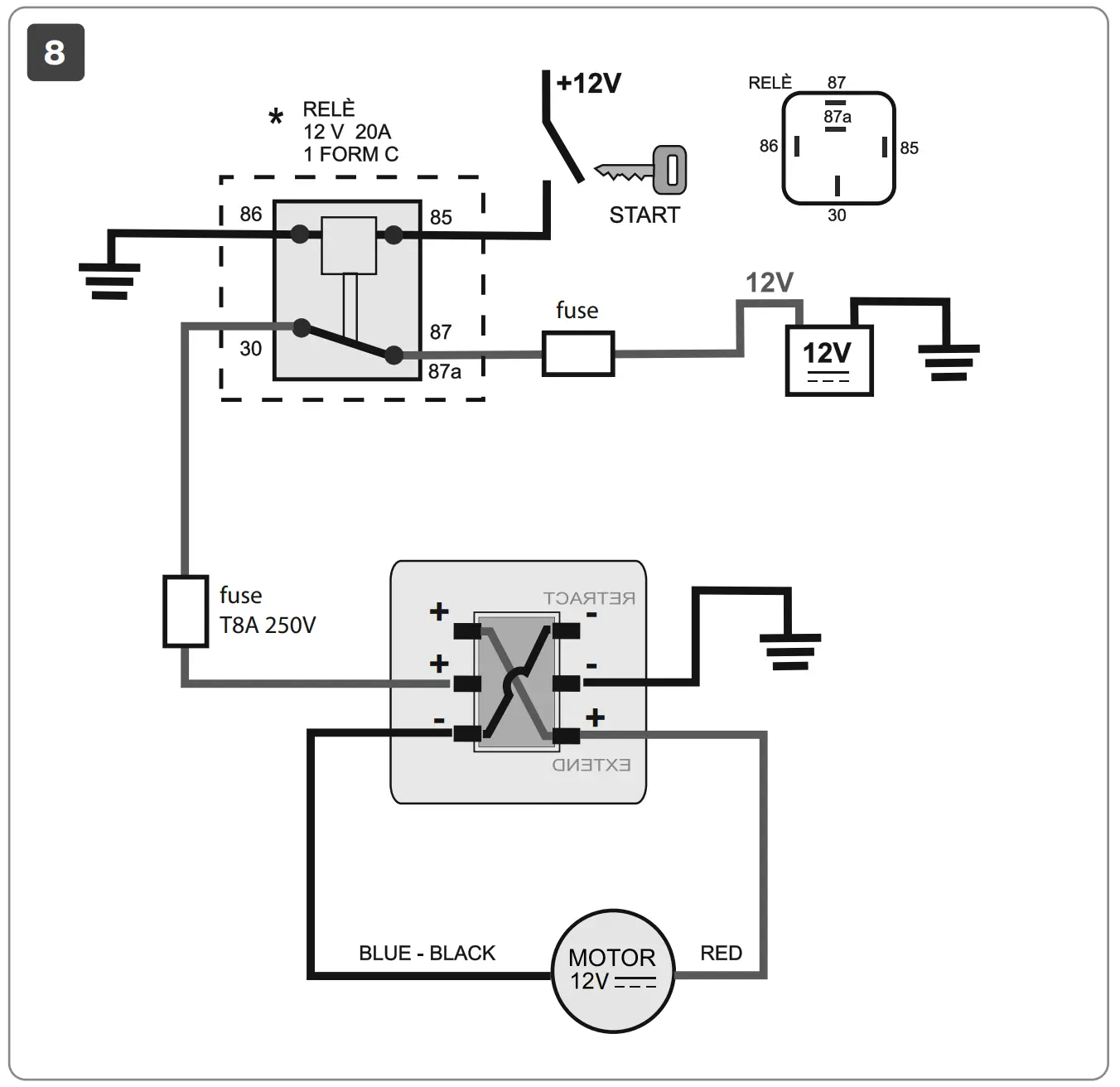
Supply connection 12V ![]()
This product works at 12V , never connect to a different voltage.
For safety reasons it is advisable to always disconnect the battery in the vehicle and therefore to work without current during installation.
Choose the safest and shortest installation route for the power cable. Reduce the length of the power cable as needed. Use only cable clamps suitable for the diameter of the power cable for the connection to the terminal box.
If incorrect terminals are used, this may cause a voltage drop and increase heat generation on the terminal.
The manufacturer shall not be held liable for claims for damages arising from the following:
- Faulty installation or connection of the product.
- Product damage caused by mechanical infl uences and overvoltage.
- Changes to the device without the express authorisation of the manufacturer.
For safety reasons we advice to make the electric connections as indicated on the diagram. When the ignition key is turned, the relay (*not supplied) cuts off the current to the electric motor, to avoid any accidental opening of the awning when the vehicle is moving.
The open-close button is already wired.
Once the electrical connections have been made, it is advisable to carry out a general function test by holding down the button for raising and lowering the rail support base, checking that the symbols on the button correspond.
If pressing the button does not trigger the movements, check the connection of all cables and contact service if necessary.
WARNING: the product is not equipped with an automatic stop system, so when the moving part of the structure is close to the fi xed structure during closing, the button must be released (to prevent the two structures from interfering).
During the closing movement, check that there are no elements (hands, objects, etc.) obstructing the movement.



Before leaving, hook always the two security straps.


In case of problems please contact your local dealer indicating the data on the nameplate. Consult our website for spare parts drawing.
Attention: keep the following labels and affix them to the Carry-Bike rails.
The motor is equipped as standard with a protection fuse which blows in the event of a problem, safeguarding the electrical system. Once the fuse blows, it must be replaced with an identical one (fuse T 8A 250V). Never use a different fuse and do not operate the product without a fuse. When replacing, act as shown in figures (1-2-3).



Read the following instructions and warnings carefully; failure to observe these installation and usage instructions as well as the laws for driving in the relevant country may cause severe harm or damage for which the manufacturer declines all responsibility. Before installation, ensure compatibility with the vehicle on which the product must be installed.
In the event of an accident involving the vehicle and/or the product, ensure that the product has not been damaged. In the event of damage, contact your local retailer before moving the vehicle. Fiamma declines every responsibility for any modification of the product that may cause damage and/or injury to things and people.
Checking that the wall/rear door is sufficiently solid and suitable for guaranteeing the resistance of the anchoring points is always mandatory. If not, strength and compliance with the maximum load indicated in the instructions are not guaranteed and it will be necessary to reinforce these points.
After having positioned the Carry-Bike on the rear axle of the vehicle, the normal weight distribution on both axles would be modified. This variation must not exceed the maximum permissible axle load.
Never exceed the maximum permitted length and the total weight of the full-load vehicle.
Make sure that loading occurs following a correct weight distribution; it must be uniformly distributed (the heaviest bike must be placed near the wall of the vehicle) to ensure better stability.
Always give warnings about the presence of the Carry-Bike on your vehicle, using a clearly signal for leaning loads and, in case of limited rear visibiliy, use the additional rear-view mirrors.
Take into account the presence of the Carry-Bike, paying attention during driving and expecially during reversing manoeuvres, particularly if you have parking assist system. Always comply with speed limits and the Highway Code.
The speed should always be suitable to traffic conditions and towed load. In case of use of the bike carrier with tow make sure that the tow hook is always accessible and the corner mobility of the tow is guaranteed (volume measuring din 74058).
Check periodically the bicycle rack to make sure it is fi rmly attached, especially during the fi rst kilometers of after long trips to avoid damages of the Carry-Bike/vehicle. Make sure the belts are not loose and that the holding brackets have not shifted. Replace worn components immediately.
It is advisable to remove the batteries from bicycles, before loading them on the Carry-Bike while traveling.
It is recommended to rotate the handlebars of bicycles to avoid damage to the vehicle wall, for which Fiamma declines all responsibility.
RAIL PREMIUM
Item No. 98656M131
RAIL PREMIUM XL
Item No. 98656M132
RAIL PLUS
Item No. 98656M566
RAIL PREMIUM S
Item No. 98656M133
RAIL PREMIUM S FAT BIKE
Item No. 98656M146
RAIL PLUS
Item No. 98656M566
RAIL PLUS XL
Item No. 98656M588
BIKE-BLOCK PRO
BIKE-BLOCK PRO S D
BIKE FRAME ADAPTER
Item No. 06602-01-
BIKE-BLOCK PRO D
CABLE-LOCK
Item No. 98656-338
PLASTIC SIGNAL
Item No. 98782-005
ALU SIGNAL
Item No. 98782-010
BIKE COVER S
Item No. 04502E01
BIKE COVER S
Item No. 04502F01
BIKE COVER PREMIUM S
Item No. 04502G01
Warranty Fiamma
In case of defects with regards to materials and manufacturing, the customer is entitled to the warranty in accordance with local laws and regulations of the country in which the product was purchased.

Support
Fiamma S.p.A. – Italy
Via San Rocco, 56
21010 Cardano al Campo (VA)
Fiamma.com
All rights reserved.
Fiamma S.p.A.
reserves the right to modify at any time, without notice, prices, materials, specifications and models or to cease production of any model.


















