FIAMMA 02093B87A Motorhome Bicycles Carrier

Bicycles Carrier Product Information
The Bicycles Carrier is a product designed for motorhomes and vehicles with a strong wall to hold the brackets. The package content includes various parts and screws for installation.
- Weight: 5.6 kg
- Capacity: 3 bikes, maximum weight 50 kg
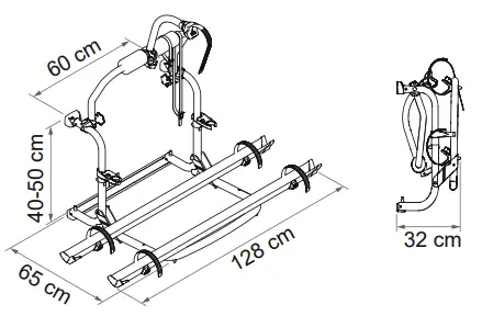
- Dimensions: 128 cm x 60 cm x 32 cm
Package contents


Installation instructions
Check that nothing has been damaged or deformed during transport.
In the event of doubts or questions concerning the installation, use or limitations of the product, contact the dealer. We recommend that the installation is carried out by qualifi ed personnel and in compliance with current local regulations.
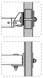
Before installing the product, check the strongest points of vehicles’s wall, where you can fi x the brackets.




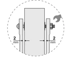
WARNING: Do not fully tighten the fork to the tube, leave 2mm space.


Instructions for use
In case of problems please contact your local dealer indicating the data on the nameplate. Consult our website for spare parts drawing.

Safety instructions
Read the following instructions and warnings carefully; failure to observe these installation and usage instructions as well as the laws for driving in the relevant country may cause severe harm or damage for which the manufacturer declines all responsibility. Before installation, ensure compatibility with the vehicle on which the product must be installed.
In the event of an accident involving the vehicle and/or the product, ensure that the product has not been damaged. In the event of damage, contact your local retailer before moving the vehicle.
Fiamma declines every responsibility for any modifi cation of the product that may cause damage and/or injury to things and people.
Checking that the wall/rear door is suffi ciently solid and suitable for guaranteeing the resistance of the anchoring points is always mandatory. If not, strength and compliance with the maximum load indicated in the instructions are not guaranteed and it will be necessary to reinforce these points.
- After having positioned the Carry-Bike on the rear axle of the vehicle, the normal weight distribution on both axles would be modifi ed. This variation must not exceed the maximum permissible axle load.
- Never exceed the maximum permitted length and the total weight of the full-load vehicle.
- Make sure that loading occurs following a correct weight distribution; it must be uniformly distributed (the heaviest bike must be placed near the wall of the vehicle) to ensure better stability.
- Always give warnings about the presence of the Carry-Bike on your vehicle, using a clearly signal for leaning loads and, in case of limited rear visibiliy, use the additional rear-view mirrors.
- Take into account the presence of the Carry-Bike, paying attention during driving and expecially during reversing manoeuvres, particularly if you have parking assist system. Always comply with speed limits and the Highway Code. The speed should always be suitable to traffi c conditions and towed load. In case of use of the bike carrier with tow make sure that the tow hook is always accessible and the corner mobility of the tow is guaranteed (volume measuring din 74058).
- Check periodically the bicycle rack to make sure it is fi rmly attached, especially during the fi rst kilometers of after long trips to avoid damages of the Carry-Bike/vehicle. Make sure the belts are not loose and that the holding brackets have not shifted. Replace worn components immediately.
- It is recommended to rotate the handlebars of bicycles to avoid damage to the vehicle wall, for which Fiamma declines all responsibility.
Accessories
- RAIL PREMIUM
Item No. 98656M131 - RAIL PREMIUM XL
Item No. 98656M132 - RAIL PREMIUM S
Item No. 98656M133 - RAIL PREMIUM S FAT BIKE
Item No. 98656M146 - RAIL QUICK PRO
Item No. 98656-993

Warranty Fiamma
In case of defects with regards to materials and manufacturing, the customer is entitled to the warranty in accordance with local laws and regulations of the country in which the product was purchased.
QR SCAN

All rights reserved.
Fiamma S.p.A. reserves the right to modify at any time, without notice, prices, materials, specifi cations and models or to cease production of any model.


















