FIAMMA Carry-Bike Pro C Bicycles Carrier

Bicycle Carrier Installation and Usage Instructions
The Carry-Bike Pro C / Pro C N 02096-10- / 02096-10V is a bicycle carrier designed for motorhomes. It can hold up to 4 standard bikes or 2 E-bikes, with a maximum weight of 60kg. The package contents include all necessary hardware and instructions in English, German, French, Spanish, and Italian.
Installation Instructions
Before installation, check that the vehicle wall has strong points where the brackets can be fixed. We recommend that the installation is carried out by qualified personnel and in compliance with current local regulations.
- Cut the tubes (A) according to the desired vertical spacing.
- Fit the (pre-cut) upper cover to the Carry Bike fixing claw.
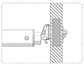
- Attach the fork to the tube and leave 2mm of space.
- Attach the bike rack to the vehicle wall using the provided hardware.
Usage Instructions
Place the bikes onto the rack and secure them using the provided straps. Be sure to distribute the weight evenly across the rack. In case of problems, please contact your local dealer indicating the data on the nameplate. Consult our website for spare parts drawing.
Safety Warnings
Check that nothing has been damaged or deformed during transport. In case of doubts or questions concerning the installation, use or limitations of the product, contact the dealer. Do not fully tighten the fork to the tube, leave 2mm space.
CARRY-BIKE



Check that nothing has been damaged or deformed during transport.
In the event of doubts or questions concerning the installation, use or limitations of the product, contact the dealer. We recommend that the installation is carried out by qualified personnel and in compliance with current local regulations.
Before installing the product, check the strongest points of vehicles’s wall, where you can fi x the brackets.




Cut the tubes (A) according to the desired vertical spacing.



WARNING! Do not fully tighten the fork to the tube, leave 2mm space.


Fit the (pre-cut) upper cover to the Carry Bike fi xing claw.



In case of problems please contact your local dealer indicating the data on the nameplate. Consult our website for spare parts drawing.
Attention: keep the following labels and affiix them to the Carry-Bike rails.



Read the following instructions and warnings carefully; failure to observe these installation and usage instructions as well as the laws for driving in the relevant country may cause severe harm or damage for which the manufacturer declines all responsibility. Before installation, ensure compatibility with the vehicle on which the product must be installed.
In the event of an accident involving the vehicle and/or the product, ensure that the product has not been damaged. In the event of damage, contact your local retailer before moving the vehicle.
Fiamma declines every responsibility for any modification of the product that may cause damage and/or injury to things and people.
Checking that the wall/rear door is sufficiently solid and suitable for guaranteeing the resistance of the anchoring points is always mandatory. If not, strength and compliance with the maximum load indicated in the instructions are not guaranteed and it will be necessary to reinforce these points.
After having positioned the Carry-Bike on the rear axle of the vehicle, the normal weight distribution on both axles would be modified. This variation must not exceed the maximum permissible axle load.
Never exceed the maximum permitted length and the total weight of the full-load vehicle.
Make sure that loading occurs following a correct weight distribution; it must be uniformly distributed (the heaviest bike must be placed near the wall of the vehicle) to ensure better stability.
Always give warnings about the presence of the Carry-Bike on your vehicle, using a clearly signal for leaning loads and, in case of limited rear visibility, use the additional rear-view mirrors.
Take into account the presence of the Carry-Bike, paying attention during driving and especially during reversing maneuvers, particularly if you have parking assist system. Always comply with speed limits and the Highway Code. The speed should always be suitable to traffic conditions and towed load. In case of use of the bike carrier with tow make sure that the tow hook is always accessible and the corner mobility of the tow is guaranteed (volume measuring din 74058).
Check periodically the bicycle rack to make sure it is firmly attached, especially during the first kilometers of after long trips to avoid damages of the Carry-Bike/vehicle. Make sure the belts are not loose and that the holding brackets have not shifted. Replace worn components immediately.

Warranty Fiamma. In case of defects with regards to materials and manufacturing, the customer is entitled to the warranty in accordance with local laws and regulations of the country in which the product was purchased.

Fiamma S.p.A. – Italy
Via San Rocco, 56
21010 Cardano al Campo (VA)
All rights reserved.
Fiamma S.p.A.
reserves the right to modify at any time, without notice, prices, materials, specifications and models or to cease production of any model.



















